| |
 |
|
 |
Вернуться к выбору узлов мотора
ДЕТАЛИРОВКА ДЛЯ МОДЕЛИ: SUZUKI DT9.9KL K9
Опции : Переключающая тяга
Год выпуска двигателя: 2009
Цвет: Shadow Black Metallic
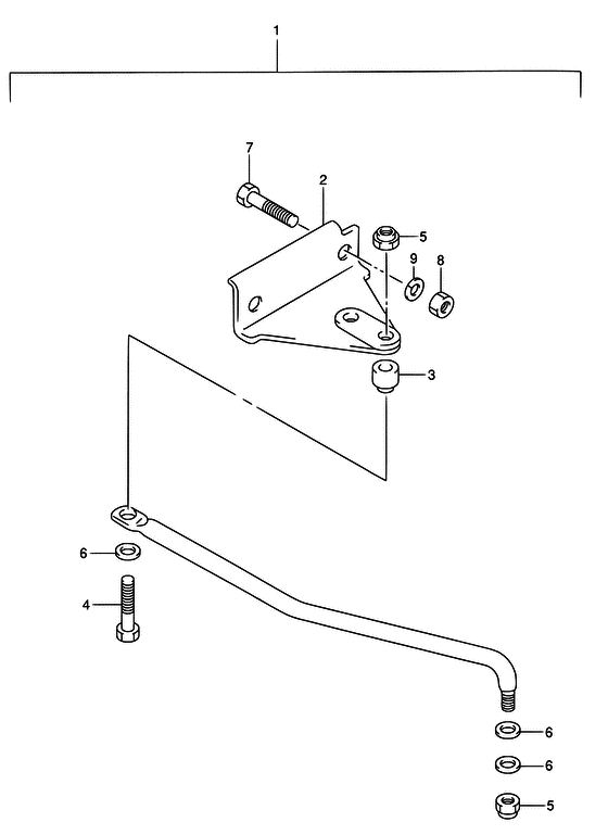
Номер на рисунке | Артикул | Наименование | QTY | Кол-во на складе | Цена |
| 1 | 67701-89E10-000 | Рулевая тяга в сборе - Link Assy, Drag (<-67701-89E00 ) (Link Assy, Drag) | | 1 шт | 16520 руб. |
| 2 | 43755-96320-000 | Соединитель кронштейна рулевой системы - Attachment, Steering Bracket (<-43755-96310 ) (Attachment, Steering Bracket) | | 2 шт | 15510 руб. |
| 3 | 67721-93E00-000 | Проставка переключающей тяги (l: 13) - Spacer, Drag Link (l:13) (Spacer, drag link ) (Spacer, Drag Link (l:13)) | | под заказ | 1110 руб. |
| 3 | 67721-99E10-000 | Проставка переключающей тяги (l: 14.5) - Spacer, Drag Link (l:145) (Spacer, drag link ) (Spacer, Drag Link (l:14.5)) | | под заказ | 0 руб. |
| 4 | 67725-99E10-000 | Болт - Bolt (Bolt) | | под заказ | 1200 руб. |
| 4 | 67725-99E20-000 | (актуальный код замены) Болт переключающей тяги - Bolt, Drag Link | | под заказ | 1200 руб. |
| 5 | 67726-99E00-000 | Блокирующая гайка - Nut, Lock (Nut, Lock) | | 3 шт | 800 руб. |
| 6 | 67728-99E00-000 | Шайба - Washer (Washer) | | 2 шт | 260 руб. |
| 7 | 29101-93J00-000 | Болт - Bolt (Bolt (8x35) ) (Bolt) | | под заказ | 650 руб. |
| 7 | 09100-08309-000 | (актуальный код замены) Болт (8x35) - Bolt (8x35) | | под заказ | 650 руб. |
| 8 | 09140-08023-XC0 | Гайка - Nut (<-09140-08016 ) (Nut) | | 14 шт | 190 руб. |
| 9 | 29162-93J10-000 | Шайба (8.2x21.5x3) - Washer (82x215x3) (Lock washer (8.2x15.4x2.0) ) (Washer (8.2x21.5x3)) | | 4 шт | 130 руб. |
Время выполнения запроса 0.52874302864075 сек. |
|