| |
 |
|
 |
Вернуться к выбору узлов мотора
ДЕТАЛИРОВКА ДЛЯ МОДЕЛИ: SUZUKI DT15 FROM 01503K-310001~
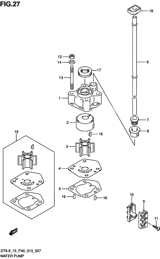
Водяной насос
Год выпуска двигателя: 2013
Регион: General Export No.1 ,Код региона: P01
Цвет: Shadow Black Metallic
Номер на рисунке | Артикул | Наименование | QTY | Кол-во на складе | Цена |
| 1 | 17411-94J00-000 | Корпус водяного насоса - Case, Water Pump (Case, Water Pump) | | 31 шт | 1900 руб. |
| 2 | 17413-94J10-000 | Рукав корпуса водяной помпы - Sleeve, Water Pump Case (Sleeve, Water Pump Case) | | 31 шт | 3710 руб. |
| 3 | 17461-939M0-000 | Крыльчатка водяного насоса - Impeller, Water Pump (Impeller, Water Pump) | | 40 шт | 2600 руб. |
| 3 | SC-WT114 | (не оригинальный аналог) Крыльчатка помпы охлаждения двигателя Suzuki SC-WT114 | | под заказ | 950 руб. |
| 4 | 17471-99J10-000 | Панель в нижней части корпуса помпы - Panel, Pump Case Under (Panel, Pump Case Under) | | 1 шт | 3600 руб. |
| 4 | 17471-99J30-000 | (актуальный код замены) Панель в нижней части корпуса помпы - Panel, Pump Case Under | | под заказ | 3600 руб. |
| 5 | 17472-90L00-000 | Прокладка панели корпуса помпы (na) - Gasket, Pump Case Panel (na) (Gasket, Pump Case Panel (na)) | | под заказ | 450 руб. |
| 6 | 17561-90L00-000 | Водяная трубка (l) - Tube, Water (l) (W/TRANSOM (L) ) (Tube, Water (l)) | | под заказ | 2020 руб. |
| 6 | 17561-90L10-000 | Водяная трубка (s) - Tube, Water (s) (W/TRANSOM (S) ) (Tube, Water (s)) | | 1 шт | 1490 руб. |
| 7 | 17563-94J00-000 | Пыльник водяной трубки - Grommet, Water Tube (Grommet, Water Tube) | | 6 шт | 140 руб. |
| 8 | 17564-93900-000 | Втулка корпуса водяной помпы - Bush, Water Pump Case (Bush, water pump case ) (Bush, Water Pump Case) | | под заказ | 290 руб. |
| 8 | 17564-93901-000 | (актуальный код замены) Втулка корпуса водяной помпы - Bush, Water Pump Case | | под заказ | 370 руб. |
| 9 | 17631-99J20-000 | Водяной фильтр с левой стороны - Filter, Water Port Side (Filter, Water Port Side) | | 9 шт | 480 руб. |
| 10 | 17632-99J30-000 | Водяной фильтр с правой стороны - Filter, Water Stbd Side (Filter, Water Stbd Side) | | 9 шт | 540 руб. |
| 11 | 03141-0416A-000 | Винт - Screw (Screw) | | 3 шт | 250 руб. |
| 12 | 29141-93J00-000 | Гайка - Nut (Nut) | | 18 шт | 480 руб. |
| 13 | 09108-06141-000 | Болт под шпильку - Bolt, Stud (Bolt, Stud) | | 16 шт | 330 руб. |
| 14 | 09160-06082-000 | Шайба (6.5x13x1.0) - Washer (65x13x10) (Washer (6.5x13x1.0)) | | 6 шт | 150 руб. |
| 15 | 09420-03005-000 | Ключ - Key (Key) | | под заказ | 400 руб. |
| 15 | 09420-03009-000 | (актуальный код замены) Ключ - Key | | 14 шт | 400 руб. |
| 15 | SC-WT224 | (не оригинальный аналог) Шпонка крыльчатки Suzuki SC-WT224 | | под заказ | 470 руб. |
| 15 | 09420-03009-000 | Ключ - Key (Key) | | 14 шт | 400 руб. |
| 16 | 09202-04008-000 | Штифт (4x9) - Pin (4x9) (Pin, knock ) (Pin (4x9)) | | 4 шт | 150 руб. |
| 17 | 17417-93910-000 | Пыльник корпуса помпы - Grommet, Pump Case (Grommet, Pump Case) | | под заказ | 350 руб. |
| 17 | 17417-93911-000 | (актуальный код замены) Пыльник корпуса помпы - Grommet, Pump Case | | 25 шт | 350 руб. |
| 18 | 17563-93900-000 | Верхний пыльник водяной трубки - Grommet, Water Tube Upr (Rubber, water tube, upper ) (Grommet, Water Tube Upr) | | 5 шт | 290 руб. |
| 18 | 17563-93901-000 | (актуальный код замены) Верхний пыльник водяной трубки - Grommet, Water Tube Upr | | 7 шт | 290 руб. |
| 19 | 17400-90L00-000 | Ремкомплект водяного насоса - Kit, Water Pump Repair (OPT) (Kit, Water Pump Repair) | | под заказ | 0 руб. |
| 19 | 17400-90L01-000 | (актуальный код замены) Запчасть снята с производства - The Spare Part Is Laid Off | | под заказ | 3500 руб. |
| 19 | 17400-90L01-000 | Ремкомплект водяного насоса - Kit, Water Pump Repair (Kit, Water Pump Repair) | | под заказ | 3500 руб. |
Время выполнения запроса 8.5466759204865 сек. |
|