Купить комплектующие на лодочный мотор SUZUKI модель 2013 года - Drive shaft housing - Корпус вала передачи
вконтакте

Контактный телефон: +7 (981) 121-46-93, +7 (800) 200-90-76 , Email: parts-katalog@yandex.ru, где купить

 
 

  Логин:

Пароль:

Регистрация

www.partskatalog.ru Все каталоги Запчасти Mercury Запчасти Suzuki Запчасти Tohatsu Запчасти Honda Контакты

назад Раздел:   вперёд

Вернуться к выбору узлов мотора


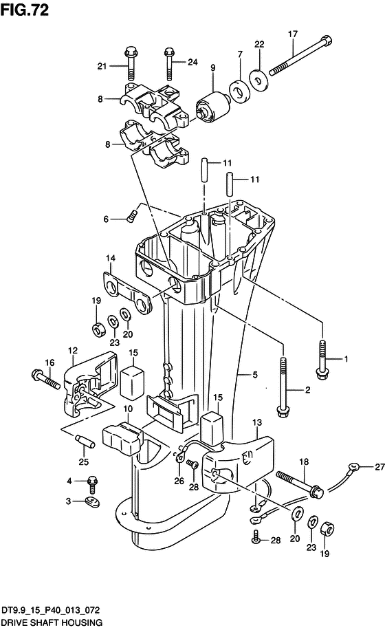
ДЕТАЛИРОВКА ДЛЯ МОДЕЛИ: SUZUKI DT15 FROM 01503K-310001~

Корпус вала передачи


Год выпуска двигателя: 2013

Регион: General Export No.1 ,Код региона: P01

Цвет: Shadow Black Metallic

Номер на
рисунке
АртикулНаименованиеQTYКол-во
на складе
Цена
109118-08168-000

Болт (8x50) - Bolt (8x50) (Bolt (8x50))

под заказ440 руб.
209118-08172-000

Болт (8x85) - Bolt (8x85) (Bolt (8x85))

под заказ570 руб.
355321-90L00-000

Zinc, Protection - Zinc, Protection (Zinc, Protection)

под заказ540 руб.
409116-06225-000

Болт (6x15) - Bolt (6x15) (Bolt (6x15))

4 шт250 руб.
552111-90L20-0EP

Корпус вала передачи (s) - Housing, Drive Shaft (s) (TRANSOM (S) ) (Housing, Drive Shaft (s))

2 шт40800 руб.
552111-90L30-0EP

Корпус вала передачи (l / ul) (w) - Housing, Drive Shaft (l/ul) (w) (TRANSOM (L) ) (Housing, Drive Shaft (l/ul) (w))

под заказ27840 руб.
652117-94400-000

Трубка контрольной струи - Tube, Water Inspection (Tube, Water Inspection)

под заказ330 руб.
754121-92D00-000

Стопор, вышеr Thrust - Stopper, Upr Thrust (Cushion, upper mount ) (Stopper, Upr Thrust)

под заказ420 руб.
854137-90L00-000

Крышка, вышеr Крепление - Cover, Upr Mount (Cover, Upr Mount)

под заказ2000 руб.
954130-90L00-000

Крепление, вышеr - Mount, Upr (Mount, Upr)

под заказ3340 руб.
954130-93901-000

   (актуальный код замены) Крепление, вышеr - Mount, Upr

под заказ3340 руб.
954130-93901-000

Крепление, вышеr - Mount, Upr (Mount, Upr)

под заказ3340 руб.
1054151-90L00-000

Крепление нижнего упора - Mount, Lwr Thrust (Mount, Lwr Thrust)

под заказ1110 руб.
1054151-93900-000

   (актуальный код замены) Крепление нижнего упора - Mount, Lwr Thrust

2 шт980 руб.
1054151-93900-000

Крепление нижнего упора - Mount, Lwr Thrust (Mount, lower thrust ) (Mount, Lwr Thrust)

2 шт980 руб.
1109202-06019-000

Штифт (6x35) - Pin (6x35) (Shear pin (6x35) (sus) ) (Pin (6x35))

под заказ170 руб.
1254211-90L00-0EP

Крышка, Lwr Крепление Stbd - Cover, Lwr Mount Stbd (Cover, Lwr Mount Stbd)

под заказ7300 руб.
1254211-90L10-0EP

   (актуальный код замены) Крышка нижней опоры Stbd - Cover, Lower Mount Stbd

под заказ7300 руб.
1354221-90L00-0EP

Крышка, Lwr Крепление Port - Cover, Lwr Mount Port (Cover, Lwr Mount Port)

под заказ7780 руб.
1354221-90L10-0EP

   (актуальный код замены) Крышка нижней опоры - Cover, Lower Mount

под заказ7780 руб.
1454125-90L00-000

Крепление верхнего упора Reverse - Mount, Upr Thrust Reverse (Mount, Upr Thrust Reverse)

под заказ810 руб.
1454125-93901-000

   (актуальный код замены) Крепление верхнего упора Reverse - Mount, Upr Thrust Reverse

под заказ810 руб.
1454125-93901-000

Крепление верхнего упора Reverse - Mount, Upr Thrust Reverse (Mount, upper thrust reverse ) (Mount, Upr Thrust Reverse)

под заказ810 руб.
1554167-90L00-000

Крепление, Lwr Side - Mount, Lwr Side (Mount, Lwr Side)

под заказ960 руб.
1554167-93900-000

   (актуальный код замены) Крепление, Lwr Side - Mount, Lwr Side

под заказ960 руб.
1554167-93900-000

Крепление, Lwr Side - Mount, Lwr Side (Mount, lower side ) (Mount, Lwr Side)

под заказ960 руб.
1609116-08154-000

Болт (8x40) - Bolt (8x40) (Bolt (8x40))

6 шт470 руб.
1709100-08310-000

Болт (8x90) - Bolt (8x90) (Bolt (8x90))

под заказ420 руб.
1809118-08170-000

Болт (8x70) - Bolt (8x70) (Bolt (8x70))

под заказ540 руб.
1909140-08023-XC0

Гайка - Nut (Nut)

14 шт190 руб.
2009160-08082-000

Шайба (8.5x16x1.2) - Washer (85x16x12) (Washer (8.5x16x1.2))

13 шт120 руб.
2109116-08155-000

Болт (8x45) - Bolt (8x45) (Bolt (8x45))

под заказ440 руб.
2209160-08084-000

Шайба (8x30x2.5) - Washer (8x30x25) (Stopper ) (Washer (8x30x2.5))

под заказ240 руб.
2329162-93J10-000

Шайба (8.2x21.5x3) - Washer (82x215x3) (Lock washer (8.2x15.4x2.0) ) (Washer (8.2x21.5x3))

4 шт130 руб.
2409116-06235-000

Болт (6x45) - Bolt (6x45) (Bolt (6x45))

под заказ270 руб.
2554213-93901-000

Штифт, Lwr Крепление Крышка Knock - Pin, Lwr Mount Cover Knock (Pin, Lwr Mount Cover Knock)

1 шт760 руб.
2636894-95201-000

Lead (l: 165) - Lead (l:165) (Lead (l:165))

под заказ1170 руб.
2736894-87DL0-000

Lead (l: 165) - Lead (l:165) (Lead (l:165))

под заказ1180 руб.
2736894-87D00-000

   (актуальный код замены) Lead (l: 165) - Lead (l:165)

2 шт1350 руб.
2736894-87D00-000

Lead (l: 165) - Lead (l:165) (Lead (l:165))

2 шт1350 руб.
2829125-93J10-000

Винт - Screw (Screw (5x8) ) (Screw)

под заказ150 руб.
2809125-05050-000

   (актуальный код замены) Винт (5x8) - Screw (5x8)

под заказ150 руб.


Время выполнения запроса 1.6442251205444 сек.

 
 

данный сайт носит информационный характер и не является публичной офертой

склад запчастей для водомоторной техники