Подобрать запчасти на лодочный мотор SUZUKI модель года - Water pump
вконтакте

Контактный телефон: +7 (981) 121-46-93, +7 (800) 200-90-76 , Email: parts-katalog@yandex.ru, где купить

 
 

  Логин:

Пароль:

Регистрация

www.partskatalog.ru Все каталоги Запчасти Mercury Запчасти Suzuki Запчасти Tohatsu Запчасти Honda Контакты



УВАЖАЕМЫЕ КЛИЕНТЫ!
C 19 ДЕКАБРЯ 2025 ПО 02 МАРТА 2026 ГОДА ОТДЕЛ ЗАПЧАСТЕЙ И СЕРВИС РАБОТАТЬ НЕ БУДУТ
ПРОДАЖА ЛОДОЧНЫХ МОТОРОВ В ШТАТНОМ РЕЖИМЕ
ОБ ИЗМЕНЕНИЯХ В ГРАФИКЕ РАБОТЫ ЧИТАЙТЕ НА САЙТА



назад Раздел:   вперёд

Вернуться к выбору узлов мотора


ДЕТАЛИРОВКА ДЛЯ МОДЕЛИ: SUZUKI DT15 FROM 01503K-410001~

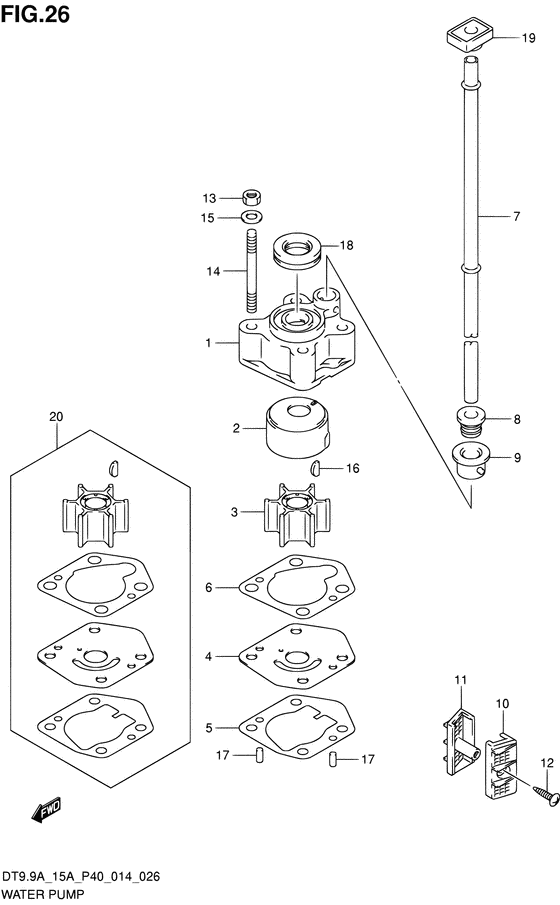
Водяной насос


Номер на
рисунке
АртикулНаименованиеQTYКол-во
на складе
Цена
117411-94J00-000

Корпус водяного насоса - Case, Water Pump (Case, Water Pump)

32 шт1900 руб.
217413-94J10-000

Рукав корпуса водяной помпы - Sleeve, Water Pump Case (Sleeve, Water Pump Case)

32 шт3710 руб.
317461-939M0-000

Крыльчатка водяного насоса - Impeller, Water Pump (Impeller, Water Pump)

38 шт2600 руб.
3SC-WT114

   (не оригинальный аналог) Крыльчатка помпы охлаждения двигателя Suzuki SC-WT114

под заказ950 руб.
417471-99J10-000

Панель в нижней части корпуса помпы - Panel, Pump Case Under (Panel, Pump Case Under)

1 шт3600 руб.
417471-99J30-000

   (актуальный код замены) Панель в нижней части корпуса помпы - Panel, Pump Case Under

под заказ3600 руб.
517472-90L00-000

Прокладка панели корпуса помпы (na) - Gasket, Pump Case Panel (na) (Gasket, Pump Case Panel (na))

под заказ450 руб.
617473-94J00-000

Прокладка корпуса водяной помпы - Gasket, Water Pump Case (Gasket, Water Pump Case)

34 шт240 руб.
6SM-17473-94J00-000

   (не оригинальный аналог) Прокладка SM-17473-94J00-000 корпуса водяной помпы

под заказ90 руб.
6SM-17473-94J00-000

  (аналог) Прокладка SM-17473-94J00-000 корпуса водяной помпы - код 17473-94J00-000

 под заказ шт90 руб.
717561-90L00-000

Водяная трубка (l) - Tube, Water (l) (W/TRANSOM (L) ) (Tube, Water (l))

под заказ2020 руб.
717561-90L10-000

Водяная трубка (s) - Tube, Water (s) (W/TRANSOM (S) ) (Tube, Water (s))

1 шт1490 руб.
817563-94J00-000

Пыльник водяной трубки - Grommet, Water Tube (Grommet, Water Tube)

7 шт140 руб.
917564-93900-000

Втулка корпуса водяной помпы - Bush, Water Pump Case (Bush, water pump case ) (Bush, Water Pump Case)

под заказ290 руб.
917564-93901-000

   (актуальный код замены) Втулка корпуса водяной помпы - Bush, Water Pump Case

3 шт370 руб.
1017631-99J20-000

Водяной фильтр с левой стороны - Filter, Water Port Side (Filter, Water Port Side)

9 шт480 руб.
1117632-99J30-000

Водяной фильтр с правой стороны - Filter, Water Stbd Side (Filter, Water Stbd Side)

9 шт540 руб.
1203141-0416A-000

Винт - Screw (Screw)

3 шт250 руб.
1329141-93J00-000

Гайка - Nut (Nut)

18 шт480 руб.
1409108-06141-000

Болт под шпильку - Bolt, Stud (Bolt, Stud)

16 шт330 руб.
1509160-06082-000

Шайба (6.5x13x1.0) - Washer (65x13x10) (Washer (6.5x13x1.0))

7 шт150 руб.
1609420-03009-000

Ключ - Key (Key)

14 шт400 руб.
16SC-WT224

   (не оригинальный аналог) Шпонка крыльчатки Suzuki SC-WT224

под заказ470 руб.
1709202-04008-000

Штифт (4x9) - Pin (4x9) (Pin, knock ) (Pin (4x9))

4 шт150 руб.
1817417-93910-000

Пыльник корпуса помпы - Grommet, Pump Case (Grommet, Pump Case)

под заказ350 руб.
1817417-93911-000

   (актуальный код замены) Пыльник корпуса помпы - Grommet, Pump Case

29 шт350 руб.
1917563-93900-000

Верхний пыльник водяной трубки - Grommet, Water Tube Upr (Rubber, water tube, upper ) (Grommet, Water Tube Upr)

5 шт290 руб.
1917563-93901-000

   (актуальный код замены) Верхний пыльник водяной трубки - Grommet, Water Tube Upr

7 шт290 руб.
2017400-90L01-000

Ремкомплект водяного насоса - Kit, Water Pump Repair (OPT ) (Kit, Water Pump Repair)

под заказ3500 руб.


Время выполнения запроса 7.3264670372009 сек.

 
 

данный сайт носит информационный характер и не является публичной офертой

склад запчастей для водомоторной техники