Оригинальные запчасти на подвесной двигатель Suzuki - Карбюратор / Carburetor
вконтакте

Контактный телефон: +7 (981) 121-46-93, +7 (800) 200-90-76 , Email: parts-katalog@yandex.ru, где купить

 
 

  Логин:

Пароль:

Регистрация

www.partskatalog.ru Все каталоги Запчасти Mercury Запчасти Suzuki Запчасти Tohatsu Запчасти Honda Контакты



УВАЖАЕМЫЕ КЛИЕНТЫ!
C 19 ДЕКАБРЯ 2025 ПО 02 МАРТА 2026 ГОДА ОТДЕЛ ЗАПЧАСТЕЙ И СЕРВИС РАБОТАТЬ НЕ БУДУТ
ПРОДАЖА ЛОДОЧНЫХ МОТОРОВ В ШТАТНОМ РЕЖИМЕ
ОБ ИЗМЕНЕНИЯХ В ГРАФИКЕ РАБОТЫ ЧИТАЙТЕ НА САЙТА



назад Раздел:   вперёд

Вернуться к выбору узлов мотора


ДЕТАЛИРОВКА ДЛЯ МОДЕЛИ: SUZUKI DT15 FROM 01504-410001~

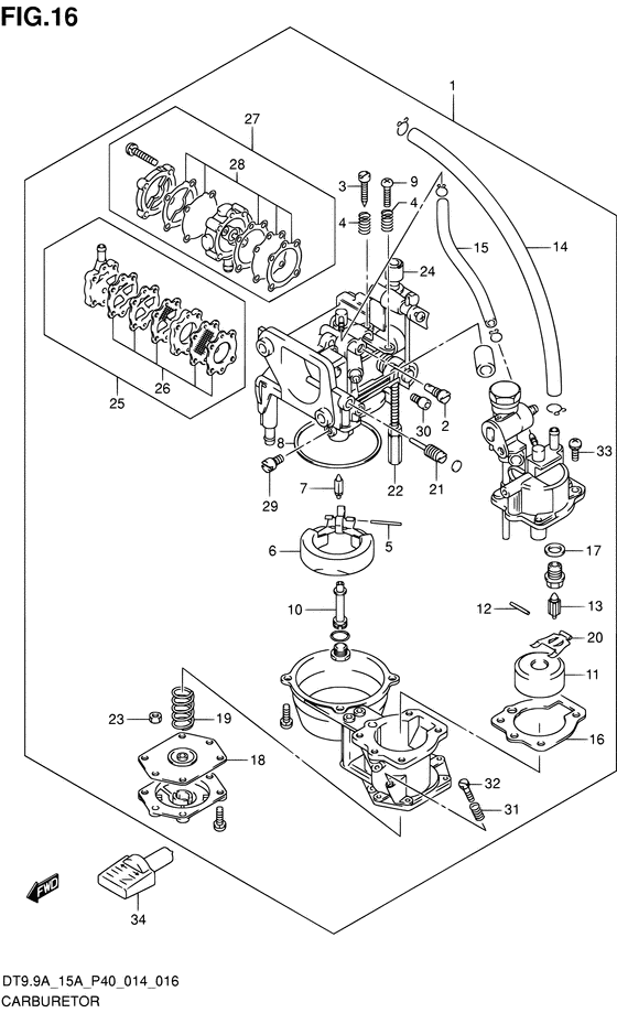
Карбюратор


Номер на
рисунке
АртикулНаименованиеQTYКол-во
на складе
Цена
113200-939C1-000

Карбюратор в сборе - Carburetor Assy (Carburetor Assy)

под заказ70080 руб.
209492-50008-000

Контрольная форсунка (50) - Jet, Pilot (50) (Jet, pilot (#50) ) (Jet, Pilot (50))

под заказ730 руб.
313661-93900-000

Винт - Screw (Screw)

под заказ620 руб.
413268-96111-000

Пружина, Дроссель Винт - Spring, Throttle Screw (Spring, throttle screw ) (Spring, Throttle Screw)

под заказ350 руб.
513254-98100-000

Стопор поплавка - Pin, Float (Pin, float ) (Pin, Float)

под заказ280 руб.
613250-98110-000

Поплавок - Float (Float)

под заказ1800 руб.
713371-98100-000

иголка в сборе - Needle Assy (Needle Assy)

2 шт2300 руб.
813251-98100-000

Прокладка поплавковой камеры - Gasket, Float Cahmber (Gasket, float chamber ) (Gasket, Float Cahmber)

16 шт480 руб.
913267-93900-000

Винт - Screw (Screw, throttle ) (Screw)

под заказ320 руб.
1013235-93950-000

Главная форсунка - Nozzle, Main (Nozzle, Main)

под заказ2160 руб.
1113270-94350-000

Поплавок - Float (Float)

под заказ1720 руб.
1213254-98410-000

Стопор поплавка - Pin, Float (Pin, Float)

под заказ240 руб.
1313370-94350-000

Игольчатый клапан, в сборе - Valve Assy, Needle (Valve Assy, Needle)

под заказ4490 руб.
1409355-45855-600

Шланг (4.5x8.5x600) - Hose (45x85x600) (Hose (4.5x8.5x600))

под заказ960 руб.
1409355-45001-600

   (актуальный код замены) Шланг (4.5x8.5x600) - Hose (4.5x8.5x600)

под заказ960 руб.
1513652-93950-000

Шланг - Hose (Hose)

под заказ580 руб.
1513652-93951-000

   (актуальный код замены) Шланг - Hose

под заказ580 руб.
1613265-93950-000

Прокладка - Gasket (Gasket)

под заказ530 руб.
1713392-58600-000

Прокладка седла клапана - Gasket, Valve Seat (Gasket, valve seat ) (Gasket, Valve Seat)

1 шт150 руб.
1813450-93950-000

Membrane в сборе - Membrane Assy (Membrane Assy)

под заказ2430 руб.
1913441-94350-000

Пружина - Spring (Spring)

под заказ340 руб.
2013282-94350-000

Рычаг - Arm (Arm)

под заказ590 руб.
2113443-94350-000

Клапан в сборе - Valve Assy (Valve Assy)

под заказ2740 руб.
2213599-95211-000

Гайка - Nut (Nut ) (Nut)

под заказ1490 руб.
2313599-95210-000

Гайка - Nut (Nut ) (Nut)

под заказ470 руб.
2413521-93910-000

Кольцо - Ring (Ring)

под заказ1180 руб.
2515100-93951-000

Помпа Set, Fuel - Pump Set, Fuel (FOR GASOLINE ) (Pump Set, Fuel)

под заказ7880 руб.
2615170-93951-000

Диафрагма Set - Diaphragm Set (FOR GASOLINE ) (Diaphragm Set)

под заказ2810 руб.
2715100-93911-000

Помпа Set, Fuel - Pump Set, Fuel (Pump assy, set # FOR KEROSENE ) (Pump Set, Fuel)

под заказ7880 руб.
2715100-93912-000

   (актуальный код замены) Помпа Set, Fuel - Pump Set, Fuel

под заказ7880 руб.
27SC-GS009

   (не оригинальный аналог) Ремкомплект топливного насоса Suzuki SC-GS009

2 шт950 руб.
27SC-GS009

   (не оригинальный аналог) Ремкомплект топливного насоса Suzuki SC-GS009

2 шт950 руб.
2815170-93911-000

Диафрагма Set, Топливный насос - Diaphragm Set, Fuel Pump (Diaphragm set # FOR KEROSENE ) (Diaphragm Set, Fuel Pump)

4 шт3060 руб.
28SK15170-93911

   (не оригинальный аналог) Диафрагма топливного насоса в сборе Skipper для Suzuki DT9.9-15, DT9.9A-15A

0 шт486 руб.
28SC-GS009

   (не оригинальный аналог) Ремкомплект топливного насоса Suzuki SC-GS009

2 шт950 руб.
2909491-20019-000

Главная форсунка (100) - Jet, Main (100) (Jet, main (#100) ) (Jet, Main (100))

под заказ780 руб.
3009493-32003-000

Воздушная форсунка (1.6) - Jet, Air (16) (Jet, air (#1.6) ) (Jet, Air (1.6))

под заказ1040 руб.
3113268-96111-000

Пружина, Дроссель Винт - Spring, Throttle Screw (Spring, throttle screw ) (Spring, Throttle Screw)

под заказ350 руб.
3213616-93900-000

Регулятор - Adjuster (Adjuster)

под заказ1180 руб.
3313249-93900-000

Винт - Screw (Screw)

под заказ350 руб.
3413631-93960-000

Регулятор дросселя - Knob, Choke (Knob, Choke)

под заказ570 руб.


Время выполнения запроса 2.161591053009 сек.

 
 

данный сайт носит информационный характер и не является публичной офертой

склад запчастей для водомоторной техники