Комплектующие на подвесной двигатель Suzuki модель 1988 года - Throttle control / Управление дросселем
вконтакте

Контактный телефон: +7 (981) 121-46-93, +7 (800) 200-90-76 , Email: parts-katalog@yandex.ru, где купить

 
 

  Логин:

Пароль:

Регистрация

www.partskatalog.ru Все каталоги Запчасти Mercury Запчасти Suzuki Запчасти Tohatsu Запчасти Honda Контакты



УВАЖАЕМЫЕ КЛИЕНТЫ!
C 19 ДЕКАБРЯ 2025 ПО 02 МАРТА 2026 ГОДА ОТДЕЛ ЗАПЧАСТЕЙ И СЕРВИС РАБОТАТЬ НЕ БУДУТ
ПРОДАЖА ЛОДОЧНЫХ МОТОРОВ В ШТАТНОМ РЕЖИМЕ
ОБ ИЗМЕНЕНИЯХ В ГРАФИКЕ РАБОТЫ ЧИТАЙТЕ НА САЙТА



назад Раздел:   вперёд

Вернуться к выбору узлов мотора


ДЕТАЛИРОВКА ДЛЯ МОДЕЛИ: SUZUKI DT15VJ(VG/VH/VJ/K/VL) J

Управление дросселем


Год выпуска двигателя: 1988

Регион: General Export No.1 ,Код региона: P01

Цвет: California Gray Metallic

Номер на
рисунке
АртикулНаименованиеQTYКол-во
на складе
Цена
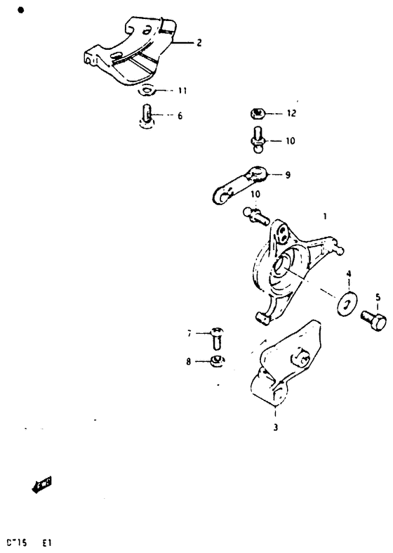
119121-93901-000

Рычаг управления дросселем - Lever, Throttle Control (Lever, Throttle Control)

1 шт1980 руб.
119121-90L00-000

Рычаг управления дросселем - Lever, Throttle Control (Lever, Throttle Control)

под заказ1460 руб.
119121-93901-000

   (актуальный код замены) Рычаг управления дросселем - Lever, Throttle Control

1 шт1980 руб.
219141-93901-000

Запчасть снята с производства - The Spare Part Is Laid Off (~718975) (The Spare Part Is Laid Off)

под заказ0 руб.
219141-93910-000

Запчасть снята с производства - The Spare Part Is Laid Off (718976~) (The Spare Part Is Laid Off)

под заказ0 руб.
319811-93900-000

Ограничитель дросселя - Limiter, Throttle (Limiter, throttle ) (Limiter, Throttle)

под заказ1670 руб.
409160-06046-000

Шайба (6.5x20x1.5) - Washer (65x20x15) (Washer (6.5x20x1.5) # Washer (6.5*20*1.5); ) (Washer (6.5x20x1.5))

20 шт150 руб.
501107-06122-000

Болт - Bolt (Bolt)

под заказ150 руб.
501500-06127-000

   (актуальный код замены) Болт - Bolt

под заказ150 руб.
501500-06127-000

Болт - Bolt (Bolt)

под заказ150 руб.
601107-05162-000

Болт - Bolt (Bolt)

под заказ130 руб.
601500-0516B-000

   (актуальный код замены) Болт - Bolt

под заказ130 руб.
601500-0516B-000

Болт - Bolt (Bolt)

под заказ130 руб.
702112-05162-000

Винт - Screw (Screw)

под заказ150 руб.
702112-05167-000

   (актуальный код замены) Винт - Screw

под заказ150 руб.
702112-05167-000

Винт - Screw (Screw)

под заказ150 руб.
808310-11052-000

Гайка - Nut (Nut)

под заказ140 руб.
808310-00057-000

   (актуальный код замены) Гайка - Nut

под заказ140 руб.
808310-00057-000

Гайка - Nut (Nut)

под заказ140 руб.
919132-94501-000

Коннектор - Connector (Connector)

под заказ350 руб.
1009119-05010-000

Стержень - Pivot (Pivot, throttle lever # Pawl pivot; ) (Pivot)

под заказ500 руб.
1108322-21052-000

Шайба - Washer (Washer)

под заказ140 руб.
1108322-01057-000

   (актуальный код замены) Шайба - Washer

под заказ140 руб.
1108322-01057-000

Шайба - Washer (Washer, front hook holder ) (Washer)

под заказ140 руб.
1209140-05001-000

Гайка - Nut (Nut)

под заказ220 руб.
1209140-05005-000

   (актуальный код замены) Гайка - Nut

10 шт270 руб.
1209140-05005-000

Гайка - Nut (Nut)

10 шт270 руб.


Время выполнения запроса 1.3980989456177 сек.

 
 

данный сайт носит информационный характер и не является публичной офертой

склад запчастей для водомоторной техники