Оригинальные запчасти на лодочный подвесной мотор SUZUKI модель 1990 года - Carburetor
вконтакте

Контактный телефон: +7 (981) 121-46-93, +7 (800) 200-90-76 , Email: parts-katalog@yandex.ru, где купить

 
 

  Логин:

Пароль:

Регистрация

www.partskatalog.ru Все каталоги Запчасти Mercury Запчасти Suzuki Запчасти Tohatsu Запчасти Honda Контакты



УВАЖАЕМЫЕ КЛИЕНТЫ!
C 19 ДЕКАБРЯ 2025 ПО 02 МАРТА 2026 ГОДА ОТДЕЛ ЗАПЧАСТЕЙ И СЕРВИС РАБОТАТЬ НЕ БУДУТ
ПРОДАЖА ЛОДОЧНЫХ МОТОРОВ В ШТАТНОМ РЕЖИМЕ
ОБ ИЗМЕНЕНИЯХ В ГРАФИКЕ РАБОТЫ ЧИТАЙТЕ НА САЙТА



назад Раздел:   вперёд

Вернуться к выбору узлов мотора


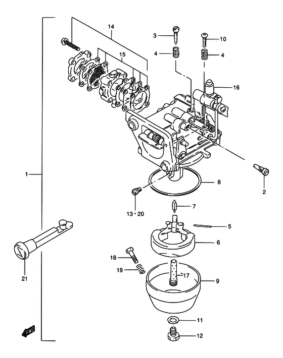
ДЕТАЛИРОВКА ДЛЯ МОДЕЛИ: SUZUKI DT15KL L

Карбюратор


Год выпуска двигателя: 1990

Цвет: California Gray Metallic

Номер на
рисунке
АртикулНаименованиеQTYКол-во
на складе
Цена
113200-91D21-000

Карбюратор в сборе - Carburetor Assy (DT15 ) (Carburetor Assy)

под заказ29280 руб.
113200-91D22-000

   (актуальный код замены) Карбюратор в сборе - Carburetor Assy

1 шт29280 руб.
113200-91D32-000

Запчасть снята с производства - The Spare Part Is Laid Off (DT9.9 724726~ ~MODEL:95) (The Spare Part Is Laid Off)

под заказ0 руб.
113200-939D1-000

Карбюратор в сборе - Carburetor Assy (DT9.9 MODEL:96~00 ) (Carburetor Assy)

под заказ44160 руб.
113200-939D2-000

   (актуальный код замены) Карбюратор в сборе - Carburetor Assy

под заказ44160 руб.
209492-50008-000

Контрольная форсунка (50) - Jet, Pilot (50) (Jet, pilot (#50) # DT9.9 FOR 13200-939D1 ) (Jet, Pilot (50))

под заказ730 руб.
209492-52012-000

Контрольная форсунка (52.5) - Jet, Pilot (525) (Jet, pilot (52.5) # DT9.9:~724725 ) (Jet, Pilot (52.5))

под заказ0 руб.
209492-57003-000

Контрольная форсунка (57.5) - Jet, Pilot (575) (Jet, pilot (#57.5) # DT9.9 FOR 13200-91D32 ) (Jet, Pilot (57.5))

7 шт960 руб.
209492-62001-000

Контрольная форсунка (62.5) - Jet, Pilot (625) (Jet, pilot (62.5) # DT9.9 FOR 13200-91D10 ) (Jet, Pilot (62.5))

1 шт0 руб.
313661-93900-000

Винт - Screw (Screw)

под заказ620 руб.
413268-96110-000

Пружина, Дроссель Винт - Spring, Throttle Screw (Spring, Throttle Screw)

под заказ350 руб.
413268-96111-000

   (актуальный код замены) Пружина, Дроссель Винт - Spring, Throttle Screw

под заказ350 руб.
413268-96111-000

Пружина, Дроссель Винт - Spring, Throttle Screw (Spring, throttle screw ) (Spring, Throttle Screw)

под заказ350 руб.
513254-98100-000

Стопор поплавка - Pin, Float (Pin, float ) (Pin, Float)

под заказ280 руб.
613250-98110-000

Поплавок - Float (Float)

под заказ1800 руб.
713371-98100-000

иголка в сборе - Needle Assy (Needle Assy)

2 шт2300 руб.
813251-98100-000

Прокладка поплавковой камеры - Gasket, Float Cahmber (Gasket, float chamber ) (Gasket, Float Cahmber)

16 шт480 руб.
913245-98110-000

Поплавок, Chamber - Float, Chamber (Chamber, float ) (Float, Chamber)

под заказ5000 руб.
1013267-93900-000

Винт - Screw (Screw, throttle ) (Screw)

под заказ320 руб.
1113343-98100-000

Прокладка - Gasket (Gasket ) (Gasket)

под заказ220 руб.
1213613-98100-000

Болт - Bolt (Bolt ) (Bolt)

под заказ410 руб.
1309491-22013-000

Главная форсунка (110) - Jet, Main (110) (Jet, main (#110) # DT9.9 ) (Jet, Main (110))

под заказ730 руб.
1309491-24023-000

Главная форсунка (122.5) - Jet, Main (1225) (DT15 ~718975 <-9491-24015 ) (Jet, Main (122.5))

под заказ1460 руб.
1309491-25014-000

Главная форсунка (125) - Jet, Main (125) (Jet, main 125 # DT15 718976~ ) (Jet, Main (125))

2 шт1110 руб.
1415100-93911-000

Помпа Set, Fuel - Pump Set, Fuel (Pump assy, set # <-5100-93920 ) (Pump Set, Fuel)

под заказ7880 руб.
1415100-93912-000

   (актуальный код замены) Помпа Set, Fuel - Pump Set, Fuel

под заказ7880 руб.
14SC-GS009

   (не оригинальный аналог) Ремкомплект топливного насоса Suzuki SC-GS009

2 шт950 руб.
14SC-GS009

   (не оригинальный аналог) Ремкомплект топливного насоса Suzuki SC-GS009

2 шт950 руб.
1515170-93911-000

Диафрагма Set, Топливный насос - Diaphragm Set, Fuel Pump (Diaphragm set # <-5170-93920 ) (Diaphragm Set, Fuel Pump)

4 шт3060 руб.
15SK15170-93911

   (не оригинальный аналог) Диафрагма топливного насоса в сборе Skipper для Suzuki DT9.9-15, DT9.9A-15A

0 шт486 руб.
15SC-GS009

   (не оригинальный аналог) Ремкомплект топливного насоса Suzuki SC-GS009

2 шт950 руб.
1613521-93900-000

Запчасть снята с производства - The Spare Part Is Laid Off (The Spare Part Is Laid Off)

под заказ0 руб.
1613521-93910-000

Кольцо - Ring (MODEL:89~00 ) (Ring)

под заказ1180 руб.
1713235-91D00-000

Главная форсунка - Nozzle, Main (DT9.9 FOR 13200-91D32 ) (Nozzle, Main)

5 шт2560 руб.
1713235-93940-000

Главная форсунка - Nozzle, Main (DT9.9 FOR 13200-939D1 ) (Nozzle, Main)

под заказ2860 руб.
1813616-93900-000

Регулятор - Adjuster (Adjuster)

под заказ1180 руб.
1913268-96111-000

Пружина, Дроссель Винт - Spring, Throttle Screw (Spring, throttle screw # <-3617-93900 ) (Spring, Throttle Screw)

под заказ350 руб.
2009491-26016-000

Главная форсунка (130) - Jet, Main (130) (Jet, main (#130) # OPT DT15 <-9491-26009 ) (Jet, Main (130))

5 шт1220 руб.
2009491-20019-000

Главная форсунка (100) - Jet, Main (100) (Jet, main (#100) # OPT DT9.9 ) (Jet, Main (100))

под заказ780 руб.
2009491-95008-000

Главная форсунка (95) - Jet, Main (95) (Jet, main (#95) # OPT DT9.9 ) (Jet, Main (95))

под заказ970 руб.
2009491-22011-000

Главная форсунка (112.5) - Jet, Main (1125) (Jet, main 112.5 # OPT DT15 ) (Jet, Main (112.5))

под заказ680 руб.
2009491-23012-000

Главная форсунка (115) - Jet, Main (115) (Jet, main (#115) # OPT DT15 ) (Jet, Main (115))

под заказ970 руб.
2009491-24026-000

Главная форсунка (120) - Jet, Main (120) (OPT DT15 ) (Jet, Main (120))

под заказ1460 руб.
2113631-93910-000

Рычаг регулировки дросселя - Knob, Choke Lever (Knob, choke lever # <-3631-93900 ) (Knob, Choke Lever)

2 шт720 руб.


Время выполнения запроса 2.0028848648071 сек.

 
 

данный сайт носит информационный характер и не является публичной офертой

склад запчастей для водомоторной техники