Найти запчасти на подвесной лодочный мотор Suzuki модель 1994 года - Коленвал
вконтакте

Контактный телефон: +7 (981) 121-46-93, +7 (800) 200-90-76 , Email: parts-katalog@yandex.ru, где купить

 
 

  Логин:

Пароль:

Регистрация

www.partskatalog.ru Все каталоги Запчасти Mercury Запчасти Suzuki Запчасти Tohatsu Запчасти Honda Контакты



УВАЖАЕМЫЕ КЛИЕНТЫ!
C 19 ДЕКАБРЯ 2025 ПО 02 МАРТА 2026 ГОДА ОТДЕЛ ЗАПЧАСТЕЙ И СЕРВИС РАБОТАТЬ НЕ БУДУТ
ПРОДАЖА ЛОДОЧНЫХ МОТОРОВ В ШТАТНОМ РЕЖИМЕ
ОБ ИЗМЕНЕНИЯХ В ГРАФИКЕ РАБОТЫ ЧИТАЙТЕ НА САЙТА



назад Раздел:   вперёд

Вернуться к выбору узлов мотора


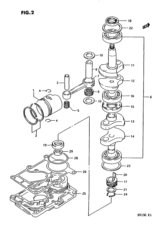
ДЕТАЛИРОВКА ДЛЯ МОДЕЛИ: SUZUKI DT15CMVR(E1) R

Коленвал


Год выпуска двигателя: 1994

Номер на
рисунке
АртикулНаименованиеQTYКол-во
на складе
Цена
112110-89E00-000

Запчасть снята с производства - The Spare Part Is Laid Off (The Spare Part Is Laid Off)

под заказ0 руб.
112100-89E00-025

Запчасть снята с производства - The Spare Part Is Laid Off (Piston set (0s:0.25); Opt -12110-89e00-025) (The Spare Part Is Laid Off)

под заказ0 руб.
112110-89E00-050

Поршень (os: 0.5) - Piston (os:05) (Piston (0s:0.50); Opt ) (Piston (os:0.5))

2 шт8450 руб.
212140-89E00-000

Поршневые кольца - Ring Set, Piston (Ring Set, Piston)

1 шт0 руб.
212140-12B10-050

Поршневые кольца (os: 0.50) - Ring Set, Piston (os:050) (Ring set, piston (0s:0.50); Opt -12140-89e00-050 ) (Ring Set, Piston (os:0.50))

под заказ0 руб.
312151-93100-000

Поршневой палец - Pin, Piston (Pin, piston (dt16) ) (Pin, Piston)

14 шт1000 руб.
409381-14001-000

Пружинное кольцо - Ring, Snap (Ring, Snap)

24 шт160 руб.
4SK09381-14001

   (не оригинальный аналог) Кольцо стопорное пальца поршня Skipper для Suzuki Модели техники: DT9.9-15HP, DT9.9A-15A HP, DF9.9-15HP, DF8A-9.9A HP

0 шт61 руб.
509263-14019-000

Подшипник (14x18x19.8) - Bearing (14x18x198) (Bearing (14x18x19.8))

под заказ1110 руб.
509263-14022-000

   (актуальный код замены) Подшипник (14x18x19.8) - Bearing (14x18x19.8)

11 шт1190 руб.
509263-14022

   (не оригинальный аналог) Игольчатый подшипник Suzuki 09263-14022

под заказ370 руб.
509263-14022

   (не оригинальный аналог) Игольчатый подшипник Suzuki 09263-14022

под заказ370 руб.
5SC-BR138

   (не оригинальный аналог) Игольчатый подшипник Tohatsu SC-BR138

2 шт650 руб.
509263-14022-000

Подшипник (14x18x19.8) - Bearing (14x18x198) (Bearing (14x18x19.8) ) (Bearing (14x18x19.8))

11 шт1190 руб.
5SK09263-14022

   (не оригинальный аналог) Подшипник поршня игольчатый Skipper для Suzuki DT9.9-15, DT9.9A-15A

0 шт221 руб.
612200-89E00-000

Коленвал в сборе - Crankshaft Assy (Crankshaft Assy)

под заказ0 руб.
612200-89E01-000

Коленвал в сборе - Crankshaft Assy (461557~ ) (Crankshaft Assy)

под заказ0 руб.
712161-93902-000

Шатун - Rod, Connecting (Rod, Connecting)

4 шт6980 руб.
7SK12161-93902

   (не оригинальный аналог) Шатун Skipper для Suzuki DT9.9, DT9.9A, DT15, DT15A, DT15C

2 шт998 руб.
712161-93902

   (не оригинальный аналог) Шатунная сборка Suzuki 12161-93902

под заказ3420 руб.
712161-93902-0

   (не оригинальный аналог) Шатун Suzuki 12161-93902-0

под заказ1650 руб.
712160-93902

   (не оригинальный аналог) Шатунная сборка Suzuki 12160-93902

под заказ3260 руб.
7SC-CD010

   (не оригинальный аналог) Шатунная сборка Suzuki SC-CD010

под заказ2900 руб.
812211-93900-000

Штифт кривошипа - Pin, Crank (Pin, Crank)

4 шт2420 руб.
8SK12211-93900

   (не оригинальный аналог) Палец шатуна Skipper для Suzuki DT9.9/DT15

0 шт457 руб.
909263-20051-000

Подшипник (20x27x16) - Bearing (20x27x16) (Bearing ) (Bearing (20x27x16))

8 шт2950 руб.
1009160-20052-000

Шайба (20x34x1) - Washer (20x34x1) (Thrust washer ) (Washer (20x34x1))

10 шт340 руб.
10SK09160-20052

   (не оригинальный аналог) Шайба подшипника шатуна Skipper для Suzuki DT9.9-15, DT9.9A-15A

0 шт113 руб.
1112221-89E00-000

Запчасть снята с производства - The Spare Part Is Laid Off (The Spare Part Is Laid Off)

под заказ0 руб.
1212231-89E00-000

Запчасть снята с производства - The Spare Part Is Laid Off (The Spare Part Is Laid Off)

под заказ0 руб.
1212231-89E01-000

   (актуальный код замены) Запчасть снята с производства - The Spare Part Is Laid Off

под заказ0 руб.
1212231-89E01-000

Запчасть снята с производства - The Spare Part Is Laid Off (Model:94~97) (The Spare Part Is Laid Off)

под заказ0 руб.
1312232-89E00-000

Запчасть снята с производства - The Spare Part Is Laid Off (The Spare Part Is Laid Off)

под заказ0 руб.
1312232-89E01-000

   (актуальный код замены) Запчасть снята с производства - The Spare Part Is Laid Off

под заказ0 руб.
1312232-89E01-000

Запчасть снята с производства - The Spare Part Is Laid Off (Model:94~97) (The Spare Part Is Laid Off)

под заказ0 руб.
1412240-89E00-000

Запчасть снята с производства - The Spare Part Is Laid Off (The Spare Part Is Laid Off)

под заказ0 руб.
1509289-30009-000

Запчасть снята с производства - The Spare Part Is Laid Off (The Spare Part Is Laid Off)

под заказ0 руб.
1509289-30011-000

Запчасть снята с производства - The Spare Part Is Laid Off (461557~) (The Spare Part Is Laid Off)

под заказ0 руб.
1609262-25084-000

Подшипник (25x62x17) - Bearing (25x62x17) (-09262-25047 ) (Bearing (25x62x17))

под заказ3290 руб.
1716321-92D00-000

Шестерня масляного насоса - Gear, Oil Pump Drive (Gear, oil pump drive ) (Gear, Oil Pump Drive)

под заказ0 руб.
1809283-25035-000

Сальник (25x40x7) - Seal, Oil (25x40x7) (Oil seal, upper crankshaft ) (Seal, Oil (25x40x7))

58 шт550 руб.
18SK09283-25035

   (не оригинальный аналог) Сальник коленвала Skipper для Suzuki Модели техники: DT9.9-15, DT9.9A-15A, верхний

2 шт122 руб.
18SC-OL047

   (не оригинальный аналог) Сальник коленвала Suzuki SC-OL047

под заказ230 руб.
1909283-20018-000

Сальник (20x37x9) - Seal, Oil (20x37x9) (Seal, Oil (20x37x9))

7 шт1110 руб.
1909283-20072-000

   (актуальный код замены) Сальник (20x37x9) - Seal, Oil (20x37x9)

2 шт1110 руб.
19SC-OL073

   (не оригинальный аналог) Сальник коленвала Suzuki SC-OL073

под заказ240 руб.
2009421-08001-000

Ключ - Key (Key)

под заказ0 руб.
2108211-20301-000

Шайба - Washer (Washer)

под заказ180 руб.
2109181-20195-000

Регулировочная шайба (20x30x1) - Shim (20x30x1) (Model:97 ) (Shim (20x30x1))

под заказ190 руб.
2209160-52006-000

Запчасть снята с производства - The Spare Part Is Laid Off (The Spare Part Is Laid Off)

под заказ0 руб.
2309160-52005-000

Запчасть снята с производства - The Spare Part Is Laid Off (The Spare Part Is Laid Off)

под заказ0 руб.
2408331-31206-000

Стопорное кольцо - Circlip (Circlip)

под заказ160 руб.
2408331-3120A-000

   (актуальный код замены) Стопорное кольцо - Circlip

под заказ160 руб.
2408331-3120A-000

Стопорное кольцо - Circlip (Circlip, gear cam ) (Circlip)

под заказ160 руб.
2511431-89E00-000

Запчасть снята с производства - The Spare Part Is Laid Off (The Spare Part Is Laid Off)

под заказ0 руб.
2611433-89E10-000

Прокладка нижнего сальника - Gasket, Under Oil Seal (-11433-89e00 ) (Gasket, Under Oil Seal)

под заказ0 руб.
2709202-06023-000

Штифт (6x10) - Pin (6x10) (Pin; ) (Pin (6x10))

6 шт290 руб.
2809280-58003-000

Уплотнительное кольцо (d: 2.4, Id: 57.6) - O Ring (d:24, Id:576) (O Ring (d:2.4, Id:57.6))

под заказ0 руб.
2909282-12010-000

Сальник (12x25x7) - Seal, Oil (12x25x7) (Seal, Oil (12x25x7))

под заказ560 руб.
2909282-12L04-000

   (актуальный код замены) Сальник (12x25x7) - Seal, Oil (12x25x7)

60 шт620 руб.
29SK09282-12010

   (не оригинальный аналог) Сальник коленвала Skipper для Suzuki Модели техники: DT9.9-15, DF9.9-15, нижний

0 шт113 руб.
2909282-12L04-000

Сальник (12x25x7) - Seal, Oil (12x25x7) (Seal, Oil (12x25x7))

60 шт620 руб.


Время выполнения запроса 4.4086780548096 сек.

 
 

данный сайт носит информационный характер и не является публичной офертой

склад запчастей для водомоторной техники