Подобрать запчасти на лодочный подвесной мотор Suzuki - Drive shaft housing
вконтакте

Контактный телефон: +7 (981) 121-46-93, +7 (800) 200-90-76 , Email: parts-katalog@yandex.ru, где купить

 
 

  Логин:

Пароль:

Регистрация

www.partskatalog.ru Все каталоги Запчасти Mercury Запчасти Suzuki Запчасти Tohatsu Запчасти Honda Контакты



УВАЖАЕМЫЕ КЛИЕНТЫ!
C 19 ДЕКАБРЯ 2025 ПО 02 МАРТА 2026 ГОДА ОТДЕЛ ЗАПЧАСТЕЙ И СЕРВИС РАБОТАТЬ НЕ БУДУТ
ПРОДАЖА ЛОДОЧНЫХ МОТОРОВ В ШТАТНОМ РЕЖИМЕ
ОБ ИЗМЕНЕНИЯХ В ГРАФИКЕ РАБОТЫ ЧИТАЙТЕ НА САЙТА



назад Раздел:   вперёд

Вернуться к выбору узлов мотора


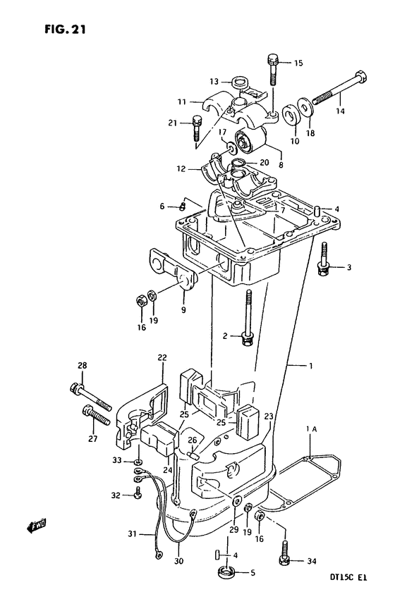
ДЕТАЛИРОВКА ДЛЯ МОДЕЛИ: SUZUKI DT15CMVS(E1) S

Корпус вала передачи


Год выпуска двигателя: 1995

Номер на
рисунке
АртикулНаименованиеQTYКол-во
на складе
Цена
152111-89E11-0ED

Корпус вала передачи (s) - Housing, Drive Shaft (s) (Housing, drive shaft (s); ) (Housing, Drive Shaft (s))

под заказ0 руб.
152111-89E01-0ED

Корпус вала передачи (l) - Housing, Drive Shaft (l) (Housing, drive shaft (l); ) (Housing, Drive Shaft (l))

под заказ0 руб.
155113-93E00-000

Прокладка, Картер коробки передач - Gasket, Gear Case (Gasket, Gear Case)

13 шт1410 руб.
209118-08098-000

Болт (8x85) - Bolt (8x85) (Bolt (8x85);) (Bolt (8x85))

под заказ570 руб.
209118-08172-000

   (актуальный код замены) Болт (8x85) - Bolt (8x85)

под заказ570 руб.
209118-08172-000

Болт (8x85) - Bolt (8x85) (Bolt (8x85))

под заказ570 руб.
309118-08113-000

Запчасть снята с производства - The Spare Part Is Laid Off (Bolt (8x45);) (The Spare Part Is Laid Off)

под заказ0 руб.
409202-06023-000

Штифт (6x10) - Pin (6x10) (Pin; ) (Pin (6x10))

6 шт290 руб.
509282-13002-000

Сальник (12.9x24x5) - Seal, Oil (129x24x5) (Seal, Oil (12.9x24x5))

под заказ0 руб.
652117-94400-000

Трубка контрольной струи - Tube, Water Inspection (Tube, water insp; ) (Tube, Water Inspection)

под заказ330 руб.
652117-92D00-000

Трубка контрольной струи - Tube, Water Inspection (Tube, water inspection # 581337~ ) (Tube, Water Inspection)

20 шт550 руб.
752118-89E10-000

Запчасть снята с производства - The Spare Part Is Laid Off (-52118-89e01) (The Spare Part Is Laid Off)

под заказ0 руб.
854130-93901-000

Крепление, вышеr - Mount, Upr (Mount, Upr)

под заказ3340 руб.
854130-93910-000

Запчасть снята с производства - The Spare Part Is Laid Off (Model:93~97) (The Spare Part Is Laid Off)

под заказ0 руб.
954125-93901-000

Крепление верхнего упора Reverse - Mount, Upr Thrust Reverse (Mount, upper thrust reverse ) (Mount, Upr Thrust Reverse)

под заказ810 руб.
1054121-93900-000

Стопор, вышеr Thrust - Stopper, Upr Thrust (Stopper, Upr Thrust)

под заказ420 руб.
1054121-92D00-000

   (актуальный код замены) Стопор, вышеr Thrust - Stopper, Upr Thrust

под заказ420 руб.
1054121-92D00-000

Стопор, вышеr Thrust - Stopper, Upr Thrust (Cushion, upper mount ) (Stopper, Upr Thrust)

под заказ420 руб.
1054121-92D00-000

Стопор, вышеr Thrust - Stopper, Upr Thrust (Cushion, upper mount # Model:93~97 -54131-93910 ) (Stopper, Upr Thrust)

под заказ420 руб.
1154135-89E00-000

Крышка верхней опоры верхний - Cover, Upper Mount Upper (Cover, Upper Mount Upper)

под заказ0 руб.
1254137-89E00-000

Крышка верхней опоры нижний - Cover, Upper Mount Lower (Cover, Upper Mount Lower)

под заказ0 руб.
1354145-89E01-000

Сальник, вышеr Крепление Крышка - Seal, Upr Mount Cover (Seal, Upr Mount Cover)

под заказ280 руб.
1409100-08209-000

Болт (8x90) - Bolt (8x90) (Bolt (8x90) # Bolt (8x90); ) (Bolt (8x90))

под заказ590 руб.
1509117-08044-000

Болт (8x40) - Bolt (8x40) (Bolt (8x40);) (Bolt (8x40))

под заказ2010 руб.
1509117-08056-XC0

   (актуальный код замены) Болт (8x40) - Bolt (8x40)

под заказ2010 руб.
1509117-08056-XC0

Болт (8x40) - Bolt (8x40) (Bolt (8x40))

под заказ2010 руб.
1609140-08016-000

Гайка - Nut (Nut)

под заказ190 руб.
1609140-08023-XC0

Гайка - Nut (Nut)

14 шт190 руб.
1709160-08082-000

Шайба (8.5x16x1.2) - Washer (85x16x12) (Washer (8.5x16x1.2); -09160-08083 ) (Washer (8.5x16x1.2))

13 шт120 руб.
1809160-08084-000

Шайба (8x30x2.5) - Washer (8x30x25) (Stopper # Stopper (8x30x2.5); ) (Washer (8x30x2.5))

под заказ240 руб.
1909162-08007-000

Шайба с блокировкой - Washer, Lock (Lock washer # Washer; ) (Washer, Lock)

под заказ160 руб.
2009280-18005-000

Уплотнительное кольцо (d: 2, Id: 16.5) - O Ring (d:2, Id:165) (O Ring (d:2, Id:16.5))

под заказ140 руб.
2109117-06041-000

Болт (6x30) - Bolt (6x30) (-09117-06047) (Bolt (6x30))

под заказ310 руб.
2109117-06032-000

   (актуальный код замены) Болт (6x30) - Bolt (6x30)

под заказ310 руб.
2109117-06032-000

Болт (6x30) - Bolt (6x30) (Bolt (6x30))

под заказ310 руб.
2254211-93910-0ED

Крышка, Lwr Крепление Stbd - Cover, Lwr Mount Stbd (Cover, Lwr Mount Stbd)

под заказ0 руб.
2254211-93911-0ED

   (актуальный код замены) Запчасть снята с производства - The Spare Part Is Laid Off

под заказ0 руб.
2254211-93911-0ED

Крышка, Lwr Крепление Stbd - Cover, Lwr Mount Stbd (Cover, Lwr Mount Stbd)

под заказ0 руб.
2354221-93910-0ED

Крышка, Lwr Крепление Port - Cover, Lwr Mount Port (Cover, Lwr Mount Port)

под заказ6050 руб.
2354221-93911-0ED

   (актуальный код замены) Крышка, Lwr Крепление Port - Cover, Lwr Mount Port

под заказ6050 руб.
2354221-93911-0ED

Крышка, Lwr Крепление Port - Cover, Lwr Mount Port (Cover, Lwr Mount Port)

под заказ6050 руб.
2454151-93900-000

Крепление нижнего упора - Mount, Lwr Thrust (Mount, lower thrust ) (Mount, Lwr Thrust)

2 шт980 руб.
2554167-93900-000

Крепление, Lwr Side - Mount, Lwr Side (Mount, lower side ) (Mount, Lwr Side)

под заказ960 руб.
2654213-93900-000

Штифт, Lwr Крепление Крышка Knock - Pin, Lwr Mount Cover Knock (Pin, Lwr Mount Cover Knock)

под заказ760 руб.
2654213-93901-000

   (актуальный код замены) Штифт, Lwr Крепление Крышка Knock - Pin, Lwr Mount Cover Knock

1 шт760 руб.
2654213-93901-000

Штифт, Lwr Крепление Крышка Knock - Pin, Lwr Mount Cover Knock (Pin, Lwr Mount Cover Knock)

1 шт760 руб.
2709117-08056-000

Болт (8x40) - Bolt (8x40) (Bolt (8x40);) (Bolt (8x40))

под заказ2010 руб.
2709117-08056-XC0

   (актуальный код замены) Болт (8x40) - Bolt (8x40)

под заказ2010 руб.
2709117-08056-XC0

Болт (8x40) - Bolt (8x40) (Bolt (8x40))

под заказ2010 руб.
2809118-08137-000

Болт (8x70) - Bolt (8x70) (Bolt (8x70);) (Bolt (8x70))

под заказ540 руб.
2809118-08170-000

   (актуальный код замены) Болт (8x70) - Bolt (8x70)

под заказ540 руб.
2809118-08170-000

Болт (8x70) - Bolt (8x70) (Bolt (8x70))

под заказ540 руб.
2909160-08082-000

Шайба (8.5x16x1.2) - Washer (85x16x12) (Washer (8.5x16x1.2))

13 шт120 руб.
3036894-94401-000

Lead (l: 195) - Lead (l:195) (Lead (l, ll) # Lead (swivel to mount); L:195 -36894-94400 ) (Lead (l:195))

под заказ1170 руб.
3036894-87D00-000

Lead (l: 165) - Lead (l:165) (Lead (swivel to mount); Model:96, 97 ) (Lead (l:165))

2 шт1350 руб.
3136894-95201-000

Lead (l: 165) - Lead (l:165) (Lead (mount to hsg); L:165 -36894-95200 ) (Lead (l:165))

под заказ1170 руб.
3209125-05050-000

Винт (5x8) - Screw (5x8) (Screw (5x8); ) (Screw (5x8))

под заказ150 руб.
3309161-05114-000

Шайба (5.2x11x1) - Washer (52x11x1) (Washer (5.2x11.0x1.0) # Washer; ) (Washer (5.2x11x1))

под заказ290 руб.
3409117-08047-000

Болт (8x30) - Bolt (8x30) (Bolt (8x30); ) (Bolt (8x30))

10 шт520 руб.


Время выполнения запроса 3.1747758388519 сек.

 
 

данный сайт носит информационный характер и не является публичной офертой

склад запчастей для водомоторной техники