Подобрать запчасти на подвесной двигатель Suzuki модель 1995 года - Магнето
вконтакте

Контактный телефон: +7 (981) 121-46-93, +7 (800) 200-90-76 , Email: parts-katalog@yandex.ru, где купить

 
 

  Логин:

Пароль:

Регистрация

www.partskatalog.ru Все каталоги Запчасти Mercury Запчасти Suzuki Запчасти Tohatsu Запчасти Honda Контакты



УВАЖАЕМЫЕ КЛИЕНТЫ!
C 19 ДЕКАБРЯ 2025 ПО 02 МАРТА 2026 ГОДА ОТДЕЛ ЗАПЧАСТЕЙ И СЕРВИС РАБОТАТЬ НЕ БУДУТ
ПРОДАЖА ЛОДОЧНЫХ МОТОРОВ В ШТАТНОМ РЕЖИМЕ
ОБ ИЗМЕНЕНИЯХ В ГРАФИКЕ РАБОТЫ ЧИТАЙТЕ НА САЙТА



назад Раздел:   вперёд

Вернуться к выбору узлов мотора


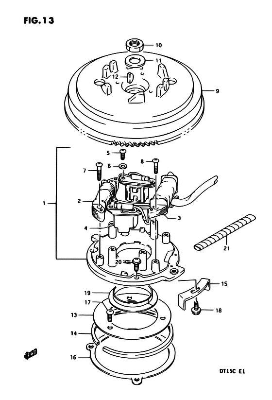
ДЕТАЛИРОВКА ДЛЯ МОДЕЛИ: SUZUKI DT15CMV S

Магнето


Год выпуска двигателя: 1995

Цвет: California Gray Metallic

Номер на
рисунке
АртикулНаименованиеQTYКол-во
на складе
Цена
132101-89E10-000

Запчасть снята с производства - The Spare Part Is Laid Off (-32101-89E00) (The Spare Part Is Laid Off)

под заказ0 руб.
232120-89E00-000

Coil Lighting - Coil Lighting (ELECTRIC STARTER) (Coil Lighting)

под заказ0 руб.
232120-89E10-000

   (актуальный код замены) Запчасть снята с производства - The Spare Part Is Laid Off

под заказ0 руб.
232120-89E10-000

Coil Lighting - Coil Lighting (Coil Lighting)

под заказ0 руб.
232120-89E10-000

Coil Lighting - Coil Lighting (MANUAL STARTER ) (Coil Lighting)

под заказ0 руб.
332140-89E00-000

Запчасть снята с производства - The Spare Part Is Laid Off (The Spare Part Is Laid Off)

под заказ0 руб.
432160-89E00-000

Запчасть снята с производства - The Spare Part Is Laid Off (The Spare Part Is Laid Off)

под заказ0 руб.
502112-05127-000

Винт - Screw (Screw, vacuum sw valve ) (Screw)

31 шт150 руб.
608321-01057-000

Шайба с блокировкой - Washer, Lock (Washer, Lock)

под заказ140 руб.
608321-0105A-000

   (актуальный код замены) Шайба с блокировкой - Washer, Lock

под заказ140 руб.
608321-0105A-000

Шайба с блокировкой - Washer, Lock (Washer, Lock)

под заказ140 руб.
702112-05303-000

Винт - Screw (Screw)

под заказ140 руб.
702112-0530A-000

   (актуальный код замены) Винт - Screw

под заказ140 руб.
702112-0530A-000

Винт - Screw (Screw)

под заказ140 руб.
802112-05257-000

Винт - Screw (Screw)

под заказ120 руб.
932102-89E00-000

Запчасть снята с производства - The Spare Part Is Laid Off (-32102-89E10) (The Spare Part Is Laid Off)

под заказ0 руб.
1009140-14008-000

Гайка - Nut (Nut)

5 шт210 руб.
10SK09140-14008

   (не оригинальный аналог) Гайка маховика Skipper для Suzuki DT9.9-15/ DF8A-30A, 14мм

0 шт64 руб.
1109160-14052-000

Шайба (14x27x4) - Washer (14x27x4) (Washer (14x27x4))

под заказ370 руб.
1209420-04008-000

Ключ - Key (-08341-31049 ) (Key)

18 шт370 руб.
1319151-89E00-000

Фиксатор, Стартер - Retainer, Starter (Retainer, Starter)

под заказ0 руб.
1419161-92D00-000

Проставка, Стартер - Spacer, Starter (Spacer, Starter)

под заказ0 руб.
1519172-89E02-000

Стопор, Стартер - Stopper, Starter (-19172-89E01 ) (Stopper, Starter)

под заказ0 руб.
1619181-92D00-000

Friction, Стартер - Friction, Starter (Friction, Starter)

под заказ0 руб.
1702112-06107-000

Винт - Screw (MODEL:95~97 ) (Screw)

под заказ120 руб.
1709125-06063-000

Винт (6x10) - Screw (6x10) (Screw (6x10))

6 шт190 руб.
1802162-05107-000

Винт - Screw (Screw)

под заказ150 руб.
1932390-89E00-000

Фиксатор основания магнето - Retainer, Magneto Base (Retainer, Magneto Base)

под заказ0 руб.
2002142-05103-000

Винт - Screw (Screw)

под заказ130 руб.
2002142-0510B-000

   (актуальный код замены) Винт - Screw

под заказ130 руб.
2002142-0510B-000

Винт - Screw (Bolt ) (Screw)

под заказ130 руб.
2138423-95510-000

Трубка провода переключателя (l: 250) - Tube, Switch Lead (l:250) (MANUAL STARTER:150 100) (Tube, Switch Lead (l:250))

под заказ610 руб.
2133833-91J00-000

   (актуальный код замены) Трубка провода переключателя (l: 250) - Tube, Switch Lead (l:250)

под заказ610 руб.
2133833-91J00-000

Трубка провода переключателя (l: 250) - Tube, Switch Lead (l:250) (Tube, Switch Lead (l:250))

под заказ610 руб.


Время выполнения запроса 2.2266979217529 сек.

 
 

данный сайт носит информационный характер и не является публичной офертой

склад запчастей для водомоторной техники