Купить комплектующие на подвесной двигатель Suzuki модель 1996 года - Cylinder - Цилиндр
вконтакте

Контактный телефон: +7 (981) 121-46-93, +7 (800) 200-90-76 , Email: parts-katalog@yandex.ru, где купить

 
 

  Логин:

Пароль:

Регистрация

www.partskatalog.ru Все каталоги Запчасти Mercury Запчасти Suzuki Запчасти Tohatsu Запчасти Honda Контакты



УВАЖАЕМЫЕ КЛИЕНТЫ!
C 19 ДЕКАБРЯ 2025 ПО 02 МАРТА 2026 ГОДА ОТДЕЛ ЗАПЧАСТЕЙ И СЕРВИС РАБОТАТЬ НЕ БУДУТ
ПРОДАЖА ЛОДОЧНЫХ МОТОРОВ В ШТАТНОМ РЕЖИМЕ
ОБ ИЗМЕНЕНИЯХ В ГРАФИКЕ РАБОТЫ ЧИТАЙТЕ НА САЙТА



назад Раздел:   вперёд

Вернуться к выбору узлов мотора


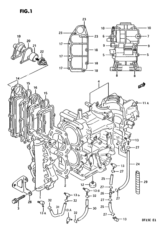
ДЕТАЛИРОВКА ДЛЯ МОДЕЛИ: SUZUKI DT15CMVT(E1) T

Цилиндр


Год выпуска двигателя: 1996

Номер на
рисунке
АртикулНаименованиеQTYКол-во
на складе
Цена
111110-93990-0ED

Запчасть снята с производства - The Spare Part Is Laid Off (Head, cylinder; -11110-89e00-0ed) (The Spare Part Is Laid Off)

под заказ0 руб.
211141-93950-000

Прокладка головки блока цилиндра - Gasket, Cylinder Head (-11141-93920) (Gasket, Cylinder Head)

под заказ2100 руб.
2SM-11410-93834-000

   (не оригинальный аналог) Комплект прокладок SM-11410-93834-000 на Suzuki DT9.9 / DT15 до 2013 года (без сальников)

8 шт3000 руб.
211141-93960-000

   (актуальный код замены) Прокладка головки блока цилиндра - Gasket, Cylinder Head

14 шт2300 руб.
2SM-11141-93950-000

   (не оригинальный аналог) Прокладка SM-11141-93950-000 головки блока цилиндра

1 шт500 руб.
2SC-GS171

   (не оригинальный аналог) Прокладка под головку Suzuki SC-GS171

под заказ880 руб.
211141-93960-000

Прокладка головки блока цилиндра - Gasket, Cylinder Head (Gasket, Cylinder Head)

14 шт2300 руб.
309118-08116-000

Болт (8x40) - Bolt (8x40) (Bolt (8x40) ) (Bolt (8x40))

под заказ470 руб.
301580-08407-000

Болт - Bolt (Model:94~97 ) (Bolt)

10 шт290 руб.
411301-89E01-0ED

Запчасть снята с производства - The Spare Part Is Laid Off (-11301-89e00-0ed) (The Spare Part Is Laid Off)

под заказ0 руб.
411301-89E03-0ED

   (актуальный код замены) Запчасть снята с производства - The Spare Part Is Laid Off

под заказ0 руб.
411301-89E03-0ED

Запчасть снята с производства - The Spare Part Is Laid Off (461557~581336) (The Spare Part Is Laid Off)

под заказ0 руб.
411301-89E05-0ED

Запчасть снята с производства - The Spare Part Is Laid Off (581337~) (The Spare Part Is Laid Off)

под заказ0 руб.
501550-06357-000

Болт - Bolt (Bolt, throttle lever no.2 ) (Bolt)

9 шт210 руб.
601550-06457-000

Болт - Bolt (Bolt)

под заказ210 руб.
701550-06607-000

Болт - Bolt (Bolt)

под заказ260 руб.
801550-08507-000

Болт - Bolt (Bolt)

под заказ260 руб.
901550-08957-000

Болт - Bolt (Bolt)

под заказ330 руб.
1009103-08258-000

Запчасть снята с производства - The Spare Part Is Laid Off (Bolt (8x95);) (The Spare Part Is Laid Off)

под заказ0 руб.
1104221-06129-000

Штифт - Pin (Pin)

под заказ130 руб.
1116721-89E00-000

Nozzle, Oil - Nozzle, Oil (Nozzle, Oil)

под заказ0 руб.
1211130-94600-000

Zink, Цилиндр - Zink, Cylinder (Zink, protection # Zinc, protection; ) (Zink, Cylinder)

под заказ1370 руб.
1316710-98600-000

Контрольный клапан - Valve, Check (Valve, Check)

под заказ2330 руб.
1316710-95D10-000

   (актуальный код замены) Контрольный клапан - Valve, Check

под заказ2330 руб.
1316710-95D10-000

Контрольный клапан - Valve, Check (Valve, Check)

под заказ2330 руб.
1316725-89E02-000

Запчасть снята с производства - The Spare Part Is Laid Off (581337~) (The Spare Part Is Laid Off)

под заказ0 руб.
1316710-95D10-000

Контрольный клапан - Valve, Check (581337~ ) (Valve, Check)

под заказ2330 руб.
1414141-89E00-0ED

Выхлопная крышка - Cover, Exhaust (Cover, Exhaust)

1 шт0 руб.
1514151-89E10-000

Прокладка выхлопной крышки - Gasket, Exh Cover (-14151-89e00-h17 ) (Gasket, Exh Cover)

2 шт0 руб.
1614131-89E00-000

Пластина, Выхлоп - Plate, Exhaust (Plate, Exhaust)

под заказ0 руб.
1702162-06257-000

Винт - Screw (Bolt ) (Screw)

7 шт150 руб.
1801550-06307-000

Болт - Bolt (Bolt)

8 шт250 руб.
1917681-89E00-0ED

Запчасть снята с производства - The Spare Part Is Laid Off (The Spare Part Is Laid Off)

под заказ0 руб.
2017685-89E10-000

Прокладка, Термостат - Gasket, Thermostat (Gasket, thermostat # Gasket, thermostat; ) (Gasket, Thermostat)

1 шт0 руб.
2117682-89E00-000

Проставка, Термостат - Spacer, Thermostat (Spacer, Thermostat)

под заказ0 руб.
2217670-89E02-000

Термостат - Thermostat (Thermostat (60 degree c); -17670-89e01 ) (Thermostat)

1 шт6200 руб.
2217670-89E03-000

   (актуальный код замены) Термостат - Thermostat

под заказ6200 руб.
2301550-06407-000

Болт - Bolt (Bolt)

4 шт210 руб.
2409355-25705-600

Шланг (2.5x7x600) - Hose (25x7x600) (Hose, out no.4 (2.5x7x300) # Hose, lubrication; L:600 175~model:94 ) (Hose (2.5x7x600))

под заказ680 руб.
2409355-25001-600

   (актуальный код замены) Шланг - Hose

под заказ680 руб.
2509355-25705-600

Шланг (2.5x7x600) - Hose (25x7x600) (Hose, out no.4 (2.5x7x300) # Hose, lubrication; L:600 33~model:94 ) (Hose (2.5x7x600))

под заказ680 руб.
2509355-25001-600

   (актуальный код замены) Шланг - Hose

под заказ680 руб.
2609367-04002-000

Коннектор - Connector (Model:89~90 ) (Connector)

под заказ240 руб.
2609367-04007-000

Тройник - 3 Way (3 way # ~581336 ) (3 Way)

под заказ260 руб.
2709401-06101-000

Зажим - Clip (~581336 ) (Clip)

под заказ160 руб.
2832892-89E00-0ED

Запчасть снята с производства - The Spare Part Is Laid Off (The Spare Part Is Laid Off)

под заказ0 руб.
2916911-92E20-000

Защита (9x11x540) - Protector (9x11x540) (Protector; L:540 130model:93~95 ) (Protector (9x11x540))

под заказ810 руб.
3009355-25705-600

Шланг (2.5x7x600) - Hose (25x7x600) (Hose, out no.4 (2.5x7x300) # Hose, lubrication; L:600 190581337~ ) (Hose (2.5x7x600))

под заказ680 руб.
3009355-25001-600

   (актуальный код замены) Шланг - Hose

под заказ680 руб.
3109355-25705-600

Шланг (2.5x7x600) - Hose (25x7x600) (Hose, out no.4 (2.5x7x300) # Hose, lubrication; L:600 120581337~ ) (Hose (2.5x7x600))

под заказ680 руб.
3109355-25001-600

   (актуальный код замены) Шланг - Hose

под заказ680 руб.
3209401-06101-000

Зажим - Clip (581337~ ) (Clip)

под заказ160 руб.


Время выполнения запроса 2.1494410037994 сек.

 
 

данный сайт носит информационный характер и не является публичной офертой

склад запчастей для водомоторной техники