Купить комплектующие Suzuki - Exhaust tube
вконтакте

Контактный телефон: +7 (981) 121-46-93, +7 (800) 200-90-76 , Email: parts-katalog@yandex.ru, где купить

 
 

  Логин:

Пароль:

Регистрация

www.partskatalog.ru Все каталоги Запчасти Mercury Запчасти Suzuki Запчасти Tohatsu Запчасти Honda Контакты



УВАЖАЕМЫЕ КЛИЕНТЫ!
C 19 ДЕКАБРЯ 2025 ПО 02 МАРТА 2026 ГОДА ОТДЕЛ ЗАПЧАСТЕЙ И СЕРВИС РАБОТАТЬ НЕ БУДУТ
ПРОДАЖА ЛОДОЧНЫХ МОТОРОВ В ШТАТНОМ РЕЖИМЕ
ОБ ИЗМЕНЕНИЯХ В ГРАФИКЕ РАБОТЫ ЧИТАЙТЕ НА САЙТА



назад Раздел:   вперёд

Вернуться к выбору узлов мотора


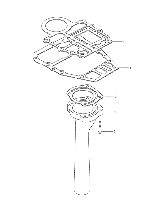
ДЕТАЛИРОВКА ДЛЯ МОДЕЛИ: SUZUKI DT15SK4(E1) K4

Выхлоп Трубка


Год выпуска двигателя: 2004

Регион: General Export No.1 ,Код региона: P01

Цвет: Shadow Black Metallic

Номер на
рисунке
АртикулНаименованиеQTYКол-во
на складе
Цена
114211-93901-000

Выхлопная труба - Tube, Exhaust (Tube, Exhaust)

под заказ12580 руб.
214213-93910-000

Прокладка выхлопной трубы - Gasket, Exhaust Tube (Gasket, exhaust tube ) (Gasket, Exhaust Tube)

14 шт570 руб.
2SM-14213-93910-000

   (не оригинальный аналог) Прокладка SM-14213-93910-000 выхлопной трубы

2 шт160 руб.
309117-06032-000

Болт (6x30) - Bolt (6x30) (Bolt (6x30); ) (Bolt (6x30))

под заказ310 руб.
411433-93912-000

Прокладка нижнего корпуса сальника - Gasket, Under Oil Seal Hsg (Gasket, Under Oil Seal Hsg)

под заказ1840 руб.
4SM-11433-90L00-000

   (не оригинальный аналог) Прокладка SM-11433-90L00-000 под основанием блока двигателя

8 шт490 руб.
411433-90L00-000

   (актуальный код замены) Прокладка нижнего корпуса сальника - Gasket, Under Oil Seal Hsg

27 шт2010 руб.
411433-93912

   (не оригинальный аналог) Прокладка дейдвуда Suzuki 11433-93912

под заказ800 руб.
411433-93912

   (не оригинальный аналог) Прокладка дейдвуда Suzuki 11433-93912

под заказ800 руб.
411433-90L00-000

Прокладка нижнего корпуса сальника - Gasket, Under Oil Seal Hsg (Gasket, Under Oil Seal Hsg)

27 шт2010 руб.
4SK11433-93912

   (не оригинальный аналог) Прокладка под блок двигателя Skipper для Suzuki Модели техники: DT9.9-15

1 шт483 руб.
552113-93910-000

Прокладка корпуса вала передачи - Gasket, Drive Shaft Housing (Gasket, drive shaft hsg ) (Gasket, Drive Shaft Housing)

9 шт1690 руб.
5SM-52113-93910-000

   (не оригинальный аналог) Прокладка SM-52113-93910-000 корпуса вала передачи (дейдвуда)

31 шт550 руб.
5SK52113-93910

   (не оригинальный аналог) Прокладка проставки блока цилиндров Skipper для Suzuki Модели техники: DT9.9/15

0 шт362 руб.
552113-93910

   (не оригинальный аналог) Прокладка дейдвуда Suzuki 52113-93910

под заказ600 руб.


Время выполнения запроса 0.92758798599243 сек.

 
 

данный сайт носит информационный характер и не является публичной офертой

склад запчастей для водомоторной техники