| |
 |
|
 |
Вернуться к выбору узлов мотора
ДЕТАЛИРОВКА ДЛЯ МОДЕЛИ: SUZUKI DT15S K4
Опции : Запчасти для дистанционного управления
Год выпуска двигателя: 2004
Регион: General Export No.1 ,Код региона: P01
Цвет: Shadow Black Metallic
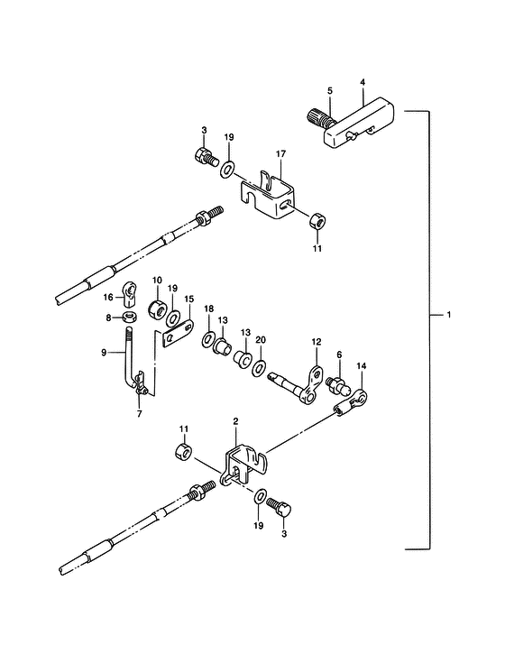
Номер на рисунке | Артикул | Наименование | QTY | Кол-во на складе | Цена |
| 1 | 67130-93820-000 | Комплект для установки дистанционного управления - Parts Set, Remocon (Parts Set, Remocon) | | 6 шт | 18480 руб. |
| 1 | KDU_S9.9-15 | (не оригинальный аналог) Комплект KDU_S9.9-15 подключения ДУ на моторы Suzuki DT9.9 / DT15 | | 2 шт | 7800 руб. |
| 1 | KDU_S9.9-15 | (аналог) Комплект KDU_S9.9-15 подключения ДУ на моторы Suzuki DT9.9 / DT15 - код 67130-93820-000 | | 2 шт шт | 7800 руб. |
| 2 | 67340-93900-000 | Держатель троссика дистанционного управления (газ) - Holder, Remocon Cable (throttle) (Holder, remo-con cable ) (Holder, Remocon Cable (throttle)) | | 1 шт | 2980 руб. |
| 3 | 29117-93J20-000 | Болт - Bolt (Bolt (6x15) ) (Bolt) | | под заказ | 340 руб. |
| 4 | 67440-93900-000 | Направляющая тросика сцепления - Guide, Clutch Cable (Guide, clutch calbe ) (Guide, Clutch Cable) | | под заказ | 3170 руб. |
| 5 | 09440-09042-000 | Пружина - Spring (Spring, steering adjuster # <-09440-09025 ) (Spring) | | 10 шт | 190 руб. |
| 6 | 09119-06047-000 | Стержень - Pivot (Pivot, ball ) (Pivot) | | 21 шт | 520 руб. |
| 7 | 09209-05017-000 | Штифт - Pin (Connector ) (Pin) | | 10 шт | 200 руб. |
| 8 | 09140-05005-000 | Гайка - Nut (Nut) | | 10 шт | 270 руб. |
| 9 | 67413-93900-000 | Тяга, Дистанционное управление Дроссель - Rod, Remote Control Throttle (Rod, remo-con throttle ) (Rod, Remote Control Throttle) | | под заказ | 1260 руб. |
| 10 | 09159-08059-000 | Гайка - Nut (Nut, clutch lever ) (Nut) | | 13 шт | 390 руб. |
| 11 | 29141-93J00-000 | Гайка - Nut (Nut) | | 18 шт | 480 руб. |
| 12 | 67410-93501-000 | Рычаг дистанционного управления дросселем - Lever, Remocon Throttle (Lever, Remocon Throttle) | | под заказ | 8790 руб. |
| 12 | 67410-90L00-000 | (актуальный код замены) Рычаг дистанционного управления дросселем - Lever, Remocon Throttle | | под заказ | 8790 руб. |
| 12 | 67410-90L00-000 | Рычаг дистанционного управления дросселем - Lever, Remocon Throttle (Lever, Remocon Throttle) | | под заказ | 8790 руб. |
| 13 | 09306-08016-000 | Втулка - Bush (<-09306-08003 ) (Bush) | | 10 шт | 190 руб. |
| 14 | 67466-95200-000 | Коннектор - Connector (Connector, throttle cable ) (Connector) | | 18 шт | 560 руб. |
| 15 | 67417-93900-000 | Рычаг, Remocon Дроссель - Arm, Remocon Throttle (Arm, remo-con throttle ) (Arm, Remocon Throttle) | | под заказ | 960 руб. |
| 16 | 19131-95502-000 | Коннектор - Connector (Connector, oil pump no.2 ) (Connector) | | 21 шт | 530 руб. |
| 17 | 67341-94302-000 | Держатель кабеля дистанционного управления - Holder, Remocon Cable (Holder, remo-con cable ) (Holder, Remocon Cable) | | 6 шт | 1660 руб. |
| 18 | 09164-08017-000 | Шайба - Washer (Washer) | | под заказ | 160 руб. |
| 19 | 09160-06082-000 | Шайба (6.5x13x1.0) - Washer (65x13x10) (Washer (6.5x13x1.0)) | | 7 шт | 150 руб. |
| 20 | 09160-08059-000 | Шайба (8.5x18x1.6) - Washer (85x18x16) (Washer (8.5x18x1.6) ) (Washer (8.5x18x1.6)) | | 9 шт | 120 руб. |
Время выполнения запроса 1.4854400157928 сек. |
|