| |
 |
|
 |
Вернуться к выбору узлов мотора
ДЕТАЛИРОВКА ДЛЯ МОДЕЛИ: SUZUKI DT15KLK8(E1) K8
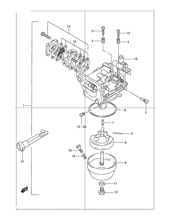
Карбюратор
Год выпуска двигателя: 2008
Регион: General Export No.1 ,Код региона: P01
Цвет: Shadow Black Metallic
Номер на рисунке | Артикул | Наименование | QTY | Кол-во на складе | Цена |
| 1 | 13200-939D1-000 | Карбюратор в сборе - Carburetor Assy (Dt9.9 ) (Carburetor Assy) | | под заказ | 44160 руб. |
| 1 | 13200-939D2-000 | (актуальный код замены) Карбюратор в сборе - Carburetor Assy | | под заказ | 44160 руб. |
| 1 | 13200-91D21-000 | Карбюратор в сборе - Carburetor Assy (Dt15 ) (Carburetor Assy) | | под заказ | 29280 руб. |
| 1 | 13200-91D22-000 | (актуальный код замены) Карбюратор в сборе - Carburetor Assy | | 1 шт | 29280 руб. |
| 2 | 09492-50008-000 | Контрольная форсунка (50) - Jet, Pilot (50) (Jet, pilot (#50) # Jet, pilot (#50); Dt9.9 ) (Jet, Pilot (50)) | | под заказ | 730 руб. |
| 2 | 09492-57003-000 | Контрольная форсунка (57.5) - Jet, Pilot (575) (Jet, pilot (#57.5) # Jet, pilot (#57.5); Dt15 ) (Jet, Pilot (57.5)) | | 7 шт | 960 руб. |
| 3 | 13661-93900-000 | Винт - Screw (Screw) | | под заказ | 620 руб. |
| 4 | 13268-96111-000 | Пружина, Дроссель Винт - Spring, Throttle Screw (Spring, throttle screw # Spring, throttle; ) (Spring, Throttle Screw) | | под заказ | 350 руб. |
| 5 | 13254-98100-000 | Стопор поплавка - Pin, Float (Pin, float ) (Pin, Float) | | под заказ | 280 руб. |
| 6 | 13250-98110-000 | Поплавок - Float (Float) | | под заказ | 1800 руб. |
| 7 | 13371-98100-000 | иголка в сборе - Needle Assy (Needle Assy) | | 2 шт | 2300 руб. |
| 8 | 13251-98100-000 | Прокладка поплавковой камеры - Gasket, Float Cahmber (Gasket, float chamber ) (Gasket, Float Cahmber) | | 16 шт | 480 руб. |
| 9 | 13245-98110-000 | Поплавок, Chamber - Float, Chamber (Chamber, float # Chamber, float; ) (Float, Chamber) | | под заказ | 5000 руб. |
| 10 | 13267-93900-000 | Винт - Screw (Screw, throttle # Screw, throttle stop; ) (Screw) | | под заказ | 320 руб. |
| 11 | 13343-98100-000 | Прокладка - Gasket (Gasket ) (Gasket) | | под заказ | 220 руб. |
| 12 | 13613-98100-000 | Болт - Bolt (Bolt ) (Bolt) | | под заказ | 410 руб. |
| 13 | 09491-22013-000 | Главная форсунка (110) - Jet, Main (110) (Jet, main (#110) # Jet, main (#110); Dt9.9 ) (Jet, Main (110)) | | под заказ | 730 руб. |
| 13 | 09491-25014-000 | Главная форсунка (125) - Jet, Main (125) (Jet, main 125 # Jet, main (#125); Dt15 ) (Jet, Main (125)) | | 2 шт | 1110 руб. |
| 14 | 15100-93911-000 | Помпа Set, Fuel - Pump Set, Fuel (Pump assy, set # Pump assy, set; ) (Pump Set, Fuel) | | под заказ | 7880 руб. |
| 14 | 15100-93912-000 | (актуальный код замены) Помпа Set, Fuel - Pump Set, Fuel | | под заказ | 7880 руб. |
| 14 | SC-GS009 | (не оригинальный аналог) Ремкомплект топливного насоса Suzuki SC-GS009 | | 2 шт | 950 руб. |
| 14 | SC-GS009 | (не оригинальный аналог) Ремкомплект топливного насоса Suzuki SC-GS009 | | 2 шт | 950 руб. |
| 15 | 15170-93911-000 | Диафрагма Set, Топливный насос - Diaphragm Set, Fuel Pump (Diaphragm set ) (Diaphragm Set, Fuel Pump) | | 4 шт | 3060 руб. |
| 15 | SK15170-93911 | (не оригинальный аналог) Диафрагма топливного насоса в сборе Skipper для Suzuki DT9.9-15, DT9.9A-15A | | 0 шт | 486 руб. |
| 15 | SC-GS009 | (не оригинальный аналог) Ремкомплект топливного насоса Suzuki SC-GS009 | | 2 шт | 950 руб. |
| 16 | 13521-93910-000 | Кольцо - Ring (Ring) | | под заказ | 1180 руб. |
| 17 | 13235-93940-000 | Главная форсунка - Nozzle, Main (Dt9.9 ) (Nozzle, Main) | | под заказ | 2860 руб. |
| 17 | 13235-91D00-000 | Главная форсунка - Nozzle, Main (Nozzle, main; Dt15 ) (Nozzle, Main) | | 5 шт | 2560 руб. |
| 18 | 13616-93900-000 | Регулятор - Adjuster (Adjuster) | | под заказ | 1180 руб. |
| 19 | 13268-96111-000 | Пружина, Дроссель Винт - Spring, Throttle Screw (Spring, throttle screw ) (Spring, Throttle Screw) | | под заказ | 350 руб. |
| 20 | 09491-23012-000 | Главная форсунка (115) - Jet, Main (115) (Jet, main (#115) # Jet, main (#115); Opt dt9.9 ) (Jet, Main (115)) | | под заказ | 970 руб. |
| 20 | 09491-20019-000 | Главная форсунка (100) - Jet, Main (100) (Jet, main (#100) # Jet, main (#100); Opt dt9.9 ) (Jet, Main (100)) | | под заказ | 780 руб. |
| 20 | 09491-95008-000 | Главная форсунка (95) - Jet, Main (95) (Jet, main (#95) # Jet, main (#95); Opt dt9.9 ) (Jet, Main (95)) | | под заказ | 970 руб. |
| 20 | 09491-26016-000 | Главная форсунка (130) - Jet, Main (130) (Jet, main (#130) # Jet, main (#130); Opt dt15 ) (Jet, Main (130)) | | 5 шт | 1220 руб. |
| 20 | 09491-24026-000 | Главная форсунка (120) - Jet, Main (120) (Jet, main (#120); Opt dt15 ) (Jet, Main (120)) | | под заказ | 1460 руб. |
| 20 | 09491-22011-000 | Главная форсунка (112.5) - Jet, Main (1125) (Jet, main 112.5 # Jet, main (#112.5); Opt dt15 ) (Jet, Main (112.5)) | | под заказ | 680 руб. |
| 21 | 13631-93910-000 | Рычаг регулировки дросселя - Knob, Choke Lever (Knob, choke lever ) (Knob, Choke Lever) | | 2 шт | 720 руб. |
Время выполнения запроса 0.98339796066284 сек. |
|