УВАЖАЕМЫЕ КЛИЕНТЫ! C 19 ДЕКАБРЯ 2025 ПО 02 МАРТА 2026 ГОДА ОТДЕЛ ЗАПЧАСТЕЙ И СЕРВИС РАБОТАТЬ НЕ БУДУТ ПРОДАЖА ЛОДОЧНЫХ МОТОРОВ В ШТАТНОМ РЕЖИМЕ ОБ ИЗМЕНЕНИЯХ В ГРАФИКЕ РАБОТЫ ЧИТАЙТЕ НА САЙТА
Раздел:
Catalog preface - Каталог
Color chart - Таблица цветов
Cylinder - Цилиндр
Inlet case - reed valve - вход case - Язычковый клапан
Crankshaft - Коленвал
Carburetor - Карбюратор для Dt9.9
Carburetor - Карбюратор для Dt14
Carburetor - Карбюратор для Dt16
Exhaust cover - Кожух выхлопной трубы
Fuel pump - Топливный насос
Water pump - Водяной насос
Starter - Стартер
Starter - Стартер для Dt9.9y
Clutch lever - Рычаг сцепления
Magneto - Магнето для Model c
Magneto - Магнето для Model d
Magneto - Магнето для Model d e13
Electrical - Электрика для Model c
Electrical - Электрика для Model d
Clamp bracket - Кронштейн транца
Swivel bracket - Поворотный кронштейн
Drive shaft housing - Корпус вала передачи
Gear case - propeller - Картер коробки передач - Гребной винт
Transmission - Трансмиссия
Lower cover - Нижняя часть корпуса
Engine cover - Крышка двигателя (капот)
Handle - grip - Handle - Рукоятка для Model c
Handle - grip - Handle - Рукоятка для Model f
Cylinder - Цилиндр
Exhaust cover - Кожух выхлопной трубы
Crankshaft - Коленвал
Reed valve - Язычковый клапан
Carburetor - Карбюратор для Dt20
Carburetor - Карбюратор для Dt25
Fuel pump - Топливный насос
Water pump - Водяной насос
Recoil starter - Барабанный стартер
Clutch lever - Рычаг сцепления
Starting motor - Двигатель электростартера
Magneto 1 - Магнето 1
Magneto 2 - Магнето 2 для Dt20 d
Ignition - Ignition
Electrical 1 - Электрика 1
Electrical 2 - Электрика 2
Clamp bracket - Кронштейн транца
Swivel bracket - Поворотный кронштейн
Steering bracket - Кронштейн рулевого управления
Gear case - Картер коробки передач для Dt20
Gear case - Картер коробки передач для Dt25fe3
Transmission - Трансмиссия для Dt20
Transmission - Трансмиссия для Dt25fe3
Engine cover - Крышка двигателя (капот) для Dt20
Engine cover - Крышка двигателя (капот) для Dt28f
Handle - Handle для Model c
Handle - Handle для Model f
Fuel tank 1 - Топливный бак 1
Fuel tank 2 - Топливный бак 2
Fuel tank 3 - Топливный бак 3
Fuel tank 4 - Топливный бак 4
Fuel gauge - Fuel gauge
Fuel tank outlet - Топливный бак выход
Fuel hose - Топливный шланг
Tool assy & gasket set - Набор инструмента & Комплект прокладок для Opt
Rectifier set - Выпрямитель, установочный комплект для Optional; dt20
Electrical - Электрика для Optional; dt9.9
Electrical - Электрика для Optional; dt20
Electrical - Электрика для Optional; dt20
Electric starting kit - Electric starting kit для Optional; dt20c
Remote starting kit - Remote starting kit для Optional; dt20
Remote control - Дистанционное управление для Optional; dt9.9
Remote control - Дистанционное управление для Optional; dt20
Remote control - Дистанционное управление для Optional; dt20f
Optional - Опции
Вернуться к выбору узлов мотора
ДЕТАЛИРОВКА ДЛЯ МОДЕЛИ: SUZUKI DT16D D
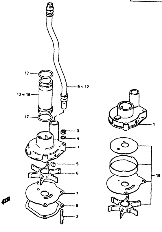
Водяной насос
Год выпуска двигателя: 1983
Регион: Japan
Номер на рисунке Артикул Наименование QTY Кол-во на складе Цена
1 17411-93000-000
под заказ 0 руб.
1 17411-93004-000 (актуальный код замены) Запчасть снята с производства - The Spare Part Is Laid Off
под заказ 0 руб.
1 17411-93001-000 (From 17411-93000, to 17411-93002 )
под заказ 0 руб.
1 17411-93004-000 (актуальный код замены) Запчасть снята с производства - The Spare Part Is Laid Off
под заказ 0 руб.
1 17411-93011-000 (Case, water pump (e9); To 17411-93012 )
под заказ 0 руб.
1 17411-93004-000 (актуальный код замены) Запчасть снята с производства - The Spare Part Is Laid Off
под заказ 0 руб.
2 09108-05003-000 (To 09108-05008 )
под заказ 0 руб.
2 09108-05008-000 (актуальный код замены) Запчасть снята с производства - The Spare Part Is Laid Off
под заказ 0 руб.
3 09140-05001-000 Гайка - Nut (Nut )
под заказ 220 руб.
3 09140-05005-000 (актуальный код замены) Гайка - Nut
10 шт 270 руб.
3 09140-05005-000 Гайка - Nut (Nut )
10 шт 270 руб.
4 09162-05002-000 Шайба с блокировкой - Washer, Lock (Lock washer # Lock washer; ) (Washer, Lock )
под заказ 130 руб.
5 09420-04004-000 Ключ - Key (Key )
под заказ 0 руб.
6 17461-93002-000 Крыльчатка водяного насоса - Impeller, Water Pump (From 17461-93001 ) (Impeller, Water Pump )
под заказ 0 руб.
6 17461-93004-000 (актуальный код замены) Запчасть снята с производства - The Spare Part Is Laid Off
под заказ 0 руб.
6 17461-93004-000 Крыльчатка водяного насоса - Impeller, Water Pump (Impeller, Water Pump )
под заказ 0 руб.
7 17471-93002-000 Панель в нижней части корпуса помпы - Panel, Pump Case Under (Panel, pump case lower # Panel, pump case lower; From 17471-93001 ) (Panel, Pump Case Under )
под заказ 0 руб.
8 17472-93000-000 Прокладка, Помпа Panel - Gasket, Pump Panel (Gasket, pump panel # Dt25, dt20 ) (Gasket, Pump Panel )
под заказ 0 руб.
8 17472-93400-000 Прокладка, Помпа Panel - Gasket, Pump Panel (Dt28f, dt25fe3 ) (Gasket, Pump Panel )
под заказ 0 руб.
8 17472-93460-000 (актуальный код замены) Запчасть снята с производства - The Spare Part Is Laid Off
под заказ 0 руб.
8 17472-93460-000 Прокладка, Помпа Panel - Gasket, Pump Panel (Gasket, Pump Panel )
под заказ 0 руб.
9 17561-93700-000 (S type, l:239 )
под заказ 0 руб.
10 17561-93000-000 (L type, l:358 )
под заказ 0 руб.
11 17561-93710-000 (Ll type, l:409 )
под заказ 0 руб.
12 17561-93720-000 (Ul type, l:478 )
под заказ 0 руб.
13 17431-93700-000 (S type, l:64 )
под заказ 0 руб.
13 17431-93701-000 (актуальный код замены) Запчасть снята с производства - The Spare Part Is Laid Off
под заказ 0 руб.
13 17431-93701-000 (S type, l:89 )
под заказ 0 руб.
14 17431-93000-000 (L type, l:183 )
под заказ 0 руб.
14 17431-93002-000 (актуальный код замены) Запчасть снята с производства - The Spare Part Is Laid Off
под заказ 0 руб.
14 17431-93001-000 (L type, l:208 )
под заказ 0 руб.
14 17431-93002-000 (актуальный код замены) Запчасть снята с производства - The Spare Part Is Laid Off
под заказ 0 руб.
15 17431-93710-000 (Tube, water pump seal; Ll type, l:234 )
под заказ 0 руб.
16 17431-93720-000 (Ul type, l:303 )
под заказ 0 руб.
17 09280-22005-000 Уплотнительное кольцо, выход - O Ring, Outlet (D:2.4, id:21.8 ) (O Ring, Outlet )
под заказ 310 руб.
17 13295-09210-000 (актуальный код замены) Уплотнительное кольцо, выход - O Ring, Outlet
под заказ 310 руб.
17 13295-09210-000 Уплотнительное кольцо, выход - O Ring, Outlet (O ring, water pump seal ) (O Ring, Outlet )
под заказ 310 руб.
18 17400-93841-000 (E9 )
под заказ 0 руб.
18 17400-93000-000 (актуальный код замены) Запчасть снята с производства - The Spare Part Is Laid Off
под заказ 0 руб.
Время выполнения запроса 1.1966109275818 сек.