| |
 |
|
 |
Вернуться к выбору узлов мотора
ДЕТАЛИРОВКА ДЛЯ МОДЕЛИ: SUZUKI DT16PG(G/J/VZ) G
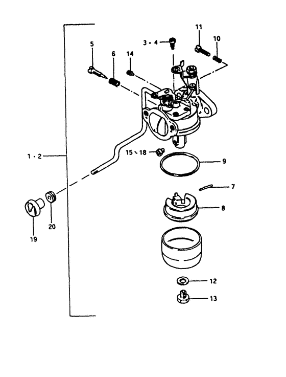
Карбюратор
Год выпуска двигателя: 1986
Регион: Japan
Номер на рисунке | Артикул | Наименование | QTY | Кол-во на складе | Цена |
| 1 | 13200-93522-000 | (Stamp:93522, model vz) | | под заказ | 0 руб. |
| 2 | 13200-93501-000 | (Stamp:93501, model g, j) | | под заказ | 0 руб. |
| 2 | 13200-93502-000 | (актуальный код замены) Запчасть снята с производства - The Spare Part Is Laid Off | | под заказ | 0 руб. |
| 2 | 13200-93502-000 | (Stamp:93502, model vz) | | под заказ | 0 руб. |
| 3 | 09492-55008-000 | Контрольная форсунка (55) - Jet, Pilot (55) (Dt9.9) (Jet, Pilot (55)) | | под заказ | 960 руб. |
| 3 | 09492-55009-000 | (актуальный код замены) Контрольная форсунка (55) - Jet, Pilot (55) | | под заказ | 960 руб. |
| 3 | 09492-55009-000 | Контрольная форсунка (55) - Jet, Pilot (55) (Jet, pilot (#55) ) (Jet, Pilot (55)) | | под заказ | 960 руб. |
| 4 | 09492-57003-000 | Контрольная форсунка (57.5) - Jet, Pilot (575) (Jet, pilot (#57.5) # Jet, pilot (57.5); Dt16 ) (Jet, Pilot (57.5)) | | 7 шт | 960 руб. |
| 5 | 13269-98100-000 | Винт контроля воздуха - Screw, Pilot Air (Screw, pilot # Screw, pilot; ) (Screw, Pilot Air) | | под заказ | 620 руб. |
| 6 | 13268-96111-000 | Пружина, Дроссель Винт - Spring, Throttle Screw (Spring, throttle screw # Model g, j ) (Spring, Throttle Screw) | | под заказ | 350 руб. |
| 6 | 13268-93520-000 | Пружина, Дроссель Винт - Spring, Throttle Screw (Model vz) (Spring, Throttle Screw) | | под заказ | 350 руб. |
| 6 | 13268-96111-000 | (актуальный код замены) Пружина, Дроссель Винт - Spring, Throttle Screw | | под заказ | 350 руб. |
| 6 | 13268-96111-000 | Пружина, Дроссель Винт - Spring, Throttle Screw (Spring, throttle screw ) (Spring, Throttle Screw) | | под заказ | 350 руб. |
| 7 | 13254-98100-000 | Стопор поплавка - Pin, Float (Pin, float ) (Pin, Float) | | под заказ | 280 руб. |
| 8 | 13250-98100-000 | Поплавок - Float (Model g, j, to 13250-98110) (Float) | | под заказ | 1800 руб. |
| 8 | 13250-98110-000 | (актуальный код замены) Поплавок - Float | | под заказ | 1800 руб. |
| 8 | 13250-98110-000 | Поплавок - Float (Float) | | под заказ | 1800 руб. |
| 8 | 13250-98110-000 | Поплавок - Float (Model vz ) (Float) | | под заказ | 1800 руб. |
| 9 | 13251-98100-000 | Прокладка поплавковой камеры - Gasket, Float Cahmber (Gasket, float chamber ) (Gasket, Float Cahmber) | | 16 шт | 480 руб. |
| 10 | 13268-96110-000 | Пружина, Дроссель Винт - Spring, Throttle Screw (Spring, Throttle Screw) | | под заказ | 350 руб. |
| 10 | 13268-96111-000 | (актуальный код замены) Пружина, Дроссель Винт - Spring, Throttle Screw | | под заказ | 350 руб. |
| 10 | 13268-96111-000 | Пружина, Дроссель Винт - Spring, Throttle Screw (Spring, throttle screw ) (Spring, Throttle Screw) | | под заказ | 350 руб. |
| 11 | 13267-98100-000 | Винт - Screw (Screw) | | под заказ | 320 руб. |
| 11 | 13267-93900-000 | (актуальный код замены) Винт - Screw | | под заказ | 320 руб. |
| 11 | 13267-93900-000 | Винт - Screw (Screw, throttle ) (Screw) | | под заказ | 320 руб. |
| 12 | 13343-98100-000 | Прокладка - Gasket (Gasket # Packing; ) (Gasket) | | под заказ | 220 руб. |
| 13 | 13613-98100-000 | Болт - Bolt (Bolt ) (Bolt) | | под заказ | 410 руб. |
| 14 | 09493-24007-000 | Воздушная форсунка (1.2) - Jet, Air (12) (Jet, air (1.2) ) (Jet, Air (1.2)) | | под заказ | 1150 руб. |
| 15 | 09491-92003-000 | (Dt9.9) | | под заказ | 0 руб. |
| 16 | 09491-23015-000 | Главная форсунка, 117.5 - Jet, Main, 1175 (Jet, main (117.5) # Dt16 ) (Jet, Main, 117.5) | | под заказ | 1220 руб. |
| 17 | 09491-82005-000 | Главная форсунка - Jet, Main (Dt9.9, opt) (Jet, Main) | | под заказ | 0 руб. |
| 17 | 09491-82003-000 | (актуальный код замены) Запчасть снята с производства - The Spare Part Is Laid Off | | под заказ | 0 руб. |
| 17 | 09491-82003-000 | Главная форсунка - Jet, Main (Jet, main (#82.5) ) (Jet, Main) | | под заказ | 0 руб. |
| 17 | 09491-87002-000 | Главная форсунка (87.5) - Jet, Main (875) (Dt9.9, opt) (Jet, Main (87.5)) | | под заказ | 890 руб. |
| 17 | 09491-87004-000 | (актуальный код замены) Главная форсунка (87.5) - Jet, Main (87.5) | | под заказ | 890 руб. |
| 17 | 09491-87004-000 | Главная форсунка (87.5) - Jet, Main (875) (Jet, main (#87.5) ) (Jet, Main (87.5)) | | под заказ | 890 руб. |
| 17 | 09491-97002-000 | Главная форсунка (97.5) - Jet, Main (975) (Dt9.9, opt) (Jet, Main (97.5)) | | под заказ | 1630 руб. |
| 17 | 09491-97004-000 | (актуальный код замены) Главная форсунка (97.5) - Jet, Main (97.5) | | под заказ | 1630 руб. |
| 17 | 09491-97004-000 | Главная форсунка (97.5) - Jet, Main (975) (Jet, main (#97.5) ) (Jet, Main (97.5)) | | под заказ | 1630 руб. |
| 18 | 09491-21011-000 | Главная форсунка (107.5) - Jet, Main (1075) (Dt16, opt) (Jet, Main (107.5)) | | под заказ | 0 руб. |
| 18 | 09491-21020-000 | (актуальный код замены) Sвышеply Moved From Suzuki To Overseas Factory - Supply Moved From Suzuki To Overseas Factory | | под заказ | 0 руб. |
| 18 | 09491-21019-000 | Главная форсунка (107.5) - Jet, Main (1075) (Jet, main (#107.5) ) (Jet, Main (107.5)) | | под заказ | 1040 руб. |
| 18 | 09491-22011-000 | Главная форсунка (112.5) - Jet, Main (1125) (Jet, main 112.5 # Jet, main (112.5); Dt16, opt ) (Jet, Main (112.5)) | | под заказ | 680 руб. |
| 18 | 09491-24015-000 | Главная форсунка (122.5) - Jet, Main (1225) (Dt16, opt) (Jet, Main (122.5)) | | под заказ | 1460 руб. |
| 18 | 09491-24023-000 | (актуальный код замены) Главная форсунка (122.5) - Jet, Main (122.5) | | под заказ | 1460 руб. |
| 18 | 09491-24023-000 | Главная форсунка (122.5) - Jet, Main (1225) (Jet, Main (122.5)) | | под заказ | 1460 руб. |
| 19 | 13631-93500-000 | Рукоятка стартера - Knob, Starter (Knob, Starter) | | под заказ | 460 руб. |
| 19 | 13631-93501-000 | (актуальный код замены) Рукоятка стартера - Knob, Starter | | 2 шт | 460 руб. |
| 19 | 13631-93501-000 | Рукоятка стартера - Knob, Starter (Knob, Starter) | | 2 шт | 460 руб. |
| 20 | 09305-04003-000 | Втулка - Bush (Bush) | | под заказ | 160 руб. |
| 20 | 09320-04013-000 | (актуальный код замены) Подушка, Muf Cov - Cushion, Muf Cov | | под заказ | 160 руб. |
| 20 | 09320-04009-000 | Втулка - Bush (Bush) | | под заказ | 160 руб. |
| 20 | 09320-04013-000 | (актуальный код замены) Подушка, Muf Cov - Cushion, Muf Cov | | под заказ | 160 руб. |
Время выполнения запроса 1.9702608585358 сек. |
|