Найти запчасти на подвесной лодочный мотор Сузуки модель 1978 года - Кронштейн рулевого управления
вконтакте

Контактный телефон: +7 (981) 121-46-93, +7 (800) 200-90-76 , Email: parts-katalog@yandex.ru, где купить

 
 

  Логин:

Пароль:

Регистрация

www.partskatalog.ru Все каталоги Запчасти Mercury Запчасти Suzuki Запчасти Tohatsu Запчасти Honda Контакты



УВАЖАЕМЫЕ КЛИЕНТЫ!
C 19 ДЕКАБРЯ 2025 ПО 02 МАРТА 2026 ГОДА ОТДЕЛ ЗАПЧАСТЕЙ И СЕРВИС РАБОТАТЬ НЕ БУДУТ
ПРОДАЖА ЛОДОЧНЫХ МОТОРОВ В ШТАТНОМ РЕЖИМЕ
ОБ ИЗМЕНЕНИЯХ В ГРАФИКЕ РАБОТЫ ЧИТАЙТЕ НА САЙТА



назад Раздел:   вперёд

Вернуться к выбору узлов мотора


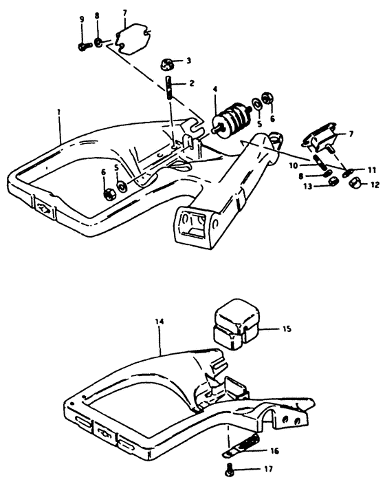
ДЕТАЛИРОВКА ДЛЯ МОДЕЛИ: SUZUKI DT20C C

Кронштейн рулевого управления


Год выпуска двигателя: 1978

Регион: General Export No.1 ,Код региона: P01

Номер на
рисунке
АртикулНаименованиеQTYКол-во
на складе
Цена
143750-93300-01J

(To 43750-93301-01j)

под заказ0 руб.
143750-93301-01J

   (актуальный код замены) Запчасть снята с производства - The Spare Part Is Laid Off

под заказ0 руб.
143750-93301-01J

(Dt25d-10583~)

под заказ0 руб.
209108-08039-000

(Stud bolt (8x25);)

под заказ0 руб.
309159-08019-000

Гайка - Nut (To 08316-16088) (Nut)

под заказ170 руб.
308316-10087-000

   (актуальный код замены) Гайка - Nut

14 шт170 руб.
308316-10087-000

Гайка - Nut (Nut)

14 шт170 руб.
308316-16088-000

Гайка - Nut (Nut)

под заказ170 руб.
308316-10087-000

   (актуальный код замены) Гайка - Nut

14 шт170 руб.
308316-10087-000

Гайка - Nut (Nut)

14 шт170 руб.
454120-93300-000

(S, l & ll type, to 54120-93302)

под заказнет сведений
454120-93303-000

Креплениеing, вышеr Thrust - Mounting, Upr Thrust (Mounting, Upr Thrust)

под заказ0 руб.
454120-93301-000

Креплениеing, вышеr Thrust - Mounting, Upr Thrust (Ul type, to 54120-93302) (Mounting, Upr Thrust)

под заказ0 руб.
454120-93303-000

   (актуальный код замены) Запчасть снята с производства - The Spare Part Is Laid Off

под заказ0 руб.
454120-93303-000

Креплениеing, вышеr Thrust - Mounting, Upr Thrust (Mounting, Upr Thrust)

под заказ0 руб.
509160-08015-000

Шайба (8.5x16x1.2) - Washer (85x16x12) (Washer (8.5x16x1.2))

под заказ120 руб.
509160-08082-000

   (актуальный код замены) Шайба (8.5x16x1.2) - Washer (8.5x16x1.2)

13 шт120 руб.
509160-08082-000

Шайба (8.5x16x1.2) - Washer (85x16x12) (Washer (8.5x16x1.2))

13 шт120 руб.
609140-08003-000

Гайка - Nut (Nut)

под заказ190 руб.
609140-08016-000

   (актуальный код замены) Гайка - Nut

под заказ190 руб.
609140-08023-XC0

Гайка - Nut (Nut)

14 шт190 руб.
754130-93300-000

(~dt25d-12543, to 54130-93301)

под заказнет сведений
754130-93402-000

Креплениеing, вышеr - Mounting, Upr (Mounting, upper ) (Mounting, Upr)

под заказ5480 руб.
754130-93301-000

Креплениеing, вышеr - Mounting, Upr (To 54130-93402) (Mounting, Upr)

под заказ5480 руб.
754130-93402-000

   (актуальный код замены) Креплениеing, вышеr - Mounting, Upr

под заказ5480 руб.
754130-93402-000

Креплениеing, вышеr - Mounting, Upr (Mounting, upper ) (Mounting, Upr)

под заказ5480 руб.
754130-93402-000

Креплениеing, вышеr - Mounting, Upr (Mounting, upper # Mounting, upper; ) (Mounting, Upr)

под заказ5480 руб.
809160-06015-000

Шайба (6.5x13x1.0) - Washer (65x13x10) (Washer (6.5x13x1.0))

под заказ120 руб.
809160-06082-000

   (актуальный код замены) Шайба (6.5x13x1.0) - Washer (6.5x13x1.0)

7 шт150 руб.
809160-06082-000

Шайба (6.5x13x1.0) - Washer (65x13x10) (Washer (6.5x13x1.0))

7 шт150 руб.
909100-06019-000

Болт - Bolt (Bolt)

под заказ180 руб.
901550-06167-000

   (актуальный код замены) Болт - Bolt

9 шт210 руб.
901550-06167-000

Болт - Bolt (Bolt)

9 шт210 руб.
1009108-06022-000

Болт под шпильку - Bolt, Stud (Bolt, Stud)

под заказ180 руб.
1009108-06062-000

   (актуальный код замены) Болт под шпильку - Bolt, Stud

под заказ180 руб.
1009108-06062-000

Болт под шпильку - Bolt, Stud (Stud bolt (6x12) ) (Bolt, Stud)

под заказ180 руб.
1109160-08015-000

Шайба (8.5x16x1.2) - Washer (85x16x12) (Washer (8.5x16x1.2))

под заказ120 руб.
1109160-08082-000

   (актуальный код замены) Шайба (8.5x16x1.2) - Washer (8.5x16x1.2)

13 шт120 руб.
1109160-08082-000

Шайба (8.5x16x1.2) - Washer (85x16x12) (Washer (8.5x16x1.2))

13 шт120 руб.
1209145-08002-000

под заказ0 руб.
1309140-06004-000

Гайка - Nut (Nut)

под заказ150 руб.
1309140-06020-000

   (актуальный код замены) Гайка - Nut

9 шт150 руб.
1309140-06020-000

Гайка - Nut (Nut)

9 шт150 руб.
1443751-93410-01J

под заказ0 руб.
1554120-93400-000

под заказ0 руб.
1609404-06415-000

Струбцина (l: 80) - Clamp (l:80) (Clamp (l:80))

под заказ230 руб.
1609404-06436-000

   (актуальный код замены) Струбцина (l: 80) - Clamp (l:80)

под заказ230 руб.
1609404-06433-000

Струбцина (l: 80) - Clamp (l:80) (Clamp (l:80) ) (Clamp (l:80))

под заказ230 руб.
1609404-06436-000

   (актуальный код замены) Струбцина (l: 80) - Clamp (l:80)

под заказ230 руб.
1709125-05028-000

Винт (5x12) - Screw (5x12) (Screw (5x12))

под заказ150 руб.
1709125-05046-000

   (актуальный код замены) Винт (5x12) - Screw (5x12)

под заказ150 руб.
1709125-05046-000

Винт (5x12) - Screw (5x12) (Screw (5x12) ) (Screw (5x12))

под заказ150 руб.


Время выполнения запроса 2.1178660392761 сек.

 
 

данный сайт носит информационный характер и не является публичной офертой

склад запчастей для водомоторной техники