УВАЖАЕМЫЕ КЛИЕНТЫ! C 19 ДЕКАБРЯ 2025 ПО 02 МАРТА 2026 ГОДА ОТДЕЛ ЗАПЧАСТЕЙ И СЕРВИС РАБОТАТЬ НЕ БУДУТ ПРОДАЖА ЛОДОЧНЫХ МОТОРОВ В ШТАТНОМ РЕЖИМЕ ОБ ИЗМЕНЕНИЯХ В ГРАФИКЕ РАБОТЫ ЧИТАЙТЕ НА САЙТА
Раздел:
Catalog preface - Каталог
Cylinder - Цилиндр
Exhaust cover - Кожух выхлопной трубы
Crankshaft - Коленвал
Reed valve - Язычковый клапан
Carburetor - Карбюратор
Fuel pump - Топливный насос
Water pump - Водяной насос
Starter - Стартер для Ge9
Starting motor - Двигатель электростартера
Magneto - Магнето
Electrical - Электрика
Electrical - Электрика
Electrical - Электрика
Clutch - Сцепление
Clamp bracket - Кронштейн транца
Swivel bracket - Поворотный кронштейн
Steering bracket - Кронштейн рулевого управления
Driveshaft housing - Корпус вала передачи
Gear case - Картер коробки передач
Gear case - Картер коробки передач для Pg
Transmission - Трансмиссия
Transmission - Трансмиссия для Pg
Lower cover - Нижняя часть корпуса
Engine cover - Крышка двигателя (капот)
Handle - Handle
Fuel hose - Топливный шланг
Fuel gauge - Fuel gauge
Fuel tank - Топливный бак
Fuel tank - Топливный бак для Pge28
Electrical - Электрика для Optional;
Electrical - Электрика для Optional;
Electrical - Электрика для Optional;
Electrical - Электрика для Optional;
Electrical / bar extension - Электрика / bar Удлинитель для Optional;
Remote control - Дистанционное управление для Optional;
Remote control - Дистанционное управление для Optional;
Optional - Опции
Вернуться к выбору узлов мотора
ДЕТАЛИРОВКА ДЛЯ МОДЕЛИ: SUZUKI DT20PVZ(G/J/VZ) Z
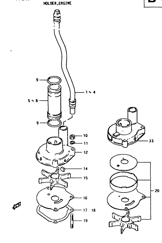
Водяной насос
Год выпуска двигателя: 1982
Регион: General Export No.1 ,Код региона: P01
Номер на рисунке Артикул Наименование QTY Кол-во на складе Цена
1 17561-93700-000 (Tube, water (s type l:239); )
под заказ 0 руб.
2 17561-93000-000 (Tube, water (l type l:358); )
под заказ 0 руб.
3 17561-93710-000
под заказ 0 руб.
4 17561-93720-000
под заказ 0 руб.
5 17431-93701-000
под заказ 0 руб.
6 17431-93001-000
под заказ 0 руб.
6 17431-93002-000 (актуальный код замены) Запчасть снята с производства - The Spare Part Is Laid Off
под заказ 0 руб.
7 17431-93710-000 (Tube, seal (ll type l:234); )
под заказ 0 руб.
8 17431-93720-000
под заказ 0 руб.
9 09280-22005-000 Уплотнительное кольцо, выход - O Ring, Outlet (D:2.4, id:21.8, to 13295-09210 ) (O Ring, Outlet )
под заказ 310 руб.
9 13295-09210-000 (актуальный код замены) Уплотнительное кольцо, выход - O Ring, Outlet
под заказ 310 руб.
9 13295-09210-000 Уплотнительное кольцо, выход - O Ring, Outlet (O ring, water pump seal ) (O Ring, Outlet )
под заказ 310 руб.
9 13295-09210-000 Уплотнительное кольцо, выход - O Ring, Outlet (O ring, water pump seal # O ring, seat tube; ) (O Ring, Outlet )
под заказ 310 руб.
10 09140-05001-000 Гайка - Nut (Nut )
под заказ 220 руб.
10 09140-05005-000 (актуальный код замены) Гайка - Nut
10 шт 270 руб.
10 09140-05005-000 Гайка - Nut (Nut )
10 шт 270 руб.
11 09162-05002-000 Шайба с блокировкой - Washer, Lock (Lock washer # Lock washer ~2002-001520); ) (Washer, Lock )
под заказ 130 руб.
12 17411-93003-000 (From 17411-93002, to 17411-93004 )
под заказ 0 руб.
12 17411-93004-000 (актуальный код замены) Запчасть снята с производства - The Spare Part Is Laid Off
под заказ 0 руб.
12 17411-93004-000
под заказ 0 руб.
13 17411-93011-000 (E9, to 17411-93012 )
под заказ 0 руб.
13 17411-93004-000 (актуальный код замены) Запчасть снята с производства - The Spare Part Is Laid Off
под заказ 0 руб.
13 17411-93012-000 (E9 )
под заказ 0 руб.
13 17411-93004-000 (актуальный код замены) Запчасть снята с производства - The Spare Part Is Laid Off
под заказ 0 руб.
14 09420-04004-000 Ключ - Key (Key )
под заказ 0 руб.
15 17461-93001-000 Крыльчатка водяного насоса - Impeller, Water Pump (Impeller, Water Pump )
под заказ 0 руб.
15 17461-93004-000 (актуальный код замены) Запчасть снята с производства - The Spare Part Is Laid Off
под заказ 0 руб.
15 17461-93004-000 Крыльчатка водяного насоса - Impeller, Water Pump (Impeller, Water Pump )
под заказ 0 руб.
15 17461-93002-000 Крыльчатка водяного насоса - Impeller, Water Pump (From 17461-93001, to 17461-93003 ) (Impeller, Water Pump )
под заказ 0 руб.
15 17461-93004-000 (актуальный код замены) Запчасть снята с производства - The Spare Part Is Laid Off
под заказ 0 руб.
15 17461-93004-000 Крыльчатка водяного насоса - Impeller, Water Pump (Impeller, Water Pump )
под заказ 0 руб.
15 17461-93003-000 Крыльчатка водяного насоса - Impeller, Water Pump (Impeller, Water Pump )
под заказ 0 руб.
15 17461-93004-000 (актуальный код замены) Запчасть снята с производства - The Spare Part Is Laid Off
под заказ 0 руб.
15 17461-93004-000 Крыльчатка водяного насоса - Impeller, Water Pump (Impeller, Water Pump )
под заказ 0 руб.
16 17471-93002-000 Панель в нижней части корпуса помпы - Panel, Pump Case Under (Panel, pump case lower # Panel, pump case lower; From 17471-93001 ) (Panel, Pump Case Under )
под заказ 0 руб.
17 17472-93000-000 Прокладка, Помпа Panel - Gasket, Pump Panel (Gasket, pump panel # Model g ) (Gasket, Pump Panel )
под заказ 0 руб.
18 17472-93400-000 Прокладка, Помпа Panel - Gasket, Pump Panel (Model p (g, j, vz) ) (Gasket, Pump Panel )
под заказ 0 руб.
18 17472-93460-000 (актуальный код замены) Запчасть снята с производства - The Spare Part Is Laid Off
под заказ 0 руб.
18 17472-93460-000 Прокладка, Помпа Panel - Gasket, Pump Panel (Gasket, Pump Panel )
под заказ 0 руб.
19 09108-05008-000
под заказ 0 руб.
20 17400-93840-000 (E9, to 17400-93841 )
под заказ 0 руб.
20 17400-93000-000 (актуальный код замены) Запчасть снята с производства - The Spare Part Is Laid Off
под заказ 0 руб.
20 17400-93841-000 (E9, to 17400-93842 )
под заказ 0 руб.
20 17400-93000-000 (актуальный код замены) Запчасть снята с производства - The Spare Part Is Laid Off
под заказ 0 руб.
20 17400-93000-000 (Water pump repair kit # Water pump repair kit; E9, from 17400-93842 )
под заказ 0 руб.
Время выполнения запроса 2.7394509315491 сек.