Подобрать оригинальные запчасти на лодочный мотор SUZUKI модель 1984 года - Exhaust tube / Выхлоп Трубка
вконтакте

Контактный телефон: +7 (981) 121-46-93, +7 (800) 200-90-76 , Email: parts-katalog@yandex.ru, где купить

 
 

  Логин:

Пароль:

Регистрация

www.partskatalog.ru Все каталоги Запчасти Mercury Запчасти Suzuki Запчасти Tohatsu Запчасти Honda Контакты

назад Раздел:   вперёд

Вернуться к выбору узлов мотора


ДЕТАЛИРОВКА ДЛЯ МОДЕЛИ: SUZUKI DT20RVE(VF) E

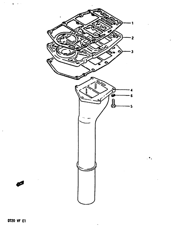
Выхлоп Трубка


Год выпуска двигателя: 1984

Номер на
рисунке
АртикулНаименованиеQTYКол-во
на складе
Цена
111433-96302-000

Прокладка нижнего сальника - Gasket, Under Oil Seal (Gasket, Under Oil Seal)

под заказ1960 руб.
111433-96330-000

   (актуальный код замены) Прокладка нижнего сальника - Gasket, Under Oil Seal

15 шт4580 руб.
1SM-11433-96330-000

   (не оригинальный аналог) Прокладка SM-11433-96330-000 нижнего сальника

под заказ500 руб.
1SC-GS175

   (не оригинальный аналог) Прокладка дейдвуда Suzuki SC-GS175

под заказ1060 руб.
111433-91L00-000

Прокладка нижнего сальника - Gasket, Under Oil Seal (Gasket, Under Oil Seal)

под заказ1960 руб.
111433-96330-000

   (актуальный код замены) Прокладка нижнего сальника - Gasket, Under Oil Seal

15 шт4580 руб.
211431-96304-000

Корпус нижнего сальника - Housing, Under Oil Seal (Housing, Under Oil Seal)

под заказ5520 руб.
211431-91L00-000

   (актуальный код замены) Корпус нижнего сальника - Housing, Under Oil Seal

под заказ5520 руб.
211431-91L00-000

Корпус нижнего сальника - Housing, Under Oil Seal (Housing, Under Oil Seal)

под заказ5520 руб.
352113-96303-000

Прокладка корпуса вала передачи - Gasket, Drive Shaft Housing (Gasket, Drive Shaft Housing)

под заказ6150 руб.
352113-96321-000

   (актуальный код замены) Прокладка корпуса вала передачи - Gasket, Drive Shaft Housing

15 шт6150 руб.
352113-96321-000

Прокладка корпуса вала передачи - Gasket, Drive Shaft Housing (Gasket, Drive Shaft Housing)

15 шт6150 руб.
414211-96302-000

Выхлопная труба (l: 280) - Tube, Exhaust (l:280) (Tube, exhaust (s);) (Tube, Exhaust (l:280))

под заказ18680 руб.
414211-96333-000

   (актуальный код замены) Выхлопная труба (l: 280) - Tube, Exhaust (l:280)

под заказ18680 руб.
414211-96333-000

Выхлопная труба (l: 280) - Tube, Exhaust (l:280) (Tube, exhaust (s) ) (Tube, Exhaust (l:280))

под заказ18680 руб.
414211-96320-000

Выхлопная труба - Tube, Exhaust (Tube, exhaust (l);) (Tube, Exhaust)

под заказ0 руб.
414211-96352-000

   (актуальный код замены) Запчасть снята с производства - The Spare Part Is Laid Off

под заказ0 руб.
414211-96352-000

Выхлопная труба - Tube, Exhaust (Tube, exhaust (l/ll/ul) ) (Tube, Exhaust)

под заказ0 руб.
509100-06117-000

Болт (6x35) - Bolt (6x35) (Bolt (6x35);) (Bolt (6x35))

под заказ0 руб.
509117-06037-XC0

   (актуальный код замены) Запчасть снята с производства - The Spare Part Is Laid Off

под заказ0 руб.
509117-06037-XC0

Болт (6x35) - Bolt (6x35) (Bolt (6x35))

под заказ0 руб.
609162-06001-000

Шайба с блокировкой - Washer, Lock (Washer, Lock)

под заказ160 руб.
609162-06006-000

   (актуальный код замены) Шайба с блокировкой - Washer, Lock

под заказ160 руб.
609162-06006-000

Шайба с блокировкой - Washer, Lock (Lock washer ) (Washer, Lock)

под заказ160 руб.


Время выполнения запроса 1.1811499595642 сек.

 
 

данный сайт носит информационный характер и не является публичной офертой

склад запчастей для водомоторной техники