Номер на рисунке | Артикул | Наименование | QTY | Кол-во на складе | Цена |
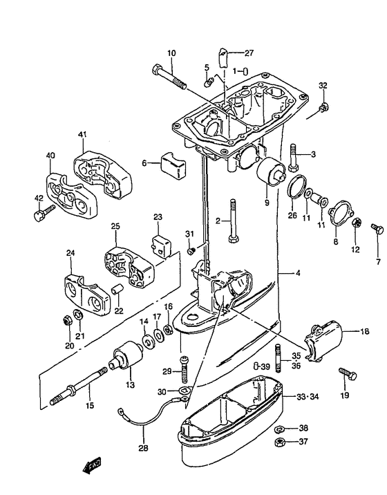
| 1 | 09202-06015-000 | Штифт (6x20) - Pin (6x20) (Knock pin # Pin (l:20); ) (Pin (6x20)) | | 12 шт | 220 руб. |
| 1 | 09202-06023-000 | Штифт (6x10) - Pin (6x10) (Pin (l:10); Dt20:581008~, dt25:581908~, dt30:581873- ) (Pin (6x10)) | | 6 шт | 290 руб. |
| 2 | 09118-08098-000 | Болт (8x85) - Bolt (8x85) (Bolt (8x85);) (Bolt (8x85)) | | под заказ | 570 руб. |
| 2 | 09118-08172-000 | (актуальный код замены) Болт (8x85) - Bolt (8x85) | | под заказ | 570 руб. |
| 2 | 09118-08172-000 | Болт (8x85) - Bolt (8x85) (Bolt (8x85)) | | под заказ | 570 руб. |
| 3 | 09118-08090-000 | Болт (8x52) - Bolt (8x52) (Bolt (8x50) # Bolt (8x50); ) (Bolt (8x52)) | | под заказ | 670 руб. |
| 4 | 52111-96321-02M | (Dt20:-604319, dt25:-614534, dt25k:-602995, dt30:-617392) | | под заказ | нет сведений |
| 4 | 52117-94400-000 | Трубка контрольной струи - Tube, Water Inspection (Tube, Water Inspection) | | под заказ | 330 руб. |
| 4 | 52111-96322-02M | (Dt20:604320-705873, dt25:614535-720217, dt25k:602996-703086, dt30:617393-722027) | | под заказ | 0 руб. |
| 4 | 52111-96342-0ED | Корпус вала передачи (s) (gray) - Housing, Drive Shaft (s) (gray) (Housing, drive shaft (s); Dt20:705874~, dt25:720218~, dt25k:703087~, dt30:722028~, ) (Housing, Drive Shaft (s) (gray)) | | под заказ | 0 руб. |
| 4 | 52110-96360-0ED | Корпус вала передачи (s) (gray) - Housing, Drive Shaft (s) (gray) (Housing, drive shaft (s); Model:98-00) (Housing, Drive Shaft (s) (gray)) | | под заказ | 0 руб. |
| 4 | 52110-96361-0ED | (актуальный код замены) Запчасть снята с производства - The Spare Part Is Laid Off | | под заказ | 0 руб. |
| 4 | 52110-96361-0ED | Корпус вала передачи (s) (gray) - Housing, Drive Shaft (s) (gray) (Housing, Drive Shaft (s) (gray)) | | под заказ | 0 руб. |
| 4 | 52111-96330-02M | (Dt20:-604319, dt25:-614534, dt25k:-602995, dt30:-617392) | | под заказ | нет сведений |
| 4 | 52117-94400-000 | Трубка контрольной струи - Tube, Water Inspection (Tube, Water Inspection) | | под заказ | 330 руб. |
| 4 | 52125-96300-000 | Втулка, Drain Hole №2 - Bush, Drain Hole No2 (Bush, drive housing no.2 ) (Bush, Drain Hole No.2) | | под заказ | 420 руб. |
| 4 | 52111-96331-02M | (Dt20:604320-705873, dt25:614535-720217, dt25k:602996-703086, dt30:617393-722027) | | под заказ | нет сведений |
| 4 | 52125-96300-000 | Втулка, Drain Hole №2 - Bush, Drain Hole No2 (Bush, drive housing no.2 ) (Bush, Drain Hole No.2) | | под заказ | 420 руб. |
| 4 | 52111-96352-0ED | (Housing, drive shaft (l/ll/ul); Dt20:705874~, dt25:720218~, dt25k:703087~, dt30:722028~) | | под заказ | 0 руб. |
| 4 | 52110-96370-0ED | Корпус вала передачи (l) (gray) - Housing, Drive Shaft (l) (gray) (Housing, drive shaft (l/ll/ul); Model:98-00) (Housing, Drive Shaft (l) (gray)) | | под заказ | 56160 руб. |
| 4 | 52110-96371-0ED | (актуальный код замены) Корпус вала передачи (l) (gray) - Housing, Drive Shaft (l) (gray) | | под заказ | 56160 руб. |
| 4 | 52110-96371-0ED | Корпус вала передачи (l) (gray) - Housing, Drive Shaft (l) (gray) (Housing, Drive Shaft (l) (gray)) | | под заказ | 56160 руб. |
| 5 | 52117-94400-000 | Трубка контрольной струи - Tube, Water Inspection (Tube, water inspection; Dt20:604320~, dt25:614535~, dt25k:602958~, dt30:617068~, -model:97 ) (Tube, Water Inspection) | | под заказ | 330 руб. |
| 6 | 54121-96301-000 | Крепление верхнего упора Reverse - Mount, Upr Thrust Reverse (Mounting, upper thrust reverse ) (Mount, Upr Thrust Reverse) | | под заказ | 710 руб. |
| 7 | 09117-06030-000 | Болт (6x16) - Bolt (6x16) (Bolt (6x16) # Bolt (6x16); ) (Bolt (6x16)) | | под заказ | 220 руб. |
| 8 | 54137-96301-0ED | | | под заказ | 0 руб. |
| 9 | 54130-96320-000 | Крепление, вышеr - Mount, Upr (Mounting, upper ) (Mount, Upr) | | под заказ | 3220 руб. |
| 10 | 09100-10260-000 | Болт (10x75) - Bolt (10x75) (Bolt (10x75) # Bolt (10x75); ) (Bolt (10x75)) | | под заказ | 1380 руб. |
| 11 | 09160-10082-000 | Шайба (10.5x19x2) - Washer (105x19x2) (Washer # Washer (10.5x19x2); ) (Washer (10.5x19x2)) | | 19 шт | 120 руб. |
| 12 | 09159-10050-000 | Гайка - Nut (Nut) | | 8 шт | 250 руб. |
| 13 | 54160-96310-000 | Крепление, Lwr - Mount, Lwr (Mounting, lower (s/l) # Mounting, lower (s/l); ) (Mount, Lwr) | | под заказ | 4180 руб. |
| 13 | 54160-96320-000 | Крепление, Lwr (ll / x) - Mount, Lwr (ll/x) (Mounting, lower (ll/ul) ) (Mount, Lwr (ll/x)) | | под заказ | 0 руб. |
| 14 | 54165-96310-000 | Демпфер, Стопор - Damper, Stopper (Damper, reverse stopper ) (Damper, Stopper) | | под заказ | 410 руб. |
| 14 | 54165-96311-000 | (актуальный код замены) Демфер обратного стопора - Damper, Reverse Stopper | | под заказ | 410 руб. |
| 15 | 54166-96310-000 | Болт, Lwr Крепление - Bolt, Lwr Mount (Bolt, Lwr Mount) | | под заказ | 3870 руб. |
| 15 | 54166-96311-000 | (актуальный код замены) Болт, Lwr Крепление - Bolt, Lwr Mount | | под заказ | 3870 руб. |
| 15 | 54166-96311-000 | Болт, Lwr Крепление - Bolt, Lwr Mount (Bolt, Lwr Mount) | | под заказ | 3870 руб. |
| 16 | 09140-10032-000 | Гайка - Nut (Nut) | | 10 шт | 160 руб. |
| 17 | 09160-10083-000 | Шайба (10.5x30x3.2) - Washer (105x30x32) (Washer (10.5x30x3.2) # Washer (10.5x30x3.2); ) (Washer (10.5x30x3.2)) | | под заказ | 230 руб. |
| 18 | 54221-96301-0ED | | | под заказ | 0 руб. |
| 18 | 54221-96320-0ED | Крышка, Lwr Крепление - Cover, Lwr Mount (Model:98-00) (Cover, Lwr Mount) | | под заказ | 0 руб. |
| 18 | 54221-96321-0ED | (актуальный код замены) Запчасть снята с производства - The Spare Part Is Laid Off | | под заказ | 0 руб. |
| 18 | 54221-96321-0ED | Крышка, Lwr Крепление - Cover, Lwr Mount (Cover, Lwr Mount) | | под заказ | 0 руб. |
| 19 | 09117-06032-000 | Болт (6x30) - Bolt (6x30) (Bolt (6x30); ) (Bolt (6x30)) | | под заказ | 310 руб. |
| 20 | 09159-10050-000 | Гайка - Nut (Nut) | | 8 шт | 250 руб. |
| 21 | 09160-10082-000 | Шайба (10.5x19x2) - Washer (105x19x2) (Washer # Washer (10.5x19x2); ) (Washer (10.5x19x2)) | | 19 шт | 120 руб. |
| 22 | 09180-10152-000 | Проставка (10.2x14x19) - Spacer (102x14x19) (Spacer (id:10.1, od:13.8) # Spacer (id:10.1, od:13.8); -model:93 ) (Spacer (10.2x14x19)) | | под заказ | 590 руб. |
| 23 | 54151-96300-000 | Крепление нижнего упора - Mount, Lwr Thrust (Mounting, lower thrust ) (Mount, Lwr Thrust) | | под заказ | 570 руб. |
| 24 | 54211-96310-0ED | Кронштейн нижнего крепления дляward - Bracket, Lwr Mount Forward (Bracket, Lwr Mount Forward) | | под заказ | 0 руб. |
| 24 | 54211-96321-0ED | (актуальный код замены) Запчасть снята с производства - The Spare Part Is Laid Off | | под заказ | 0 руб. |
| 24 | 54211-96321-0ED | Кронштейн нижнего крепления дляward - Bracket, Lwr Mount Forward (Bracket, Lwr Mount Forward) | | под заказ | 0 руб. |
| 25 | 54212-96302-0ED | Кронштейн нижнего крепления Rr - Bracket, Lwr Mount Rr (Bracket, Lwr Mount Rr) | | под заказ | 0 руб. |
| 25 | 54212-96311-0ED | (актуальный код замены) Запчасть снята с производства - The Spare Part Is Laid Off | | под заказ | 0 руб. |
| 25 | 54212-96311-0ED | Кронштейн нижнего крепления Rr - Bracket, Lwr Mount Rr (Bracket, Lwr Mount Rr) | | под заказ | 0 руб. |
| 26 | 54138-96300-000 | Гильза, вышеr Крепление - Sleeve, Upr Mount (Sleeve, upper mounting # Sleeve, upper mounting; ) (Sleeve, Upr Mount) | | под заказ | 280 руб. |
| 27 | 17568-96300-000 | Заглушкаe, Drive Sft Корпус Water - Pluge, Drive Sft Housing Water (Pluge, Drive Sft Housing Water) | | под заказ | 540 руб. |
| 28 | 36894-95201-000 | Lead (l: 165) - Lead (l:165) (Lead (l:165); ) (Lead (l:165)) | | под заказ | 1170 руб. |
| 29 | 09125-05050-000 | Винт (5x8) - Screw (5x8) (Screw (5x8); ) (Screw (5x8)) | | под заказ | 150 руб. |
| 30 | 09161-05114-000 | Шайба (5.2x11x1) - Washer (52x11x1) (Washer (5.2x11.0x1.0) # Washer (5.2x11x1); ) (Washer (5.2x11x1)) | | под заказ | 290 руб. |
| 31 | 52124-93901-000 | (Bush, drive housing no.1; Model:88-97) | | под заказ | 0 руб. |
| 32 | 52125-96300-000 | Втулка, Drain Hole №2 - Bush, Drain Hole No2 (Bush, drive housing no.2 # Model:88-97 ) (Bush, Drain Hole No.2) | | под заказ | 420 руб. |
| 33 | 52131-96332-0ED | (Case, extension (ll);) | | под заказ | 0 руб. |
| 33 | 52131-96333-0ED | (актуальный код замены) Запчасть снята с производства - The Spare Part Is Laid Off | | под заказ | 0 руб. |
| 34 | 52131-96302-0ED | Удлинитель копуса (x) - Case, Extension (x) (Case, extension (ul);) (Case, Extension (x)) | | под заказ | 0 руб. |
| 34 | 52131-96304-0ED | (актуальный код замены) Запчасть снята с производства - The Spare Part Is Laid Off | | под заказ | 0 руб. |
| 34 | 52131-96304-0ED | Удлинитель копуса (x) - Case, Extension (x) (Case, Extension (x)) | | под заказ | 0 руб. |
| 34 | 52131-96303-0ED | Удлинитель копуса (x) - Case, Extension (x) (Case, extension (ul); Model:00) (Case, Extension (x)) | | под заказ | 0 руб. |
| 34 | 52131-96304-0ED | (актуальный код замены) Запчасть снята с производства - The Spare Part Is Laid Off | | под заказ | 0 руб. |
| 34 | 52131-96304-0ED | Удлинитель копуса (x) - Case, Extension (x) (Case, Extension (x)) | | под заказ | 0 руб. |
| 35 | 09108-08109-000 | Болт под шпильку - Bolt, Stud (Stud bolt (ll); ) (Bolt, Stud) | | под заказ | 0 руб. |
| 36 | 09108-08104-000 | Болт под шпильку - Bolt, Stud (Stud bolt (ul) # Stud bolt (ul); ) (Bolt, Stud) | | под заказ | 1560 руб. |
| 37 | 09140-08016-000 | Гайка - Nut (Nut (ll/ul);) (Nut) | | под заказ | 190 руб. |
| 37 | 09140-08023-XC0 | Гайка - Nut (Nut) | | 14 шт | 190 руб. |
| 38 | 09162-08007-000 | Шайба с блокировкой - Washer, Lock (Lock washer # Lock washer (ll/ul); ) (Washer, Lock) | | под заказ | 160 руб. |
| 39 | 09202-06015-000 | Штифт (6x20) - Pin (6x20) (Knock pin # Pin (l:20); Type:ll/ul ) (Pin (6x20)) | | 12 шт | 220 руб. |
| 40 | 54211-96320-0ED | Кронштейн нижнего крепления дляward - Bracket, Lwr Mount Forward (Model:94-00) (Bracket, Lwr Mount Forward) | | под заказ | 0 руб. |
| 40 | 54211-96321-0ED | (актуальный код замены) Запчасть снята с производства - The Spare Part Is Laid Off | | под заказ | 0 руб. |
| 40 | 54211-96321-0ED | Кронштейн нижнего крепления дляward - Bracket, Lwr Mount Forward (Bracket, Lwr Mount Forward) | | под заказ | 0 руб. |
| 41 | 54212-96310-0ED | Кронштейн нижнего крепления Rr - Bracket, Lwr Mount Rr (Model:94-00) (Bracket, Lwr Mount Rr) | | под заказ | 0 руб. |
| 41 | 54212-96311-0ED | (актуальный код замены) Запчасть снята с производства - The Spare Part Is Laid Off | | под заказ | 0 руб. |
| 41 | 54212-96311-0ED | Кронштейн нижнего крепления Rr - Bracket, Lwr Mount Rr (Bracket, Lwr Mount Rr) | | под заказ | 0 руб. |
| 42 | 09117-08056-000 | Болт (8x40) - Bolt (8x40) (Bolt, brkt lower mount (8x40); Model:94-00) (Bolt (8x40)) | | под заказ | 2010 руб. |
| 42 | 09117-08056-XC0 | (актуальный код замены) Болт (8x40) - Bolt (8x40) | | под заказ | 2010 руб. |
| 42 | 09117-08056-XC0 | Болт (8x40) - Bolt (8x40) (Bolt (8x40)) | | под заказ | 2010 руб. |