Купить комплектующие на подвесной двигатель Suzuki - Выхлоп Трубка / Exhaust tube
вконтакте

Контактный телефон: +7 (981) 121-46-93, +7 (800) 200-90-76 , Email: parts-katalog@yandex.ru, где купить

 
 

  Логин:

Пароль:

Регистрация

www.partskatalog.ru Все каталоги Запчасти Mercury Запчасти Suzuki Запчасти Tohatsu Запчасти Honda Контакты



УВАЖАЕМЫЕ КЛИЕНТЫ!
C 19 ДЕКАБРЯ 2025 ПО 02 МАРТА 2026 ГОДА ОТДЕЛ ЗАПЧАСТЕЙ И СЕРВИС РАБОТАТЬ НЕ БУДУТ
ПРОДАЖА ЛОДОЧНЫХ МОТОРОВ В ШТАТНОМ РЕЖИМЕ
ОБ ИЗМЕНЕНИЯХ В ГРАФИКЕ РАБОТЫ ЧИТАЙТЕ НА САЙТА



назад Раздел:   вперёд

Вернуться к выбору узлов мотора


ДЕТАЛИРОВКА ДЛЯ МОДЕЛИ: SUZUKI DT25K FROM 02503K-310001~

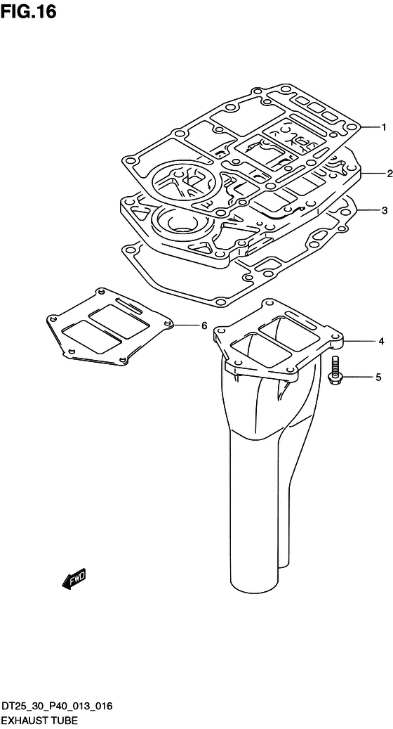
Выхлоп Трубка


Год выпуска двигателя: 2013

Цвет: Shadow Black Metallic

Номер на
рисунке
АртикулНаименованиеQTYКол-во
на складе
Цена
111433-91L00-000

Прокладка нижнего сальника - Gasket, Under Oil Seal (Gasket, Under Oil Seal)

под заказ1960 руб.
1SM-11433-96330-000

   (не оригинальный аналог) Прокладка SM-11433-96330-000 нижнего сальника

под заказ500 руб.
111433-96330-000

   (актуальный код замены) Прокладка нижнего сальника - Gasket, Under Oil Seal

15 шт4580 руб.
1SC-GS175

   (не оригинальный аналог) Прокладка дейдвуда Suzuki SC-GS175

под заказ1060 руб.
211431-91L00-000

Корпус нижнего сальника - Housing, Under Oil Seal (Housing, Under Oil Seal)

под заказ5520 руб.
352113-91L00-000

Прокладка корпуса вала передачи - Gasket, Drive Shaft Housing (Gasket, Drive Shaft Housing)

под заказ2640 руб.
3SM-52113-96330-000

   (не оригинальный аналог) Прокладка SM-52113-96330-000 корпуса вала передачи

под заказ450 руб.
352113-96330-000

   (актуальный код замены) Прокладка корпуса вала передачи - Gasket, Drive Shaft Housing

27 шт3290 руб.
3SC-GS174

   (не оригинальный аналог) Прокладка дейдвуда Suzuki SC-GS174

под заказ1070 руб.
352113-96330-000

Прокладка корпуса вала передачи - Gasket, Drive Shaft Housing (Gasket, drive shaft housing ) (Gasket, Drive Shaft Housing)

27 шт3290 руб.
3SK52113-96330

   (не оригинальный аналог) Прокладка проставки блока цилиндров Skipper для Suzuki Модели техники: DT20-30

0 шт308 руб.
414211-91L00-000

Выхлопная труба (l) - Tube, Exhaust (l) (Tube, Exhaust (l))

под заказ10800 руб.
509116-06234-000

Болт (6x35) - Bolt (6x35) (Bolt (6x35))

3 шт250 руб.
614212-91L00-000

Прокладка выхлопной трубы - Gasket, Exhaust Tube (Gasket, Exhaust Tube)

8 шт1180 руб.
6SM-14212-96310-000

   (не оригинальный аналог) Прокладка SM-14212-96310-000 выхлопной трубы

1 шт200 руб.
614212-96310-000

   (актуальный код замены) Прокладка выхлопной трубы - Gasket, Exhaust Tube

18 шт1180 руб.


Время выполнения запроса 1.1090919971466 сек.

 
 

данный сайт носит информационный характер и не является публичной офертой

склад запчастей для водомоторной техники