Запчасти на подвесной двигатель Suzuki - Барабанный стартер
вконтакте

Контактный телефон: +7 (981) 121-46-93, +7 (800) 200-90-76 , Email: parts-katalog@yandex.ru, где купить

 
 

  Логин:

Пароль:

Регистрация

www.partskatalog.ru Все каталоги Запчасти Mercury Запчасти Suzuki Запчасти Tohatsu Запчасти Honda Контакты



УВАЖАЕМЫЕ КЛИЕНТЫ!
C 19 ДЕКАБРЯ 2025 ПО 02 МАРТА 2026 ГОДА ОТДЕЛ ЗАПЧАСТЕЙ И СЕРВИС РАБОТАТЬ НЕ БУДУТ
ПРОДАЖА ЛОДОЧНЫХ МОТОРОВ В ШТАТНОМ РЕЖИМЕ
ОБ ИЗМЕНЕНИЯХ В ГРАФИКЕ РАБОТЫ ЧИТАЙТЕ НА САЙТА



назад Раздел:   вперёд

Вернуться к выбору узлов мотора


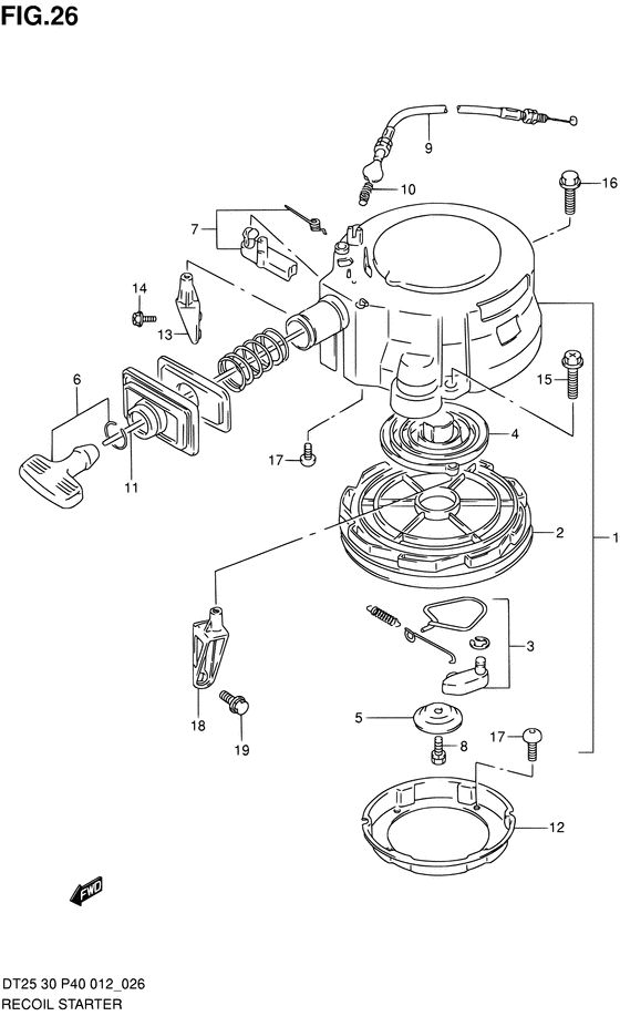
ДЕТАЛИРОВКА ДЛЯ МОДЕЛИ: SUZUKI DT25K FROM 02503K-210001~

Барабанный стартер


Год выпуска двигателя: 2012

Цвет: Shadow Black Metallic

Номер на
рисунке
АртикулНаименованиеQTYКол-во
на складе
Цена
118100-96322-000

Барабанный стартер в сборе - Starter Assy, Recoil (Starter Assy, Recoil)

под заказ60480 руб.
118100-91L00-000

   (актуальный код замены) Барабанный стартер в сборе - Starter Assy, Recoil

1 шт60480 руб.
118100-91L00-000

Барабанный стартер в сборе - Starter Assy, Recoil (Starter Assy, Recoil)

1 шт60480 руб.
218120-96320-000

Барабан в сборе - Reel Assy (Reel Assy)

3 шт6520 руб.
318130-96321-000

Храповик, установочный комплект - Ratchet Set (Ratchet Set)

6 шт3110 руб.
418142-96300-000

Пружина - Spring (Spring)

под заказ4180 руб.
518151-96310-000

Пластина трения - Plate, Friction (Plate, Friction)

под заказ850 руб.
618210-93002-000

Рукоятка в сборе - Grip Assy (Grip Assy)

1 шт1150 руб.
718280-96320-000

Nsi Set - Nsi Set (Nsi Set)

2 шт720 руб.
801570-06167-000

Болт - Bolt (Bolt)

под заказ190 руб.
918290-96311-000

Провод - Wire (Wire)

под заказ3990 руб.
918290-91L00-000

   (актуальный код замены) Провод - Wire

2 шт3990 руб.
918290-91L00-000

Провод - Wire (Wire)

2 шт3990 руб.
1018293-96310-000

Пружина, Nsi Кабели - Spring, Nsi Cable (Spring, Nsi Cable)

1 шт490 руб.
1199000-81159-50M

Шнур стартера 6 ммdia, 50m Role - Starter Rope 6mmdia, 50m Role (OPT L:50000->1750 ) (Starter Rope 6mmdia, 50m Role)

под заказ29280 руб.
1199000-81159-01M

   (актуальный код замены) Шнур стартера 6 Mm (1 Metr) Na Otrez - Starter Rope 6 Mm (1 Metr) Na Otrez

49 шт590 руб.
1218411-96301-000

Чаша стартера - Cup, Starter (Cup, Starter)

1 шт3510 руб.
1318711-91L00-000

Правая скоба барабанного стартера (blac - Brace, Recoil Starter Stbd (blac (Brace, Recoil Starter Stbd (blac)

под заказ3510 руб.
1318711-96303-0EP

   (актуальный код замены) Правая скоба барабанного стартера (blac - Brace, Recoil Starter Stbd (blac

под заказ3510 руб.
1318711-96303-0EP

Правая скоба барабанного стартера (blac - Brace, Recoil Starter Stbd (blac (Brace, Recoil Starter Stbd (blac)

под заказ3510 руб.
1402162-06207-000

Винт - Screw (Bolt # BRACE STBD ) (Screw)

под заказ150 руб.
1501550-06207-000

Болт - Bolt (Bolt)

17 шт220 руб.
1601550-08257-000

Болт - Bolt (Bolt)

под заказ300 руб.
1709106-06098-000

Болт (6x12) - Bolt (6x12) (Bolt (6x12))

10 шт200 руб.
1818721-91L00-000

Левая скоба барабанного стартера - Brace, Recoil Starter Port (MANUAL STARTER) (Brace, Recoil Starter Port)

под заказ3530 руб.
1818721-91L10-000

   (актуальный код замены) Левая скоба барабанного стартера - Brace, Recoil Starter Port

под заказ3530 руб.
1818721-91L10-000

Левая скоба барабанного стартера - Brace, Recoil Starter Port (Brace, Recoil Starter Port)

под заказ3530 руб.
1901580-08257-000

Болт - Bolt (MANUAL STARTER BRACE PORT ) (Bolt)

9 шт240 руб.


Время выполнения запроса 1.3606569766998 сек.

 
 

данный сайт носит информационный характер и не является публичной офертой

склад запчастей для водомоторной техники