Оригинальные запчасти на лодочный мотор Suzuki модель 1978 года - Корпус вала передачи
вконтакте

Контактный телефон: +7 (981) 121-46-93, +7 (800) 200-90-76 , Email: parts-katalog@yandex.ru, где купить

 
 

  Логин:

Пароль:

Регистрация

www.partskatalog.ru Все каталоги Запчасти Mercury Запчасти Suzuki Запчасти Tohatsu Запчасти Honda Контакты



УВАЖАЕМЫЕ КЛИЕНТЫ!
C 19 ДЕКАБРЯ 2025 ПО 02 МАРТА 2026 ГОДА ОТДЕЛ ЗАПЧАСТЕЙ И СЕРВИС РАБОТАТЬ НЕ БУДУТ
ПРОДАЖА ЛОДОЧНЫХ МОТОРОВ В ШТАТНОМ РЕЖИМЕ
ОБ ИЗМЕНЕНИЯХ В ГРАФИКЕ РАБОТЫ ЧИТАЙТЕ НА САЙТА



назад Раздел:   вперёд

Вернуться к выбору узлов мотора


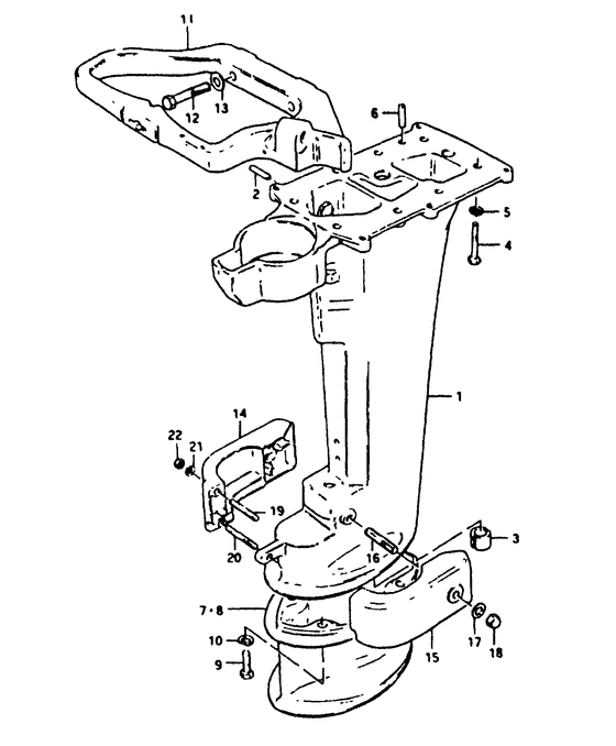
ДЕТАЛИРОВКА ДЛЯ МОДЕЛИ: SUZUKI DT25C C

Корпус вала передачи


Год выпуска двигателя: 1978

Регион: General Export No.1 ,Код региона: P01

Номер на
рисунке
АртикулНаименованиеQTYКол-во
на складе
Цена
152110-93104-01J

(To 52110-93105-01j)

под заказ0 руб.
152110-93106-01J

(From 52110-93105-01j)

под заказнет сведений
209205-05001-000

Стопор пружины (5x18) - Pin, Spring (5x18) (Pin, Spring (5x18))

под заказ180 руб.
209205-05014-000

   (актуальный код замены) Стопор пружины (5x18) - Pin, Spring (5x18)

под заказ180 руб.
209205-05014-000

Стопор пружины (5x18) - Pin, Spring (5x18) (Pin, clutch lever (l:18) ) (Pin, Spring (5x18))

под заказ180 руб.
309305-15002-000

(Bushing, drive shaft housing; Ul type, 15.8x26x25)

под заказ0 руб.
409100-06035-000

Болт (6x40) - Bolt (6x40) (6x40) (Bolt (6x40))

под заказ320 руб.
409117-06043-000

   (актуальный код замены) Болт (6x40) - Bolt (6x40)

под заказ320 руб.
409117-06043-000

Болт (6x40) - Bolt (6x40) (Bolt (6x40) ) (Bolt (6x40))

под заказ320 руб.
509162-06001-000

Шайба с блокировкой - Washer, Lock (Washer, Lock)

под заказ160 руб.
509162-06006-000

   (актуальный код замены) Шайба с блокировкой - Washer, Lock

под заказ160 руб.
509162-06006-000

Шайба с блокировкой - Washer, Lock (Lock washer ) (Washer, Lock)

под заказ160 руб.
609202-06015-000

Штифт (6x20) - Pin (6x20) (Knock pin ) (Pin (6x20))

12 шт220 руб.
752131-93102-01J

(L type, l:127)

под заказнет сведений
852131-93762-01J

(Ul type, l:236)

под заказнет сведений
909100-08112-000

Болт (8x30) - Bolt (8x30) (L, ul type) (Bolt (8x30))

под заказ350 руб.
909100-08232-000

   (актуальный код замены) Болт (8x30) - Bolt (8x30)

6 шт350 руб.
909100-08232-000

Болт (8x30) - Bolt (8x30) (Bolt (8x30))

6 шт350 руб.
1009162-08003-000

Шайба с блокировкой - Washer, Lock (L, ul type) (Washer, Lock)

под заказ160 руб.
1009162-08007-000

   (актуальный код замены) Шайба с блокировкой - Washer, Lock

под заказ160 руб.
1009162-08007-000

Шайба с блокировкой - Washer, Lock (Lock washer ) (Washer, Lock)

под заказ160 руб.
1162111-93103-01J

под заказ0 руб.
1162111-93104-01J

(To 62111-93105-01j)

под заказ0 руб.
1162111-93105-02M

   (актуальный код замены) Запчасть снята с производства - The Spare Part Is Laid Off

под заказ0 руб.
1209100-08101-000

Болт (8x40) - Bolt (8x40) (Bolt (8x40))

под заказ390 руб.
1209116-08128-000

   (актуальный код замены) Болт (8x40) - Bolt (8x40)

под заказ390 руб.
1209116-08128-000

Болт (8x40) - Bolt (8x40) (Bolt (8x40))

под заказ390 руб.
1309160-08015-000

Шайба (8.5x16x1.2) - Washer (85x16x12) (8.5x16x1.2) (Washer (8.5x16x1.2))

под заказ120 руб.
1309160-08082-000

   (актуальный код замены) Шайба (8.5x16x1.2) - Washer (8.5x16x1.2)

13 шт120 руб.
1309160-08082-000

Шайба (8.5x16x1.2) - Washer (85x16x12) (Washer (8.5x16x1.2))

13 шт120 руб.
1454211-93100-01J

под заказ0 руб.
1454211-93100-02M

   (актуальный код замены) Запчасть снята с производства - The Spare Part Is Laid Off

под заказ0 руб.
1554221-93100-01J

под заказ0 руб.
1554221-93100-02M

   (актуальный код замены) Запчасть снята с производства - The Spare Part Is Laid Off

под заказ0 руб.
1609108-08036-000

Болт под шпильку - Bolt, Stud (Bolt, Stud)

под заказ3840 руб.
1609108-08147-000

   (актуальный код замены) Болт под шпильку - Bolt, Stud

под заказ3840 руб.
1609108-08147-000

Болт под шпильку - Bolt, Stud (Stud bolt ) (Bolt, Stud)

под заказ3840 руб.
1709160-08015-000

Шайба (8.5x16x1.2) - Washer (85x16x12) (Washer (8.5x16x1.2))

под заказ120 руб.
1709160-08082-000

   (актуальный код замены) Шайба (8.5x16x1.2) - Washer (8.5x16x1.2)

13 шт120 руб.
1709160-08082-000

Шайба (8.5x16x1.2) - Washer (85x16x12) (Washer (8.5x16x1.2))

13 шт120 руб.
1809145-08002-000

под заказ0 руб.
1909108-06007-000

Болт под шпильку - Bolt, Stud (Bolt, Stud)

под заказ340 руб.
1909108-06068-000

   (актуальный код замены) Болт под шпильку - Bolt, Stud

под заказ340 руб.
1909108-06068-000

Болт под шпильку - Bolt, Stud (Bolt, Stud)

под заказ340 руб.
2009108-06025-000

Болт под шпильку - Bolt, Stud (Stud bolt (6x30) # Stud bolt (6x30); ) (Bolt, Stud)

под заказ0 руб.
2109162-06001-000

Шайба с блокировкой - Washer, Lock (Washer, Lock)

под заказ160 руб.
2109162-06006-000

   (актуальный код замены) Шайба с блокировкой - Washer, Lock

под заказ160 руб.
2109162-06006-000

Шайба с блокировкой - Washer, Lock (Lock washer ) (Washer, Lock)

под заказ160 руб.
2209140-06004-000

Гайка - Nut (Nut)

под заказ150 руб.
2209140-06020-000

   (актуальный код замены) Гайка - Nut

9 шт150 руб.
2209140-06020-000

Гайка - Nut (Nut)

9 шт150 руб.


Время выполнения запроса 2.3927149772644 сек.

 
 

данный сайт носит информационный характер и не является публичной офертой

склад запчастей для водомоторной техники