Найти запчасти на лодочный мотор Suzuki модель 1982 года - Swivel bracket
вконтакте

Контактный телефон: +7 (981) 121-46-93, +7 (800) 200-90-76 , Email: parts-katalog@yandex.ru, где купить

 
 

  Логин:

Пароль:

Регистрация

www.partskatalog.ru Все каталоги Запчасти Mercury Запчасти Suzuki Запчасти Tohatsu Запчасти Honda Контакты

назад Раздел:   вперёд

Вернуться к выбору узлов мотора


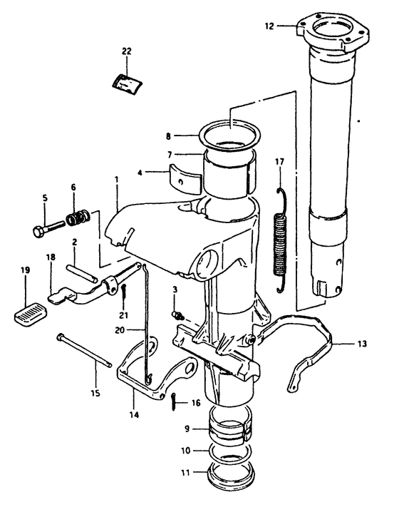
ДЕТАЛИРОВКА ДЛЯ МОДЕЛИ: SUZUKI DT25VZ(G/J/VZ) Z

Поворотный кронштейн


Год выпуска двигателя: 1982

Номер на
рисунке
АртикулНаименованиеQTYКол-во
на складе
Цена
143111-93303-01J

(Model g)

под заказнет сведений
109443-14018-000

под заказ0 руб.
122511-99011-000

Ниппель смазки - Nipple, Grease (Nipple, Grease)

4 шт400 руб.
143111-93990-01J

(2502-001576~, 2502-003053~, model g)

под заказ0 руб.
109443-14018-000

под заказ0 руб.
143111-93304-01J

(Model j/vz)

под заказ0 руб.
209200-05005-000

(Pin, swivel bracket;)

под заказ0 руб.
322511-99000-000

Ниппель смазки - Nipple, Grease (For ref.no.1-1) (Nipple, Grease)

под заказ340 руб.
322511-99011-000

   (актуальный код замены) Ниппель смазки - Nipple, Grease

4 шт400 руб.
322511-99011-000

Ниппель смазки - Nipple, Grease (Nipple, Grease)

4 шт400 руб.
443410-93000-000

Регулировка рулевой системы - Adjuster, Steering (Adjuster, Steering)

под заказ620 руб.
443411-96300-000

   (актуальный код замены) Регулировка рулевой системы - Adjuster, Steering

1 шт620 руб.
443411-96300-000

Регулировка рулевой системы - Adjuster, Steering (Adjuster, steering ) (Adjuster, Steering)

1 шт620 руб.
509100-08112-000

Болт (8x30) - Bolt (8x30) (Bolt (8x30))

под заказ350 руб.
509100-08232-000

   (актуальный код замены) Болт (8x30) - Bolt (8x30)

6 шт350 руб.
509100-08232-000

Болт (8x30) - Bolt (8x30) (Bolt (8x30))

6 шт350 руб.
609440-13013-000

под заказ0 руб.
743711-93000-000

(Bushing, upper;)

под заказ0 руб.
843712-93000-000

(Model g)

под заказ0 руб.
843712-93002-000

   (актуальный код замены) Запчасть снята с производства - The Spare Part Is Laid Off

под заказ0 руб.
843712-93001-000

(Model j/vz, (stainless steel))

под заказ0 руб.
843712-93002-000

   (актуальный код замены) Запчасть снята с производства - The Spare Part Is Laid Off

под заказ0 руб.
943721-93000-000

под заказ0 руб.
1009280-40004-000

Уплотнительное кольцо (d: 3.5, Id: 40) - O Ring (d:35, Id:40) (O ring (d:3.5, id:40);) (O Ring (d:3.5, Id:40))

под заказ0 руб.
1109306-40001-000

под заказ0 руб.
1243741-93002-01J

под заказ0 руб.
1345231-93002-000

под заказ0 руб.
1445241-93000-000

под заказ0 руб.
1445241-93001-000

   (актуальный код замены) Запчасть снята с производства - The Spare Part Is Laid Off

под заказ0 руб.
1509200-04003-000

под заказ0 руб.
1609204-01001-000

под заказнет сведений
1609204-01002-000

Штифт - Pin (Cotter pin ) (Pin)

24 шт140 руб.
1709443-14010-000

(Model g)

под заказ0 руб.
1709443-14018-000

(Model j/vz)

под заказ0 руб.
1845251-93001-000

под заказ0 руб.
1845251-93002-000

   (актуальный код замены) Запчасть снята с производства - The Spare Part Is Laid Off

под заказ0 руб.
1845251-93002-000

(Lever, release (l:85) from 45251-93000; Model j/vz)

под заказ0 руб.
1945255-93000-000

Резинка рычага блокировки - Rubber, Release Lever (Rubber, Release Lever)

под заказ390 руб.
1945255-93001-000

   (актуальный код замены) Резинка рычага блокировки - Rubber, Release Lever

под заказ390 руб.
1945255-93001-000

Резинка рычага блокировки - Rubber, Release Lever (Rubber, Release Lever)

под заказ390 руб.
2045252-93000-000

под заказ0 руб.
2109204-01001-000

под заказнет сведений
2109204-01002-000

Штифт - Pin (Cotter pin ) (Pin)

24 шт140 руб.
2243241-93101-000

под заказ0 руб.
2243241-93102-000

   (актуальный код замены) Запчасть снята с производства - The Spare Part Is Laid Off

под заказ0 руб.


Время выполнения запроса 1.0120899677277 сек.

 
 

данный сайт носит информационный характер и не является публичной офертой

склад запчастей для водомоторной техники