Купить оригинальные запчасти на подвесной лодочный двигатель Suzuki модель 1984 года - Выхлоп Трубка
вконтакте

Контактный телефон: +7 (981) 121-46-93, +7 (800) 200-90-76 , Email: parts-katalog@yandex.ru, где купить

 
 

  Логин:

Пароль:

Регистрация

www.partskatalog.ru Все каталоги Запчасти Mercury Запчасти Suzuki Запчасти Tohatsu Запчасти Honda Контакты



УВАЖАЕМЫЕ КЛИЕНТЫ!
C 19 ДЕКАБРЯ 2025 ПО 02 МАРТА 2026 ГОДА ОТДЕЛ ЗАПЧАСТЕЙ И СЕРВИС РАБОТАТЬ НЕ БУДУТ
ПРОДАЖА ЛОДОЧНЫХ МОТОРОВ В ШТАТНОМ РЕЖИМЕ
ОБ ИЗМЕНЕНИЯХ В ГРАФИКЕ РАБОТЫ ЧИТАЙТЕ НА САЙТА



назад Раздел:   вперёд

Вернуться к выбору узлов мотора


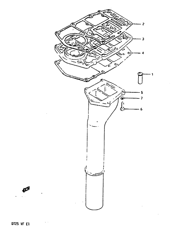
ДЕТАЛИРОВКА ДЛЯ МОДЕЛИ: SUZUKI DT25RVE(QD/VE/VF) E

Выхлоп Трубка


Год выпуска двигателя: 1984

Регион: General Export No.1 ,Код региона: P01

Номер на
рисунке
АртикулНаименованиеQTYКол-во
на складе
Цена
111435-96300-000

под заказ0 руб.
211433-96301-000

Прокладка нижнего сальника - Gasket, Under Oil Seal (~305315) (Gasket, Under Oil Seal)

под заказ1960 руб.
211433-96330-000

   (актуальный код замены) Прокладка нижнего сальника - Gasket, Under Oil Seal

15 шт4580 руб.
2SM-11433-96330-000

   (не оригинальный аналог) Прокладка SM-11433-96330-000 нижнего сальника

под заказ500 руб.
2SC-GS175

   (не оригинальный аналог) Прокладка дейдвуда Suzuki SC-GS175

под заказ1060 руб.
211433-91L00-000

Прокладка нижнего сальника - Gasket, Under Oil Seal (Gasket, Under Oil Seal)

под заказ1960 руб.
211433-96330-000

   (актуальный код замены) Прокладка нижнего сальника - Gasket, Under Oil Seal

15 шт4580 руб.
211433-96302-000

Прокладка нижнего сальника - Gasket, Under Oil Seal (405316~) (Gasket, Under Oil Seal)

под заказ1960 руб.
211433-96330-000

   (актуальный код замены) Прокладка нижнего сальника - Gasket, Under Oil Seal

15 шт4580 руб.
311431-96303-000

(~305315)

под заказнет сведений
311431-91L00-000

Корпус нижнего сальника - Housing, Under Oil Seal (Housing, Under Oil Seal)

под заказ5520 руб.
311433-91L00-000

Прокладка нижнего сальника - Gasket, Under Oil Seal (Gasket, Under Oil Seal)

под заказ1960 руб.
3SM-11433-96330-000

   (не оригинальный аналог) Прокладка SM-11433-96330-000 нижнего сальника

под заказ500 руб.
311433-96330-000

   (актуальный код замены) Прокладка нижнего сальника - Gasket, Under Oil Seal

15 шт4580 руб.
3SC-GS175

   (не оригинальный аналог) Прокладка дейдвуда Suzuki SC-GS175

под заказ1060 руб.
352113-96321-000

Прокладка корпуса вала передачи - Gasket, Drive Shaft Housing (Gasket, Drive Shaft Housing)

15 шт6150 руб.
311431-96304-000

Корпус нижнего сальника - Housing, Under Oil Seal (405316~) (Housing, Under Oil Seal)

под заказ5520 руб.
311431-91L00-000

   (актуальный код замены) Корпус нижнего сальника - Housing, Under Oil Seal

под заказ5520 руб.
311431-91L00-000

Корпус нижнего сальника - Housing, Under Oil Seal (Housing, Under Oil Seal)

под заказ5520 руб.
452113-96302-000

Прокладка корпуса вала передачи - Gasket, Drive Shaft Housing (~305315) (Gasket, Drive Shaft Housing)

под заказ5190 руб.
452113-96361-000

   (актуальный код замены) Прокладка корпуса вала передачи - Gasket, Drive Shaft Housing

под заказ5190 руб.
4SC-GS174

   (не оригинальный аналог) Прокладка дейдвуда Suzuki SC-GS174

под заказ1070 руб.
4SC-GS174

   (не оригинальный аналог) Прокладка дейдвуда Suzuki SC-GS174

под заказ1070 руб.
452113-96361-000

Прокладка корпуса вала передачи - Gasket, Drive Shaft Housing (Gasket, drive shaft hsg ) (Gasket, Drive Shaft Housing)

под заказ5190 руб.
452113-96303-000

Прокладка корпуса вала передачи - Gasket, Drive Shaft Housing (405316~) (Gasket, Drive Shaft Housing)

под заказ6150 руб.
452113-96321-000

   (актуальный код замены) Прокладка корпуса вала передачи - Gasket, Drive Shaft Housing

15 шт6150 руб.
452113-96321-000

Прокладка корпуса вала передачи - Gasket, Drive Shaft Housing (Gasket, Drive Shaft Housing)

15 шт6150 руб.
514211-96310-000

Выхлопная труба (l: 255) - Tube, Exhaust (l:255) (~305315) (Tube, Exhaust (l:255))

под заказ14310 руб.
514211-96343-000

   (актуальный код замены) Выхлопная труба (l: 255) - Tube, Exhaust (l:255)

под заказ14310 руб.
514211-96343-000

Выхлопная труба (l: 255) - Tube, Exhaust (l:255) (Tube, exhaust (s) ) (Tube, Exhaust (l:255))

под заказ14310 руб.
514211-96311-000

Выхлопная труба (l: 255) - Tube, Exhaust (l:255) (405316~) (Tube, Exhaust (l:255))

под заказ14310 руб.
514211-96343-000

   (актуальный код замены) Выхлопная труба (l: 255) - Tube, Exhaust (l:255)

под заказ14310 руб.
514211-96343-000

Выхлопная труба (l: 255) - Tube, Exhaust (l:255) (Tube, exhaust (s) ) (Tube, Exhaust (l:255))

под заказ14310 руб.
514211-96301-000

Выхлопная труба (l: 280) - Tube, Exhaust (l:280) (Tube, exhaust (l/ll/ul); ~305415) (Tube, Exhaust (l:280))

под заказ18680 руб.
514211-96333-000

   (актуальный код замены) Выхлопная труба (l: 280) - Tube, Exhaust (l:280)

под заказ18680 руб.
514211-96333-000

Выхлопная труба (l: 280) - Tube, Exhaust (l:280) (Tube, exhaust (s) ) (Tube, Exhaust (l:280))

под заказ18680 руб.
514211-96302-000

Выхлопная труба (l: 280) - Tube, Exhaust (l:280) (405416~) (Tube, Exhaust (l:280))

под заказ18680 руб.
514211-96333-000

   (актуальный код замены) Выхлопная труба (l: 280) - Tube, Exhaust (l:280)

под заказ18680 руб.
514211-96333-000

Выхлопная труба (l: 280) - Tube, Exhaust (l:280) (Tube, exhaust (s) ) (Tube, Exhaust (l:280))

под заказ18680 руб.
609100-06117-000

Болт (6x35) - Bolt (6x35) (Bolt (6*35);) (Bolt (6x35))

под заказ0 руб.
609117-06037-XC0

   (актуальный код замены) Запчасть снята с производства - The Spare Part Is Laid Off

под заказ0 руб.
609117-06037-XC0

Болт (6x35) - Bolt (6x35) (Bolt (6x35))

под заказ0 руб.
709162-06001-000

Шайба с блокировкой - Washer, Lock (Washer, Lock)

под заказ160 руб.
709162-06006-000

   (актуальный код замены) Шайба с блокировкой - Washer, Lock

под заказ160 руб.
709162-06006-000

Шайба с блокировкой - Washer, Lock (Lock washer ) (Washer, Lock)

под заказ160 руб.


Время выполнения запроса 2.0563750267029 сек.

 
 

данный сайт носит информационный характер и не является публичной офертой

склад запчастей для водомоторной техники