Купить комплектующие на лодочный мотор Suzuki - exhaust cover
вконтакте

Контактный телефон: +7 (981) 121-46-93, +7 (800) 200-90-76 , Email: parts-katalog@yandex.ru, где купить

 
 

  Логин:

Пароль:

Регистрация

www.partskatalog.ru Все каталоги Запчасти Mercury Запчасти Suzuki Запчасти Tohatsu Запчасти Honda Контакты



УВАЖАЕМЫЕ КЛИЕНТЫ!
C 19 ДЕКАБРЯ 2025 ПО 02 МАРТА 2026 ГОДА ОТДЕЛ ЗАПЧАСТЕЙ И СЕРВИС РАБОТАТЬ НЕ БУДУТ
ПРОДАЖА ЛОДОЧНЫХ МОТОРОВ В ШТАТНОМ РЕЖИМЕ
ОБ ИЗМЕНЕНИЯХ В ГРАФИКЕ РАБОТЫ ЧИТАЙТЕ НА САЙТА



назад Раздел:   вперёд

Вернуться к выбору узлов мотора


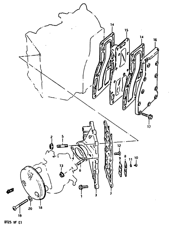
ДЕТАЛИРОВКА ДЛЯ МОДЕЛИ: SUZUKI DT25RVF(QD/VE/VF) F

вход case - Кожух выхлопной трубы


Год выпуска двигателя: 1985

Номер на
рисунке
АртикулНаименованиеQTYКол-во
на складе
Цена
101517-06258-000

Болт - Bolt (Bolt)

под заказ180 руб.
101550-06257-000

   (актуальный код замены) Болт - Bolt

под заказ180 руб.
101550-06257-000

Болт - Bolt (Bolt)

под заказ180 руб.
209159-06017-000

Гайка - Nut (Nut)

под заказ160 руб.
208319-31067-000

   (актуальный код замены) Гайка - Nut

под заказ160 руб.
208319-31067-000

Гайка - Nut (Nut, center ) (Nut)

под заказ160 руб.
312481-96301-02M

Case, вход (gray) - Case, Inlet (gray) (Case, Inlet (gray))

под заказ0 руб.
312481-96302-0ED

   (актуальный код замены) Запчасть снята с производства - The Spare Part Is Laid Off

под заказ0 руб.
312481-96302-0ED

Case, вход (gray) - Case, Inlet (gray) (Case, inlet (gray) ) (Case, Inlet (gray))

под заказ0 руб.
413125-93000-000

Прокладка карбюратора - Gasket, Carburetor (Gasket, Carburetor)

под заказ470 руб.
4SM-13125-93010-000

   (не оригинальный аналог) Прокладка SM-13125-93010-000 карбюратора

1 шт100 руб.
413125-93010-000

   (актуальный код замены) Прокладка карбюратора - Gasket, Carburetor

11 шт470 руб.
413125-93010-000

Прокладка карбюратора - Gasket, Carburetor (Gasket, carburetor ) (Gasket, Carburetor)

11 шт470 руб.
501411-08208-000

Болт под шпильку - Bolt, Stud (Bolt, Stud)

под заказ170 руб.
501411-0820B-000

   (актуальный код замены) Болт под шпильку - Bolt, Stud

под заказ170 руб.
501411-0820B-000

Болт под шпильку - Bolt, Stud (Bolt, Stud)

под заказ170 руб.
601421-06208-000

Болт под шпильку - Bolt, Stud (Bolt, Stud)

под заказ150 руб.
601421-0620A-000

   (актуальный код замены) Болт под шпильку - Bolt, Stud

под заказ150 руб.
601421-0620A-000

Болт под шпильку - Bolt, Stud (Bolt, Stud)

под заказ150 руб.
713150-96300-000

Язычковый клапан, в сборе - Valve Assy, Reed (Valve Assy, Reed)

4 шт16420 руб.
713150-91L00-000

   (актуальный код замены) Язычковый клапан, в сборе - Valve Assy, Reed

под заказ16420 руб.
813152-96300-000

Стопор язычкового клапана - Stopper, Reed Valve (Stopper, leed valve;) (Stopper, Reed Valve)

под заказ960 руб.
813152-91L00-000

   (актуальный код замены) Стопор язычкового клапана - Stopper, Reed Valve

под заказ960 руб.
813152-91L00-000

Стопор язычкового клапана - Stopper, Reed Valve (Stopper, Reed Valve)

под заказ960 руб.
913153-96300-000

Язычковый клапан - Valve, Reed (Valve, leed;) (Valve, Reed)

под заказ1110 руб.
913153-91L00-000

   (актуальный код замены) Язычковый клапан - Valve, Reed

под заказ1110 руб.
913153-91L00-000

Язычковый клапан - Valve, Reed (Valve, Reed)

под заказ1110 руб.
1002112-03068-000

Винт - Screw (Screw)

под заказ120 руб.
1002112-0306B-000

   (актуальный код замены) Винт - Screw

под заказ120 руб.
1002112-0306B-000

Винт - Screw (Screw)

под заказ120 руб.
1108321-21038-000

Шайба с блокировкой - Washer, Lock (Washer, Lock)

под заказ110 руб.
1108321-2103B-000

   (актуальный код замены) Шайба с блокировкой - Washer, Lock

под заказ110 руб.
1108321-2103B-000

Шайба с блокировкой - Washer, Lock (Washer, Lock)

под заказ110 руб.
1202122-06168-000

Винт - Screw (Screw)

под заказ120 руб.
1202122-06167-000

   (актуальный код замены) Винт - Screw

под заказ120 руб.
1202122-06167-000

Винт - Screw (Screw)

под заказ120 руб.
1308316-16088-000

Гайка - Nut (Nut)

под заказ170 руб.
1308316-10087-000

   (актуальный код замены) Гайка - Nut

14 шт170 руб.
1308316-10087-000

Гайка - Nut (Nut)

14 шт170 руб.
1414151-96300-000

Прокладка кожуха выхлопной трубы - Gasket, Exhaust Cover (Gasket, Exhaust Cover)

под заказ1220 руб.
1414151-96311-000

   (актуальный код замены) Прокладка кожуха выхлопной трубы - Gasket, Exhaust Cover

25 шт1400 руб.
14SMO-14151-96311-000

   (не оригинальный аналог) Прокладка SMO-14151-96311-000 кожуха выхлопной трубы (без упаковки) - оригинал Suzuki

под заказ950 руб.
14SMO-14151-96311-000

  (аналог) Прокладка SMO-14151-96311-000 кожуха выхлопной трубы (без упаковки) - оригинал Suzuki - код 14151-96311-000

 под заказ шт950 руб.
1414151-96311-000

Прокладка кожуха выхлопной трубы - Gasket, Exhaust Cover (Gasket, exhaust cover ) (Gasket, Exhaust Cover)

25 шт1400 руб.
14SK14151-96311

   (не оригинальный аналог) Прокладка крышки выхлопа Skipper для Suzuki Модели техники: DT20-30

0 шт381 руб.
14SMO-14151-96311-000

  (аналог) Прокладка SMO-14151-96311-000 кожуха выхлопной трубы (без упаковки) - оригинал Suzuki - код 14151-96311-000

 под заказ шт950 руб.
1514131-96301-000

под заказ0 руб.
1614141-96300-02M

Крышка Set, Выхлоп - Cover Set, Exhaust (Cover Set, Exhaust)

под заказ11810 руб.
1614140-91L00-000

   (актуальный код замены) Крышка Set, Выхлоп - Cover Set, Exhaust

под заказ11810 руб.
1614140-91L00-000

Крышка Set, Выхлоп - Cover Set, Exhaust (Cover Set, Exhaust)

под заказ11810 руб.
1701517-06258-000

Болт - Bolt (Bolt)

под заказ180 руб.
1701550-06257-000

   (актуальный код замены) Болт - Bolt

под заказ180 руб.
1701550-06257-000

Болт - Bolt (Bolt)

под заказ180 руб.
1813811-96300-000

Корпус глушителя - Case, Silencer (Case, Silencer)

под заказ870 руб.
1902112-06408-000

Винт - Screw (Screw)

под заказ130 руб.
1902112-06407-000

   (актуальный код замены) Винт - Screw

под заказ130 руб.
1902112-06407-000

Винт - Screw (Screw)

под заказ130 руб.
2008322-21067-000

Шайба - Washer (Washer)

под заказ140 руб.
2008322-01067-000

   (актуальный код замены) Шайба - Washer

10 шт160 руб.
2008322-01067-000

Шайба - Washer (Washer)

10 шт160 руб.


Время выполнения запроса 2.0177080631256 сек.

 
 

данный сайт носит информационный характер и не является публичной офертой

склад запчастей для водомоторной техники