Оригинальные запчасти на подвесной двигатель Suzuki модель 1986 года - Выпрямитель, установочный комплект
вконтакте

Контактный телефон: +7 (981) 121-46-93, +7 (800) 200-90-76 , Email: parts-katalog@yandex.ru, где купить

 
 

  Логин:

Пароль:

Регистрация

www.partskatalog.ru Все каталоги Запчасти Mercury Запчасти Suzuki Запчасти Tohatsu Запчасти Honda Контакты



УВАЖАЕМЫЕ КЛИЕНТЫ!
C 19 ДЕКАБРЯ 2025 ПО 02 МАРТА 2026 ГОДА ОТДЕЛ ЗАПЧАСТЕЙ И СЕРВИС РАБОТАТЬ НЕ БУДУТ
ПРОДАЖА ЛОДОЧНЫХ МОТОРОВ В ШТАТНОМ РЕЖИМЕ
ОБ ИЗМЕНЕНИЯХ В ГРАФИКЕ РАБОТЫ ЧИТАЙТЕ НА САЙТА



назад Раздел:   вперёд

Вернуться к выбору узлов мотора


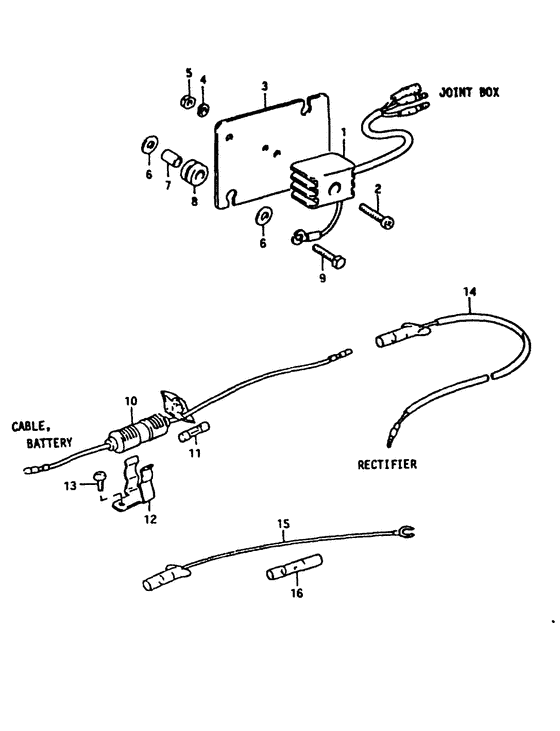
ДЕТАЛИРОВКА ДЛЯ МОДЕЛИ: SUZUKI DT25G(G/J/VZ) G

Выпрямитель, установочный комплект


Год выпуска двигателя: 1986

Регион: General Export No.1 ,Код региона: P01


Warning: Undefined variable $NumPP in D:\www\www.partskatalog.ru\partsbase\base-outboard-suzuki-2.php on line 654
Номер на
рисунке
АртикулНаименованиеQTYКол-во
на складе
Цена
 32800-93812-000

(Model g)

под заказнет сведений
 09125-06025-000

Винт (6x20) - Screw (6x20) (Screw (6x20) ) (Screw (6x20))

под заказ220 руб.
 09160-06052-000

Шайба (6.5x16x1.2) - Washer (65x16x12) (Washer (6.5x16x1.2) ) (Washer (6.5x16x1.2))

под заказ160 руб.
 32801-93300-000

(Model g)

под заказ0 руб.
132800-95720-000

Выпрямитель в сборе - Rectifier Assy (Model g) (Rectifier Assy)

под заказ10760 руб.
132800-95D02-000

   (актуальный код замены) Выпрямитель в сборе - Rectifier Assy

1 шт10760 руб.
132800-95D01-000

Выпрямитель в сборе - Rectifier Assy (Rectifier Assy)

под заказ10760 руб.
132800-95D02-000

   (актуальный код замены) Выпрямитель в сборе - Rectifier Assy

1 шт10760 руб.
202112-05258-000

Винт - Screw (Model g) (Screw)

под заказ120 руб.
202112-05257-000

   (актуальный код замены) Винт - Screw

под заказ120 руб.
202112-05257-000

Винт - Screw (Screw)

под заказ120 руб.
332890-93300-000

(Model g)

под заказ0 руб.
332890-93301-000

   (актуальный код замены) Запчасть снята с производства - The Spare Part Is Laid Off

под заказ0 руб.
332890-93301-000

(Model j/vz, model g)

под заказ0 руб.
408321-21058-000

Шайба с блокировкой - Washer, Lock (Model g) (Washer, Lock)

под заказ140 руб.
408321-0105A-000

   (актуальный код замены) Шайба с блокировкой - Washer, Lock

под заказ140 руб.
408321-0105A-000

Шайба с блокировкой - Washer, Lock (Washer, Lock)

под заказ140 руб.
508310-11058-000

Гайка - Nut (Model g) (Nut)

под заказ140 руб.
508310-00057-000

   (актуальный код замены) Гайка - Nut

под заказ140 руб.
508310-00057-000

Гайка - Nut (Nut)

под заказ140 руб.
609160-06052-000

Шайба (6.5x16x1.2) - Washer (65x16x12) (Washer (6.5x16x1.2) # Washer, holder (6.5x16x1.2); Model g ) (Washer (6.5x16x1.2))

под заказ160 руб.
709180-06035-000

Проставка (6.1x8x12) - Spacer (61x8x12) (Model g) (Spacer (6.1x8x12))

под заказ160 руб.
709180-06249-000

   (актуальный код замены) Проставка (6.1x8x12) - Spacer (6.1x8x12)

под заказ160 руб.
709180-06249-000

Проставка (6.1x8x12) - Spacer (61x8x12) (Spacer (6.1x8x12) ) (Spacer (6.1x8x12))

под заказ160 руб.
809320-08015-000

Подушка - Cushion (Cushion # Cushion, parts holder; Manual starter, model g ) (Cushion)

под заказ290 руб.
901107-06258-000

Болт - Bolt (Model g) (Bolt)

под заказ150 руб.
901500-06257-000

   (актуальный код замены) Болт - Bolt

под заказ150 руб.
901500-06257-000

Болт - Bolt (Bolt)

под заказ150 руб.
1036740-95251-000

Корпус предохранителя - Case Assy, Fuse (To 36740-95252, model g) (Case Assy, Fuse)

под заказ1720 руб.
1036740-95253-000

   (актуальный код замены) Корпус предохранителя - Case Assy, Fuse

1 шт1720 руб.
1036740-95253-000

Корпус предохранителя - Case Assy, Fuse (Case Assy, Fuse)

1 шт1720 руб.
1036740-95252-000

Корпус предохранителя - Case Assy, Fuse (Model g) (Case Assy, Fuse)

под заказ1720 руб.
1036740-95253-000

   (актуальный код замены) Корпус предохранителя - Case Assy, Fuse

1 шт1720 руб.
1036740-95253-000

Корпус предохранителя - Case Assy, Fuse (Case Assy, Fuse)

1 шт1720 руб.
1109481-20001-000

Предохранитель (20a) - Fuse (20a) (Fuse (20a); Model g ) (Fuse (20a))

30 шт180 руб.
1236791-95200-000

Держатель, Предохранитель Case - Holder, Fuse Case (Holder, fuse # Holder, fuse; Model g ) (Holder, Fuse Case)

под заказ340 руб.
1309125-06025-000

Винт (6x20) - Screw (6x20) (Screw (6x20) # Screw (l:20); Model g ) (Screw (6x20))

под заказ220 руб.
1309125-06020-000

Винт (6x16) - Screw (6x16) (Model g) (Screw (6x16))

под заказ220 руб.
1309125-06053-000

   (актуальный код замены) Винт (6x16) - Screw (6x16)

под заказ220 руб.
1309125-06053-000

Винт (6x16) - Screw (6x16) (Screw, tiller handle cover ) (Screw (6x16))

под заказ220 руб.
1436897-93300-000

(Model g)

под заказ0 руб.
1536898-93300-000

(Lead wire, earth; Model g)

под заказ0 руб.
1637132-93700-000

Коннектор, Провод - Connector, Wire (Connector, lead wire # Wire connector; Model g ) (Connector, Wire)

под заказ220 руб.


Время выполнения запроса 3.2716979980469 сек.

 
 

данный сайт носит информационный характер и не является публичной офертой

склад запчастей для водомоторной техники