Номер на рисунке | Артикул | Наименование | QTY | Кол-во на складе | Цена |
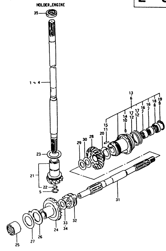
| 1 | 57110-93411-000 | (From 57110-93410, l:711, model g) | | под заказ | 0 руб. |
| 1 | 57110-93412-000 | (актуальный код замены) Запчасть снята с производства - The Spare Part Is Laid Off | | под заказ | 0 руб. |
| 1 | 57110-93412-000 | (Shaft, drive (s type); L:711, 2502-003395~) | | под заказ | 0 руб. |
| 2 | 57110-93401-000 | (L:830, from 57110-93400, model g) | | под заказ | 0 руб. |
| 2 | 57110-93402-000 | (актуальный код замены) Запчасть снята с производства - The Spare Part Is Laid Off | | под заказ | 0 руб. |
| 2 | 57110-93402-000 | (L:830, 2502-003345~) | | под заказ | 0 руб. |
| 3 | 57110-93421-000 | (Shaft, drive (ll type); L:881, from 57110-93420) | | под заказ | 0 руб. |
| 3 | 57110-93422-000 | (актуальный код замены) Запчасть снята с производства - The Spare Part Is Laid Off | | под заказ | 0 руб. |
| 3 | 57110-93422-000 | (Shaft, drive (ll type); L:881, 2502-004014~) | | под заказ | 0 руб. |
| 4 | 57110-93430-000 | (Shaft, drive (ul type); L:950, to 57110-93432) | | под заказ | 0 руб. |
| 4 | 57110-93432-000 | (актуальный код замены) Запчасть снята с производства - The Spare Part Is Laid Off | | под заказ | 0 руб. |
| 4 | 57110-93432-000 | (Shaft, drive (ul type); L:950, 2502-003688~) | | под заказ | 0 руб. |
| 5 | 08331-31128-000 | Стопорное кольцо - Circlip (Circlip) | | под заказ | 130 руб. |
| 5 | 08331-3112A-000 | (актуальный код замены) Стопорное кольцо - Circlip | | 24 шт | 130 руб. |
| 5 | 08331-3112A-000 | Стопорное кольцо - Circlip (Circlip) | | 24 шт | 130 руб. |
| 6 | 56100-93812-000 | (To 56110-93400, model g) | | под заказ | 0 руб. |
| 6 | 56110-93400-000 | (актуальный код замены) Запчасть снята с производства - The Spare Part Is Laid Off | | под заказ | 0 руб. |
| 7 | 09263-17009-000 | (Bearing, housing; Model g) | | под заказ | 0 руб. |
| 8 | 09289-17004-000 | Сальник (17x30x9) - Seal, Oil (17x30x9) (Oil seal, bearing housing # Oil seal, housing; Model g ) (Seal, Oil (17x30x9)) | | 93 шт | 1050 руб. |
| 8 | SK09289-17004 | (не оригинальный аналог) Сальник ведущего вала Skipper для Suzuki Модели техники: DT25-30 | | 0 шт | 130 руб. |
| 8 | SC-OL021 | (не оригинальный аналог) Сальник редуктора Tohatsu SC-OL021 | | 1 шт | 250 руб. |
| 9 | 09387-28003-000 | (Model g) | | под заказ | 0 руб. |
| 9 | 09387-28004-000 | (актуальный код замены) Запчасть снята с производства - The Spare Part Is Laid Off | | под заказ | 0 руб. |
| 10 | 09202-04008-000 | Штифт (4x9) - Pin (4x9) (Pin, knock # Pin, housing; Model g ) (Pin (4x9)) | | 4 шт | 150 руб. |
| 11 | 09205-03010-000 | Стопор пружины (3x8) - Pin, Spring (3x8) (Model g) (Pin, Spring (3x8)) | | под заказ | 130 руб. |
| 11 | 09205-03032-000 | (актуальный код замены) Стопор пружины (3x8) - Pin, Spring (3x8) | | под заказ | 130 руб. |
| 11 | 09205-03032-000 | Стопор пружины (3x8) - Pin, Spring (3x8) (Pin (3x8) ) (Pin, Spring (3x8)) | | под заказ | 130 руб. |
| 12 | 09280-40004-000 | Уплотнительное кольцо (d: 3.5, Id: 40) - O Ring (d:35, Id:40) (O ring, bearing housing; Model g) (O Ring (d:3.5, Id:40)) | | под заказ | 0 руб. |
| 13 | 56110-93400-000 | (Model j/vz) | | под заказ | 0 руб. |
| 14 | 09202-04008-000 | Штифт (4x9) - Pin (4x9) (Pin, knock # Pin, housing; Model j/vz ) (Pin (4x9)) | | 4 шт | 150 руб. |
| 15 | 09205-03010-000 | Стопор пружины (3x8) - Pin, Spring (3x8) (Model j/vz) (Pin, Spring (3x8)) | | под заказ | 130 руб. |
| 15 | 09205-03032-000 | (актуальный код замены) Стопор пружины (3x8) - Pin, Spring (3x8) | | под заказ | 130 руб. |
| 15 | 09205-03032-000 | Стопор пружины (3x8) - Pin, Spring (3x8) (Pin (3x8) ) (Pin, Spring (3x8)) | | под заказ | 130 руб. |
| 16 | 09263-17009-000 | (Bearing, housing; Model j/vz) | | под заказ | 0 руб. |
| 17 | 09280-40004-000 | Уплотнительное кольцо (d: 3.5, Id: 40) - O Ring (d:35, Id:40) (O ring, bearing housing; Model j/vz) (O Ring (d:3.5, Id:40)) | | под заказ | 0 руб. |
| 18 | 09289-17004-000 | Сальник (17x30x9) - Seal, Oil (17x30x9) (Oil seal, bearing housing # Oil seal, housing; Model j/vz ) (Seal, Oil (17x30x9)) | | 93 шт | 1050 руб. |
| 18 | SK09289-17004 | (не оригинальный аналог) Сальник ведущего вала Skipper для Suzuki Модели техники: DT25-30 | | 0 шт | 130 руб. |
| 18 | SC-OL021 | (не оригинальный аналог) Сальник редуктора Tohatsu SC-OL021 | | 1 шт | 250 руб. |
| 19 | 09387-28003-000 | (Model j/vz) | | под заказ | 0 руб. |
| 19 | 09387-28004-000 | (актуальный код замены) Запчасть снята с производства - The Spare Part Is Laid Off | | под заказ | 0 руб. |
| 21 | 57300-93813-000 | (Model g) | | под заказ | 0 руб. |
| 21 | 57310-93005-000 | (актуальный код замены) Запчасть снята с производства - The Spare Part Is Laid Off | | под заказ | 0 руб. |
| 21 | 57310-93005-000 | (Pinion set; Model j/vz, from 57310-93813) | | под заказ | 0 руб. |
| 22 | 09381-12002-000 | | | под заказ | 0 руб. |
| 24 | 57510-93005-000 | (Model g, to 57510-93006) | | под заказ | 0 руб. |
| 24 | 57310-93810-000 | (актуальный код замены) Запчасть снята с производства - The Spare Part Is Laid Off | | под заказ | 0 руб. |
| 24 | 57510-93006-000 | (2502-003529~) | | под заказ | 0 руб. |
| 24 | 57310-93810-000 | (актуальный код замены) Запчасть снята с производства - The Spare Part Is Laid Off | | под заказ | 0 руб. |
| 25 | 09263-24010-000 | Подшипник (24x32x20) - Bearing (24x32x20) (Bearing, pinion (24x32x20) ) (Bearing (24x32x20)) | | под заказ | 3240 руб. |
| 26 | 57515-93000-000 | (See service manual) | | под заказ | 0 руб. |
| 26 | 57515-93001-000 | Шайба - Washer (Thrust washer (t:3) # Thrust washer, gear (t:3); ) (Washer) | | под заказ | 0 руб. |
| 28 | 57520-93004-000 | Шестерня обратного хода - Gear, Revers (To 57520-93005) (Gear, Revers) | | под заказ | 0 руб. |
| 28 | 57520-93005-000 | (актуальный код замены) Запчасть снята с производства - The Spare Part Is Laid Off | | под заказ | 0 руб. |
| 28 | 57520-93005-000 | Шестерня обратного хода - Gear, Revers (Gear, reverse (nt:21) ) (Gear, Revers) | | под заказ | 0 руб. |
| 28 | 57520-93005-000 | Шестерня обратного хода - Gear, Revers (Gear, reverse (nt:21) # Gear, reverse (nt:21); ) (Gear, Revers) | | под заказ | 0 руб. |
| 31 | 57610-93401-000 | (To 57610-93401) | | под заказ | 0 руб. |
| 31 | 57610-93402-000 | (актуальный код замены) Запчасть снята с производства - The Spare Part Is Laid Off | | под заказ | 0 руб. |
| 31 | 57610-93402-000 | | | под заказ | 0 руб. |
| 32 | 57621-93400-000 | (To 57621-93401) | | под заказ | 0 руб. |
| 32 | 57621-93401-000 | (актуальный код замены) Запчасть снята с производства - The Spare Part Is Laid Off | | под заказ | 0 руб. |
| 32 | 57621-93401-000 | | | под заказ | 0 руб. |
| 33 | 08211-16202-000 | Регулировочная шайба (16x20x1.5) - Shim (16x20x15) (Washer, gear (t:1.5);) (Shim (16x20x1.5)) | | под заказ | 0 руб. |
| 33 | 09181-16128-000 | (актуальный код замены) Запчасть снята с производства - The Spare Part Is Laid Off | | под заказ | 0 руб. |
| 33 | 09181-16128-000 | Регулировочная шайба (16x20x1.5) - Shim (16x20x15) (Washer, prop rev (t:1.5) ) (Shim (16x20x1.5)) | | под заказ | 0 руб. |
| 35 | 09289-15004-000 | Сальник (14.2x25x7) - Seal, Oil (142x25x7) (To 09289-15009, model g) (Seal, Oil (14.2x25x7)) | | под заказ | 0 руб. |
| 35 | 09289-15009-000 | (актуальный код замены) Запчасть снята с производства - The Spare Part Is Laid Off | | под заказ | 0 руб. |
| 35 | 09289-15009-000 | Сальник (14.2x25x7) - Seal, Oil (142x25x7) (Oil seal, drive shaft ) (Seal, Oil (14.2x25x7)) | | под заказ | 0 руб. |
| 35 | 09289-15009-000 | Сальник (14.2x25x7) - Seal, Oil (142x25x7) (Oil seal, drive shaft # Oil seal (15x25x7); * mark ) (Seal, Oil (14.2x25x7)) | | под заказ | 0 руб. |