Запчасти на подвесной двигатель Suzuki - Трансмиссия
вконтакте

Контактный телефон: +7 (981) 121-46-93, +7 (800) 200-90-76 , Email: parts-katalog@yandex.ru, где купить

 
 

  Логин:

Пароль:

Регистрация

www.partskatalog.ru Все каталоги Запчасти Mercury Запчасти Suzuki Запчасти Tohatsu Запчасти Honda Контакты



УВАЖАЕМЫЕ КЛИЕНТЫ!
C 19 ДЕКАБРЯ 2025 ПО 02 МАРТА 2026 ГОДА ОТДЕЛ ЗАПЧАСТЕЙ И СЕРВИС РАБОТАТЬ НЕ БУДУТ
ПРОДАЖА ЛОДОЧНЫХ МОТОРОВ В ШТАТНОМ РЕЖИМЕ
ОБ ИЗМЕНЕНИЯХ В ГРАФИКЕ РАБОТЫ ЧИТАЙТЕ НА САЙТА



назад Раздел:   вперёд

Вернуться к выбору узлов мотора


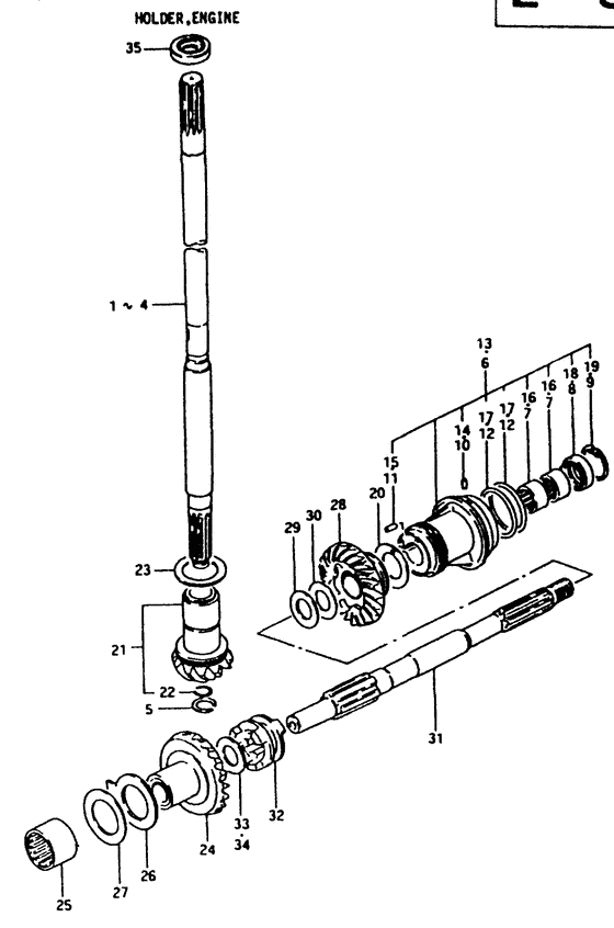
ДЕТАЛИРОВКА ДЛЯ МОДЕЛИ: SUZUKI DT25PJ(G/J/VZ) J

Трансмиссия


Год выпуска двигателя: 1988

Регион: General Export No.1 ,Код региона: P01

Номер на
рисунке
АртикулНаименованиеQTYКол-во
на складе
Цена
157110-93411-000

(From 57110-93410, l:711, model g)

под заказ0 руб.
157110-93412-000

   (актуальный код замены) Запчасть снята с производства - The Spare Part Is Laid Off

под заказ0 руб.
157110-93412-000

(Shaft, drive (s type); L:711, 2502-003395~)

под заказ0 руб.
257110-93401-000

(L:830, from 57110-93400, model g)

под заказ0 руб.
257110-93402-000

   (актуальный код замены) Запчасть снята с производства - The Spare Part Is Laid Off

под заказ0 руб.
257110-93402-000

(L:830, 2502-003345~)

под заказ0 руб.
357110-93421-000

(Shaft, drive (ll type); L:881, from 57110-93420)

под заказ0 руб.
357110-93422-000

   (актуальный код замены) Запчасть снята с производства - The Spare Part Is Laid Off

под заказ0 руб.
357110-93422-000

(Shaft, drive (ll type); L:881, 2502-004014~)

под заказ0 руб.
457110-93430-000

(Shaft, drive (ul type); L:950, to 57110-93432)

под заказ0 руб.
457110-93432-000

   (актуальный код замены) Запчасть снята с производства - The Spare Part Is Laid Off

под заказ0 руб.
457110-93432-000

(Shaft, drive (ul type); L:950, 2502-003688~)

под заказ0 руб.
508331-31128-000

Стопорное кольцо - Circlip (Circlip)

под заказ130 руб.
508331-3112A-000

   (актуальный код замены) Стопорное кольцо - Circlip

23 шт130 руб.
508331-3112A-000

Стопорное кольцо - Circlip (Circlip)

23 шт130 руб.
656100-93812-000

(To 56110-93400, model g)

под заказ0 руб.
656110-93400-000

   (актуальный код замены) Запчасть снята с производства - The Spare Part Is Laid Off

под заказ0 руб.
709263-17009-000

(Bearing, housing; Model g)

под заказ0 руб.
809289-17004-000

Сальник (17x30x9) - Seal, Oil (17x30x9) (Oil seal, bearing housing # Oil seal, housing; Model g ) (Seal, Oil (17x30x9))

92 шт1050 руб.
8SK09289-17004

   (не оригинальный аналог) Сальник ведущего вала Skipper для Suzuki Модели техники: DT25-30

0 шт130 руб.
8SC-OL021

   (не оригинальный аналог) Сальник редуктора Tohatsu SC-OL021

1 шт250 руб.
909387-28003-000

(Model g)

под заказ0 руб.
909387-28004-000

   (актуальный код замены) Запчасть снята с производства - The Spare Part Is Laid Off

под заказ0 руб.
1009202-04008-000

Штифт (4x9) - Pin (4x9) (Pin, knock # Pin, housing; Model g ) (Pin (4x9))

4 шт150 руб.
1109205-03010-000

Стопор пружины (3x8) - Pin, Spring (3x8) (Model g) (Pin, Spring (3x8))

под заказ130 руб.
1109205-03032-000

   (актуальный код замены) Стопор пружины (3x8) - Pin, Spring (3x8)

под заказ130 руб.
1109205-03032-000

Стопор пружины (3x8) - Pin, Spring (3x8) (Pin (3x8) ) (Pin, Spring (3x8))

под заказ130 руб.
1209280-40004-000

Уплотнительное кольцо (d: 3.5, Id: 40) - O Ring (d:35, Id:40) (O ring, bearing housing; Model g) (O Ring (d:3.5, Id:40))

под заказ0 руб.
1356110-93400-000

(Model j/vz)

под заказ0 руб.
1409202-04008-000

Штифт (4x9) - Pin (4x9) (Pin, knock # Pin, housing; Model j/vz ) (Pin (4x9))

4 шт150 руб.
1509205-03010-000

Стопор пружины (3x8) - Pin, Spring (3x8) (Model j/vz) (Pin, Spring (3x8))

под заказ130 руб.
1509205-03032-000

   (актуальный код замены) Стопор пружины (3x8) - Pin, Spring (3x8)

под заказ130 руб.
1509205-03032-000

Стопор пружины (3x8) - Pin, Spring (3x8) (Pin (3x8) ) (Pin, Spring (3x8))

под заказ130 руб.
1609263-17009-000

(Bearing, housing; Model j/vz)

под заказ0 руб.
1709280-40004-000

Уплотнительное кольцо (d: 3.5, Id: 40) - O Ring (d:35, Id:40) (O ring, bearing housing; Model j/vz) (O Ring (d:3.5, Id:40))

под заказ0 руб.
1809289-17004-000

Сальник (17x30x9) - Seal, Oil (17x30x9) (Oil seal, bearing housing # Oil seal, housing; Model j/vz ) (Seal, Oil (17x30x9))

92 шт1050 руб.
18SK09289-17004

   (не оригинальный аналог) Сальник ведущего вала Skipper для Suzuki Модели техники: DT25-30

0 шт130 руб.
18SC-OL021

   (не оригинальный аналог) Сальник редуктора Tohatsu SC-OL021

1 шт250 руб.
1909387-28003-000

(Model j/vz)

под заказ0 руб.
1909387-28004-000

   (актуальный код замены) Запчасть снята с производства - The Spare Part Is Laid Off

под заказ0 руб.
2157300-93813-000

(Model g)

под заказ0 руб.
2157310-93005-000

   (актуальный код замены) Запчасть снята с производства - The Spare Part Is Laid Off

под заказ0 руб.
2157310-93005-000

(Pinion set; Model j/vz, from 57310-93813)

под заказ0 руб.
2209381-12002-000

под заказ0 руб.
2457510-93005-000

(Model g, to 57510-93006)

под заказ0 руб.
2457310-93810-000

   (актуальный код замены) Запчасть снята с производства - The Spare Part Is Laid Off

под заказ0 руб.
2457510-93006-000

(2502-003529~)

под заказ0 руб.
2457310-93810-000

   (актуальный код замены) Запчасть снята с производства - The Spare Part Is Laid Off

под заказ0 руб.
2509263-24010-000

Подшипник (24x32x20) - Bearing (24x32x20) (Bearing, pinion (24x32x20) ) (Bearing (24x32x20))

под заказ3240 руб.
2657515-93000-000

(See service manual)

под заказ0 руб.
2657515-93001-000

Шайба - Washer (Thrust washer (t:3) # Thrust washer, gear (t:3); ) (Washer)

под заказ0 руб.
2857520-93004-000

Шестерня обратного хода - Gear, Revers (To 57520-93005) (Gear, Revers)

под заказ0 руб.
2857520-93005-000

   (актуальный код замены) Запчасть снята с производства - The Spare Part Is Laid Off

под заказ0 руб.
2857520-93005-000

Шестерня обратного хода - Gear, Revers (Gear, reverse (nt:21) ) (Gear, Revers)

под заказ0 руб.
2857520-93005-000

Шестерня обратного хода - Gear, Revers (Gear, reverse (nt:21) # Gear, reverse (nt:21); ) (Gear, Revers)

под заказ0 руб.
3157610-93401-000

(To 57610-93401)

под заказ0 руб.
3157610-93402-000

   (актуальный код замены) Запчасть снята с производства - The Spare Part Is Laid Off

под заказ0 руб.
3157610-93402-000

под заказ0 руб.
3257621-93400-000

(To 57621-93401)

под заказ0 руб.
3257621-93401-000

   (актуальный код замены) Запчасть снята с производства - The Spare Part Is Laid Off

под заказ0 руб.
3257621-93401-000

под заказ0 руб.
3308211-16202-000

Регулировочная шайба (16x20x1.5) - Shim (16x20x15) (Washer, gear (t:1.5);) (Shim (16x20x1.5))

под заказ0 руб.
3309181-16128-000

   (актуальный код замены) Запчасть снята с производства - The Spare Part Is Laid Off

под заказ0 руб.
3309181-16128-000

Регулировочная шайба (16x20x1.5) - Shim (16x20x15) (Washer, prop rev (t:1.5) ) (Shim (16x20x1.5))

под заказ0 руб.
3509289-15004-000

Сальник (14.2x25x7) - Seal, Oil (142x25x7) (To 09289-15009, model g) (Seal, Oil (14.2x25x7))

под заказ0 руб.
3509289-15009-000

   (актуальный код замены) Запчасть снята с производства - The Spare Part Is Laid Off

под заказ0 руб.
3509289-15009-000

Сальник (14.2x25x7) - Seal, Oil (142x25x7) (Oil seal, drive shaft ) (Seal, Oil (14.2x25x7))

под заказ0 руб.
3509289-15009-000

Сальник (14.2x25x7) - Seal, Oil (142x25x7) (Oil seal, drive shaft # Oil seal (15x25x7); * mark ) (Seal, Oil (14.2x25x7))

под заказ0 руб.


Время выполнения запроса 3.3814060688019 сек.

 
 

данный сайт носит информационный характер и не является публичной офертой

склад запчастей для водомоторной техники