Купить комплектующие на подвесной лодочный двигатель SUZUKI модель 1990 года - Driveshaft housing
вконтакте

Контактный телефон: +7 (981) 121-46-93, +7 (800) 200-90-76 , Email: parts-katalog@yandex.ru, где купить

 
 

  Логин:

Пароль:

Регистрация

www.partskatalog.ru Все каталоги Запчасти Mercury Запчасти Suzuki Запчасти Tohatsu Запчасти Honda Контакты

назад Раздел:   вперёд

Вернуться к выбору узлов мотора


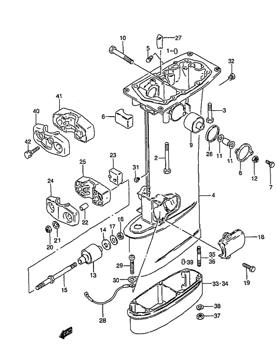
ДЕТАЛИРОВКА ДЛЯ МОДЕЛИ: SUZUKI DT25KL L

Корпус вала передачи


Год выпуска двигателя: 1990

Номер на
рисунке
АртикулНаименованиеQTYКол-во
на складе
Цена
109202-06015-000

Штифт (6x20) - Pin (6x20) (Knock pin # Pin (l:20); ) (Pin (6x20))

12 шт220 руб.
109202-06023-000

Штифт (6x10) - Pin (6x10) (Pin (l:10); Dt20:581008~, dt25:581908~, dt30:581873- ) (Pin (6x10))

6 шт290 руб.
209118-08098-000

Болт (8x85) - Bolt (8x85) (Bolt (8x85);) (Bolt (8x85))

под заказ570 руб.
209118-08172-000

   (актуальный код замены) Болт (8x85) - Bolt (8x85)

под заказ570 руб.
209118-08172-000

Болт (8x85) - Bolt (8x85) (Bolt (8x85))

под заказ570 руб.
309118-08090-000

Болт (8x52) - Bolt (8x52) (Bolt (8x50) # Bolt (8x50); ) (Bolt (8x52))

под заказ670 руб.
452111-96321-02M

(Dt20:-604319, dt25:-614534, dt25k:-602995, dt30:-617392)

под заказнет сведений
452117-94400-000

Трубка контрольной струи - Tube, Water Inspection (Tube, Water Inspection)

под заказ330 руб.
452111-96322-02M

(Dt20:604320-705873, dt25:614535-720217, dt25k:602996-703086, dt30:617393-722027)

под заказ0 руб.
452111-96342-0ED

Корпус вала передачи (s) (gray) - Housing, Drive Shaft (s) (gray) (Housing, drive shaft (s); Dt20:705874~, dt25:720218~, dt25k:703087~, dt30:722028~, ) (Housing, Drive Shaft (s) (gray))

под заказ0 руб.
452110-96360-0ED

Корпус вала передачи (s) (gray) - Housing, Drive Shaft (s) (gray) (Housing, drive shaft (s); Model:98-00) (Housing, Drive Shaft (s) (gray))

под заказ0 руб.
452110-96361-0ED

   (актуальный код замены) Запчасть снята с производства - The Spare Part Is Laid Off

под заказ0 руб.
452110-96361-0ED

Корпус вала передачи (s) (gray) - Housing, Drive Shaft (s) (gray) (Housing, Drive Shaft (s) (gray))

под заказ0 руб.
452111-96330-02M

(Dt20:-604319, dt25:-614534, dt25k:-602995, dt30:-617392)

под заказнет сведений
452117-94400-000

Трубка контрольной струи - Tube, Water Inspection (Tube, Water Inspection)

под заказ330 руб.
452125-96300-000

Втулка, Drain Hole №2 - Bush, Drain Hole No2 (Bush, drive housing no.2 ) (Bush, Drain Hole No.2)

под заказ420 руб.
452111-96331-02M

(Dt20:604320-705873, dt25:614535-720217, dt25k:602996-703086, dt30:617393-722027)

под заказнет сведений
452125-96300-000

Втулка, Drain Hole №2 - Bush, Drain Hole No2 (Bush, drive housing no.2 ) (Bush, Drain Hole No.2)

под заказ420 руб.
452111-96352-0ED

(Housing, drive shaft (l/ll/ul); Dt20:705874~, dt25:720218~, dt25k:703087~, dt30:722028~)

под заказ0 руб.
452110-96370-0ED

Корпус вала передачи (l) (gray) - Housing, Drive Shaft (l) (gray) (Housing, drive shaft (l/ll/ul); Model:98-00) (Housing, Drive Shaft (l) (gray))

под заказ56160 руб.
452110-96371-0ED

   (актуальный код замены) Корпус вала передачи (l) (gray) - Housing, Drive Shaft (l) (gray)

под заказ56160 руб.
452110-96371-0ED

Корпус вала передачи (l) (gray) - Housing, Drive Shaft (l) (gray) (Housing, Drive Shaft (l) (gray))

под заказ56160 руб.
552117-94400-000

Трубка контрольной струи - Tube, Water Inspection (Tube, water inspection; Dt20:604320~, dt25:614535~, dt25k:602958~, dt30:617068~, -model:97 ) (Tube, Water Inspection)

под заказ330 руб.
654121-96301-000

Крепление верхнего упора Reverse - Mount, Upr Thrust Reverse (Mounting, upper thrust reverse ) (Mount, Upr Thrust Reverse)

под заказ710 руб.
709117-06030-000

Болт (6x16) - Bolt (6x16) (Bolt (6x16) # Bolt (6x16); ) (Bolt (6x16))

под заказ220 руб.
854137-96301-0ED

под заказ0 руб.
954130-96320-000

Крепление, вышеr - Mount, Upr (Mounting, upper ) (Mount, Upr)

под заказ3220 руб.
1009100-10260-000

Болт (10x75) - Bolt (10x75) (Bolt (10x75) # Bolt (10x75); ) (Bolt (10x75))

под заказ1380 руб.
1109160-10082-000

Шайба (10.5x19x2) - Washer (105x19x2) (Washer # Washer (10.5x19x2); ) (Washer (10.5x19x2))

19 шт120 руб.
1209159-10050-000

Гайка - Nut (Nut)

8 шт250 руб.
1354160-96310-000

Крепление, Lwr - Mount, Lwr (Mounting, lower (s/l) # Mounting, lower (s/l); ) (Mount, Lwr)

под заказ4180 руб.
1354160-96320-000

Крепление, Lwr (ll / x) - Mount, Lwr (ll/x) (Mounting, lower (ll/ul) ) (Mount, Lwr (ll/x))

под заказ0 руб.
1454165-96310-000

Демпфер, Стопор - Damper, Stopper (Damper, reverse stopper ) (Damper, Stopper)

под заказ410 руб.
1454165-96311-000

   (актуальный код замены) Демфер обратного стопора - Damper, Reverse Stopper

под заказ410 руб.
1554166-96310-000

Болт, Lwr Крепление - Bolt, Lwr Mount (Bolt, Lwr Mount)

под заказ3870 руб.
1554166-96311-000

   (актуальный код замены) Болт, Lwr Крепление - Bolt, Lwr Mount

под заказ3870 руб.
1554166-96311-000

Болт, Lwr Крепление - Bolt, Lwr Mount (Bolt, Lwr Mount)

под заказ3870 руб.
1609140-10032-000

Гайка - Nut (Nut)

10 шт160 руб.
1709160-10083-000

Шайба (10.5x30x3.2) - Washer (105x30x32) (Washer (10.5x30x3.2) # Washer (10.5x30x3.2); ) (Washer (10.5x30x3.2))

под заказ230 руб.
1854221-96301-0ED

под заказ0 руб.
1854221-96320-0ED

Крышка, Lwr Крепление - Cover, Lwr Mount (Model:98-00) (Cover, Lwr Mount)

под заказ0 руб.
1854221-96321-0ED

   (актуальный код замены) Запчасть снята с производства - The Spare Part Is Laid Off

под заказ0 руб.
1854221-96321-0ED

Крышка, Lwr Крепление - Cover, Lwr Mount (Cover, Lwr Mount)

под заказ0 руб.
1909117-06032-000

Болт (6x30) - Bolt (6x30) (Bolt (6x30); ) (Bolt (6x30))

под заказ310 руб.
2009159-10050-000

Гайка - Nut (Nut)

8 шт250 руб.
2109160-10082-000

Шайба (10.5x19x2) - Washer (105x19x2) (Washer # Washer (10.5x19x2); ) (Washer (10.5x19x2))

19 шт120 руб.
2209180-10152-000

Проставка (10.2x14x19) - Spacer (102x14x19) (Spacer (id:10.1, od:13.8) # Spacer (id:10.1, od:13.8); -model:93 ) (Spacer (10.2x14x19))

под заказ590 руб.
2354151-96300-000

Крепление нижнего упора - Mount, Lwr Thrust (Mounting, lower thrust ) (Mount, Lwr Thrust)

под заказ570 руб.
2454211-96310-0ED

Кронштейн нижнего крепления дляward - Bracket, Lwr Mount Forward (Bracket, Lwr Mount Forward)

под заказ0 руб.
2454211-96321-0ED

   (актуальный код замены) Запчасть снята с производства - The Spare Part Is Laid Off

под заказ0 руб.
2454211-96321-0ED

Кронштейн нижнего крепления дляward - Bracket, Lwr Mount Forward (Bracket, Lwr Mount Forward)

под заказ0 руб.
2554212-96302-0ED

Кронштейн нижнего крепления Rr - Bracket, Lwr Mount Rr (Bracket, Lwr Mount Rr)

под заказ0 руб.
2554212-96311-0ED

   (актуальный код замены) Запчасть снята с производства - The Spare Part Is Laid Off

под заказ0 руб.
2554212-96311-0ED

Кронштейн нижнего крепления Rr - Bracket, Lwr Mount Rr (Bracket, Lwr Mount Rr)

под заказ0 руб.
2654138-96300-000

Гильза, вышеr Крепление - Sleeve, Upr Mount (Sleeve, upper mounting # Sleeve, upper mounting; ) (Sleeve, Upr Mount)

под заказ280 руб.
2717568-96300-000

Заглушкаe, Drive Sft Корпус Water - Pluge, Drive Sft Housing Water (Pluge, Drive Sft Housing Water)

под заказ540 руб.
2836894-95201-000

Lead (l: 165) - Lead (l:165) (Lead (l:165); ) (Lead (l:165))

под заказ1170 руб.
2909125-05050-000

Винт (5x8) - Screw (5x8) (Screw (5x8); ) (Screw (5x8))

под заказ150 руб.
3009161-05114-000

Шайба (5.2x11x1) - Washer (52x11x1) (Washer (5.2x11.0x1.0) # Washer (5.2x11x1); ) (Washer (5.2x11x1))

под заказ290 руб.
3152124-93901-000

(Bush, drive housing no.1; Model:88-97)

под заказ0 руб.
3252125-96300-000

Втулка, Drain Hole №2 - Bush, Drain Hole No2 (Bush, drive housing no.2 # Model:88-97 ) (Bush, Drain Hole No.2)

под заказ420 руб.
3352131-96332-0ED

(Case, extension (ll);)

под заказ0 руб.
3352131-96333-0ED

   (актуальный код замены) Запчасть снята с производства - The Spare Part Is Laid Off

под заказ0 руб.
3452131-96302-0ED

Удлинитель копуса (x) - Case, Extension (x) (Case, extension (ul);) (Case, Extension (x))

под заказ0 руб.
3452131-96304-0ED

   (актуальный код замены) Запчасть снята с производства - The Spare Part Is Laid Off

под заказ0 руб.
3452131-96304-0ED

Удлинитель копуса (x) - Case, Extension (x) (Case, Extension (x))

под заказ0 руб.
3452131-96303-0ED

Удлинитель копуса (x) - Case, Extension (x) (Case, extension (ul); Model:00) (Case, Extension (x))

под заказ0 руб.
3452131-96304-0ED

   (актуальный код замены) Запчасть снята с производства - The Spare Part Is Laid Off

под заказ0 руб.
3452131-96304-0ED

Удлинитель копуса (x) - Case, Extension (x) (Case, Extension (x))

под заказ0 руб.
3509108-08109-000

Болт под шпильку - Bolt, Stud (Stud bolt (ll); ) (Bolt, Stud)

под заказ0 руб.
3609108-08104-000

Болт под шпильку - Bolt, Stud (Stud bolt (ul) # Stud bolt (ul); ) (Bolt, Stud)

под заказ1560 руб.
3709140-08016-000

Гайка - Nut (Nut (ll/ul);) (Nut)

под заказ190 руб.
3709140-08023-XC0

Гайка - Nut (Nut)

14 шт190 руб.
3809162-08007-000

Шайба с блокировкой - Washer, Lock (Lock washer # Lock washer (ll/ul); ) (Washer, Lock)

под заказ160 руб.
3909202-06015-000

Штифт (6x20) - Pin (6x20) (Knock pin # Pin (l:20); Type:ll/ul ) (Pin (6x20))

12 шт220 руб.
4054211-96320-0ED

Кронштейн нижнего крепления дляward - Bracket, Lwr Mount Forward (Model:94-00) (Bracket, Lwr Mount Forward)

под заказ0 руб.
4054211-96321-0ED

   (актуальный код замены) Запчасть снята с производства - The Spare Part Is Laid Off

под заказ0 руб.
4054211-96321-0ED

Кронштейн нижнего крепления дляward - Bracket, Lwr Mount Forward (Bracket, Lwr Mount Forward)

под заказ0 руб.
4154212-96310-0ED

Кронштейн нижнего крепления Rr - Bracket, Lwr Mount Rr (Model:94-00) (Bracket, Lwr Mount Rr)

под заказ0 руб.
4154212-96311-0ED

   (актуальный код замены) Запчасть снята с производства - The Spare Part Is Laid Off

под заказ0 руб.
4154212-96311-0ED

Кронштейн нижнего крепления Rr - Bracket, Lwr Mount Rr (Bracket, Lwr Mount Rr)

под заказ0 руб.
4209117-08056-000

Болт (8x40) - Bolt (8x40) (Bolt, brkt lower mount (8x40); Model:94-00) (Bolt (8x40))

под заказ2010 руб.
4209117-08056-XC0

   (актуальный код замены) Болт (8x40) - Bolt (8x40)

под заказ2010 руб.
4209117-08056-XC0

Болт (8x40) - Bolt (8x40) (Bolt (8x40))

под заказ2010 руб.


Время выполнения запроса 5.7105479240417 сек.

 
 

данный сайт носит информационный характер и не является публичной офертой

склад запчастей для водомоторной техники