Купить запчасти на подвесной двигатель Suzuki модель 1990 года - Throttle control
вконтакте

Контактный телефон: +7 (981) 121-46-93, +7 (800) 200-90-76 , Email: parts-katalog@yandex.ru, где купить

 
 

  Логин:

Пароль:

Регистрация

www.partskatalog.ru Все каталоги Запчасти Mercury Запчасти Suzuki Запчасти Tohatsu Запчасти Honda Контакты



УВАЖАЕМЫЕ КЛИЕНТЫ!
C 19 ДЕКАБРЯ 2025 ПО 02 МАРТА 2026 ГОДА ОТДЕЛ ЗАПЧАСТЕЙ И СЕРВИС РАБОТАТЬ НЕ БУДУТ
ПРОДАЖА ЛОДОЧНЫХ МОТОРОВ В ШТАТНОМ РЕЖИМЕ
ОБ ИЗМЕНЕНИЯХ В ГРАФИКЕ РАБОТЫ ЧИТАЙТЕ НА САЙТА



назад Раздел:   вперёд

Вернуться к выбору узлов мотора


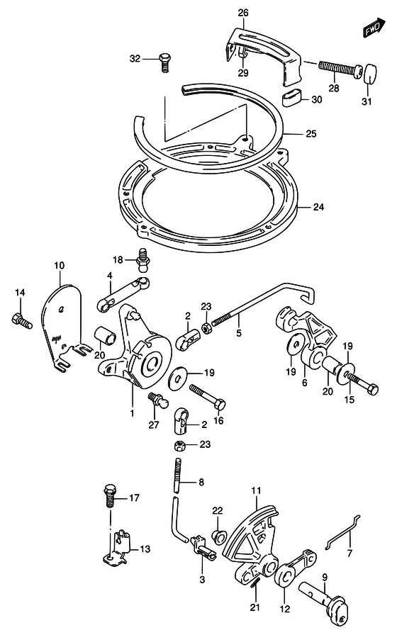
ДЕТАЛИРОВКА ДЛЯ МОДЕЛИ: SUZUKI DT25K L

Управление дросселем


Год выпуска двигателя: 1990

Номер на
рисунке
АртикулНаименованиеQTYКол-во
на складе
Цена
119121-96301-000

Рычаг управления дросселем - Lever, Throttle Control (Lever, Throttle Control)

под заказ1040 руб.
119121-91L00-000

   (актуальный код замены) Рычаг управления дросселем - Lever, Throttle Control

под заказ1040 руб.
119121-91L00-000

Рычаг управления дросселем - Lever, Throttle Control (Lever, Throttle Control)

под заказ1040 руб.
219131-95502-000

Коннектор - Connector (Connector, oil pump no.2 ) (Connector)

21 шт530 руб.
319131-96300-000

Фиксатор, Тяга Коннектор - Retainer, Rod Connector (Retainer, rod connector ) (Retainer, Rod Connector)

под заказ460 руб.
419132-95500-000

Коннектор - Connector (Connector ) (Connector)

под заказ340 руб.
519135-96301-000

Тяга - Rod (Rod)

под заказ960 руб.
619141-96301-000

Кулачок дросселя - Cam, Throttle (Cam, Throttle)

под заказ720 руб.
719654-96300-000

Тяга (Кулачок сцепления Пластина-nsi Lvr) - Rod (clutch Cam Plate-nsi Lvr) (Rod (clutch Cam Plate-nsi Lvr))

под заказ450 руб.
819656-96300-000

Тяга (limiter-th Рычаг) - Rod (limiter-th Lever) (Rod (limiter-th Lever))

под заказ460 руб.
919720-96302-000

Вал дроселя тросика ДУ - Shaft, Remocon Throttle (Shaft, Remocon Throttle)

под заказ3820 руб.
919720-91L00-000

   (актуальный код замены) Вал дроселя тросика ДУ - Shaft, Remocon Throttle

под заказ3820 руб.
919720-91L00-000

Вал дроселя тросика ДУ - Shaft, Remocon Throttle (Shaft, Remocon Throttle)

под заказ3820 руб.
1019761-96300-000

Станина тросика газа - Stay, Throttle Cable (Stay, Throttle Cable)

под заказ2910 руб.
1019761-91L00-000

   (актуальный код замены) Станина тросика газа - Stay, Throttle Cable

под заказ2910 руб.
1019761-96301-000

Станина тросика газа - Stay, Throttle Cable (Stay, Throttle Cable)

под заказ2910 руб.
1019761-91L00-000

   (актуальный код замены) Станина тросика газа - Stay, Throttle Cable

под заказ2910 руб.
1119811-96302-000

Ограничитель дросселя - Limiter, Throttle (Limitter, throttle # <-9811-96301-02M ) (Limiter, Throttle)

2 шт2350 руб.
1219851-96301-000

(<-9811-96301-01T)

под заказ0 руб.
1319861-96301-000

Станина NSI тросика - Stay, Nsi Cable (Stay, nsi cable ) (Stay, Nsi Cable)

под заказ370 руб.
1409100-06131-000

Болт (6x12) - Bolt (6x12) (Bolt (6x12))

под заказ160 руб.
1509100-06121-000

Болт (6x30) - Bolt (6x30) (Bolt, holder (6x30) ) (Bolt (6x30))

под заказ210 руб.
1509116-06232-000

   (актуальный код замены) Болт (6x30) - Bolt (6x30)

6 шт270 руб.
1609100-06121-000

Болт (6x30) - Bolt (6x30) (Bolt, holder (6x30) ) (Bolt (6x30))

под заказ210 руб.
1609116-06232-000

   (актуальный код замены) Болт (6x30) - Bolt (6x30)

6 шт270 руб.
1709103-06049-000

Болт (6x12) - Bolt (6x12) (Bolt (6x12))

9 шт180 руб.
1809119-05010-000

Стержень - Pivot (Pivot, throttle lever ) (Pivot)

под заказ500 руб.
1909160-06036-000

Шайба (6.5x18x1.5) - Washer (65x18x15) (Washer, 6.5x18x1.5 # MODEL:95 ) (Washer (6.5x18x1.5))

под заказ150 руб.
1909160-06046-000

Шайба (6.5x20x1.5) - Washer (65x20x15) (Washer (6.5x20x1.5) ) (Washer (6.5x20x1.5))

20 шт150 руб.
2009180-06105-000

Проставка (6.1x10x14) - Spacer (61x10x14) (Spacer (6.1x10x14) ) (Spacer (6.1x10x14))

под заказ440 руб.
2109205-04002-000

Стопор пружины (4x20) - Pin, Spring (4x20) (Pin, clutch lever ) (Pin, Spring (4x20))

48 шт150 руб.
2209306-10001-000

Втулка - Bush (Bush, clutch lever ) (Bush)

10 шт360 руб.
2308310-00057-000

Гайка - Nut (Nut)

под заказ140 руб.
2419151-96300-0ED

Фиксатор, Стартер - Retainer, Starter (Retainer, stator (gray) # <-9151-96300-02M <-9151-96300-01T ) (Retainer, Starter)

под заказ0 руб.
2519161-94301-000

под заказ0 руб.
2619172-96302-000

Стопор, Стартер - Stopper, Starter (<-9172-96301 ) (Stopper, Starter)

под заказ0 руб.
2709119-05010-000

Стержень - Pivot (Pivot, throttle lever ) (Pivot)

под заказ500 руб.
2809125-06080-000

под заказ0 руб.
2909140-06020-000

Гайка - Nut (Nut)

9 шт150 руб.
3009352-70103-600

Шланг (7x10.2x600) - Hose (7x102x600) (Cushion, r/con cable stopper # L:600->2 ) (Hose (7x10.2x600))

под заказ570 руб.
3009352-70104-600

   (актуальный код замены) Шланг (7x10.2x600) - Hose (7x10.2x600)

4 шт570 руб.
3109329-06002-000

Подушка - Cushion (Cushion, funnel ) (Cushion)

под заказ180 руб.
3109329-06003-000

   (актуальный код замены) Подушка - Cushion

под заказ180 руб.
3201570-05107-000

Болт - Bolt (Bolt)

под заказ190 руб.


Время выполнения запроса 1.3421881198883 сек.

 
 

данный сайт носит информационный характер и не является публичной офертой

склад запчастей для водомоторной техники