Запчасти на двигатель Suzuki модель 1992 года - Тяга / rod
вконтакте

Контактный телефон: +7 (981) 121-46-93, +7 (800) 200-90-76 , Email: parts-katalog@yandex.ru, где купить

 
 

  Логин:

Пароль:

Регистрация

www.partskatalog.ru Все каталоги Запчасти Mercury Запчасти Suzuki Запчасти Tohatsu Запчасти Honda Контакты



УВАЖАЕМЫЕ КЛИЕНТЫ!
C 19 ДЕКАБРЯ 2025 ПО 02 МАРТА 2026 ГОДА ОТДЕЛ ЗАПЧАСТЕЙ И СЕРВИС РАБОТАТЬ НЕ БУДУТ
ПРОДАЖА ЛОДОЧНЫХ МОТОРОВ В ШТАТНОМ РЕЖИМЕ
ОБ ИЗМЕНЕНИЯХ В ГРАФИКЕ РАБОТЫ ЧИТАЙТЕ НА САЙТА



назад Раздел:   вперёд

Вернуться к выбору узлов мотора


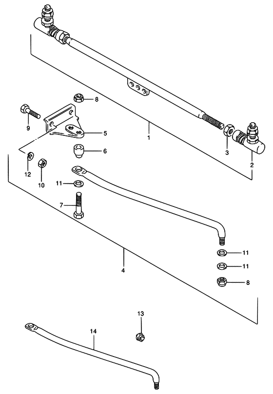
ДЕТАЛИРОВКА ДЛЯ МОДЕЛИ: SUZUKI DT25 N

Опции : tie-Тяга


Год выпуска двигателя: 1992

Цвет: California Gray Metallic

Номер на
рисунке
АртикулНаименованиеQTYКол-во
на складе
Цена
167600-95200-000

под заказ0 руб.
283450-93720-000

Соединитель, Рулевая система Шарик - Joint, Steering Ball (Joint, Steering Ball)

под заказ0 руб.
309140-12029-000

Гайка - Nut (Nut)

под заказ310 руб.
467701-94403-000

Рулевая тяга в сборе - Link Assy, Drag (STD:DT20R/30R) (Link Assy, Drag)

под заказ29760 руб.
467701-94420-000

   (актуальный код замены) Рулевая тяга в сборе - Link Assy, Drag

1 шт29760 руб.
467701-94420-000

Рулевая тяга в сборе - Link Assy, Drag (Link Assy, Drag)

1 шт29760 руб.
543755-96310-000

Соединитель кронштейна рулевой системы - Attachment, Steering Bracket (STD:DT20R/30R <-3755-96301) (Attachment, Steering Bracket)

под заказ15510 руб.
543755-96320-000

   (актуальный код замены) Соединитель кронштейна рулевой системы - Attachment, Steering Bracket

2 шт15510 руб.
543755-96320-000

Соединитель кронштейна рулевой системы - Attachment, Steering Bracket (Attachment, Steering Bracket)

2 шт15510 руб.
667721-94300-000

Проставка - Spacer (STD:DT20R/30R) (Spacer)

под заказ1510 руб.
667721-94310-000

   (актуальный код замены) Проставка - Spacer

под заказ1510 руб.
667721-94310-000

Проставка - Spacer (Spacer)

под заказ1510 руб.
767725-94501-000

Болт - Bolt (STD:DT20R/30R) (Bolt)

под заказ1200 руб.
767725-99E20-000

   (актуальный код замены) Болт переключающей тяги - Bolt, Drag Link

под заказ1200 руб.
767725-99E10-000

Болт - Bolt (Bolt)

под заказ1200 руб.
767725-99E20-000

   (актуальный код замены) Болт переключающей тяги - Bolt, Drag Link

под заказ1200 руб.
867726-99E00-000

Блокирующая гайка - Nut, Lock (STD:DT20R/30R <-7726-94500 ) (Nut, Lock)

3 шт800 руб.
909100-08224-000

Болт (8x35) - Bolt (8x35) (STD:DT20R/30R) (Bolt (8x35))

под заказ470 руб.
909100-08224-XC0

   (актуальный код замены) Болт (8x35) - Bolt (8x35)

40 шт470 руб.
909100-08224-XC0

Болт (8x35) - Bolt (8x35) (Bolt (8x35))

40 шт470 руб.
1009140-08016-000

Гайка - Nut (STD:DT20R/30R) (Nut)

под заказ190 руб.
1009140-08023-XC0

Гайка - Nut (Nut)

14 шт190 руб.
1167728-94501-000

Шайба - Washer (STD:DT20R/30R) (Washer)

под заказ260 руб.
1167728-99E00-000

   (актуальный код замены) Шайба - Washer

2 шт260 руб.
1167728-99E00-000

Шайба - Washer (Washer)

2 шт260 руб.
1209162-08007-000

Шайба с блокировкой - Washer, Lock (Lock washer # STD:DT20R/30R ) (Washer, Lock)

под заказ160 руб.
1341161-94400-000

Сальник рулевого кабеля - Seal, Steering Cable (Seal, steering cable # STD:DT20R/30R ) (Seal, Steering Cable)

16 шт1530 руб.
1467711-97E50-000

Соединитель, Drag - Link, Drag (Link, Drag)

под заказ11430 руб.
1467711-97E60-000

   (актуальный код замены) Соединитель, Drag - Link, Drag

под заказ11430 руб.
1467711-97E60-000

Соединитель, Drag - Link, Drag (Link, Drag)

под заказ11430 руб.


Время выполнения запроса 1.0504508018494 сек.

 
 

данный сайт носит информационный характер и не является публичной офертой

склад запчастей для водомоторной техники