| |
 |
|
 |
Вернуться к выбору узлов мотора
ДЕТАЛИРОВКА ДЛЯ МОДЕЛИ: SUZUKI DT25C P
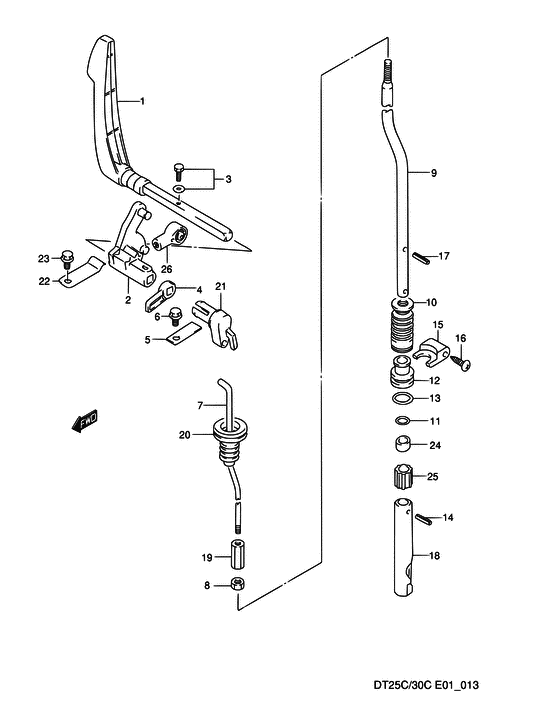
Сцепление
Код модели двигателя: DT25CS/L; DT25ACS/L
Год выпуска двигателя: 1993
Цвет: California Gray Metallic
Номер на рисунке | Артикул | Наименование | QTY | Кол-во на складе | Цена |
| 1 | 21110-95D01-000 | Запчасть снята с производства - The Spare Part Is Laid Off (<-1110-95D00) (The Spare Part Is Laid Off) | | под заказ | 0 руб. |
| 2 | 21121-95D01-000 | Пластина, Сцепление - Plate, Clutch (Plate, Clutch) | | под заказ | 0 руб. |
| 3 | 02162-05167-000 | Винт - Screw (Screw ) (Screw) | | под заказ | 150 руб. |
| 4 | 21313-95D00-000 | Рычаг, Reverse Переключатель - Arm, Reverse Switch (Arm, reverse switch ) (Arm, Reverse Switch) | | под заказ | 0 руб. |
| 5 | 21126-95D00-000 | Держатель вала сцепления - Holder, Clutch Shaft (Holder, clutch shaft ) (Holder, Clutch Shaft) | | под заказ | 240 руб. |
| 6 | 02162-06127-000 | Винт - Screw (Screw) | | под заказ | 150 руб. |
| 7 | 23111-95D02-000 | Тяга сцепления - Rod, Clutch (<-3111-95D01 ) (Rod, Clutch) | | под заказ | 0 руб. |
| 8 | 09140-06020-000 | Гайка - Nut (Nut) | | 9 шт | 150 руб. |
| 9 | 25111-96300-000 | Переключающая тяга (l) - Rod, Shift (l) (L:362 ) (Rod, Shift (l)) | | под заказ | 4230 руб. |
| 9 | 25111-96310-000 | Переключающая тяга (s) - Rod, Shift (s) (L:235 ) (Rod, Shift (s)) | | под заказ | 3290 руб. |
| 9 | 25111-96320-000 | Переключающая тяга (x) - Rod, Shift (x) (L:489 ) (Rod, Shift (x)) | | под заказ | 0 руб. |
| 10 | 25222-96300-000 | Башмак переключающей тяги Направляющая - Boot, Shift Rod Guide (Boot, Shift Rod Guide) | | под заказ | 820 руб. |
| 10 | 25222-96301-000 | (актуальный код замены) Башмак переключающей тяги Направляющая - Boot, Shift Rod Guide | | 17 шт | 930 руб. |
| 10 | SK25222-96300 | (не оригинальный аналог) Гофра тяги переключения передач Skipper для Suzuki DT25/30/40/DF25-30 | | 0 шт | 238 руб. |
| 11 | 09280-08005-000 | Уплотнительное кольцо (d: 1.7, Id: 7.7) - O Ring (d:17, Id:77) (O ring (d:1.8, id:7.6) ) (O Ring (d:1.7, Id:7.7)) | | 45 шт | 160 руб. |
| 12 | 25211-96301-000 | Направляющая переключающей тяги - Guide, Shift Rod (Guide, Shift Rod) | | под заказ | 1530 руб. |
| 12 | 25211-91L00-000 | (актуальный код замены) Направляющая переключающей тяги - Guide, Shift Rod | | под заказ | 1530 руб. |
| 12 | 25211-91L00-000 | Направляющая переключающей тяги - Guide, Shift Rod (Guide, Shift Rod) | | под заказ | 1530 руб. |
| 13 | 09280-13005-000 | Уплотнительное кольцо (d: 3.5, Id: 12.8) - O Ring (d:35, Id:128) (O ring, front hook ) (O Ring (d:3.5, Id:12.8)) | | 25 шт | 210 руб. |
| 14 | 09205-03021-000 | Стопор пружины (3.5x12) - Pin, Spring (35x12) (Pin, Spring (3.5x12)) | | под заказ | 120 руб. |
| 15 | 25215-96301-000 | Стопор переключателя направляющей тяги - Stopper, Shift Rod Guide (Stopper, shift rod guide ) (Stopper, Shift Rod Guide) | | под заказ | 460 руб. |
| 16 | 09139-04004-000 | Винт (4x12) - Screw (4x12) (Screw (4x12) ) (Screw (4x12)) | | под заказ | 110 руб. |
| 17 | 09205-02004-000 | Стопор пружины (2.5x12) - Pin, Spring (25x12) (Spring pin ) (Pin, Spring (2.5x12)) | | 13 шт | 100 руб. |
| 18 | 25311-96303-000 | Cam, Clatch Переключатель - Cam, Clatch Shift (Cam, Clatch Shift) | | 2 шт | 5170 руб. |
| 19 | 23311-95D00-000 | Buckle, Тяга сцепления Turn - Buckle, Clutch Rod Turn (Buckle, Clutch Rod Turn) | | под заказ | 630 руб. |
| 19 | 23311-95DL0-000 | (актуальный код замены) Buckle, Тяга сцепления Turn - Buckle, Clutch Rod Turn | | 13 шт | 640 руб. |
| 19 | 23311-95DL0-000 | Buckle, Тяга сцепления Turn - Buckle, Clutch Rod Turn (Buckle, Clutch Rod Turn) | | 13 шт | 640 руб. |
| 19 | SK23311-95DL0 | (не оригинальный аналог) Гайка соединительная тяги переключения передач Skipper для Suzuki DF9.9-DF15, DT25-40 | | 0 шт | 127 руб. |
| 19 | 23311-95D01-000 | Buckle, Тяга сцепления Turn - Buckle, Clutch Rod Turn (<-3311-94300) (Buckle, Clutch Rod Turn) | | под заказ | 630 руб. |
| 19 | 23311-95DL0-000 | (актуальный код замены) Buckle, Тяга сцепления Turn - Buckle, Clutch Rod Turn | | 13 шт | 640 руб. |
| 19 | 23311-95DL0-000 | Buckle, Тяга сцепления Turn - Buckle, Clutch Rod Turn (Buckle, Clutch Rod Turn) | | 13 шт | 640 руб. |
| 19 | SK23311-95DL0 | (не оригинальный аналог) Гайка соединительная тяги переключения передач Skipper для Suzuki DF9.9-DF15, DT25-40 | | 0 шт | 127 руб. |
| 20 | 23131-94400-000 | Boot, Сцепление - Boot, Clutch (Boot, Clutch) | | под заказ | 520 руб. |
| 20 | 23131-92L00-000 | (актуальный код замены) Boot, Сцепление - Boot, Clutch | | под заказ | 520 руб. |
| 20 | 23131-92L00-000 | Boot, Сцепление - Boot, Clutch (Boot, Clutch) | | под заказ | 520 руб. |
| 21 | 23211-94401-000 | Рукоятка тяги сцепления - Arm, Clutch Rod (Arm, Clutch Rod) | | 3 шт | 780 руб. |
| 22 | 23213-94400-000 | Пружина в паз сцепления - Spring, Clutch Notch (Spring, Clutch Notch) | | под заказ | 280 руб. |
| 23 | 02162-06127-000 | Винт - Screw (Screw) | | под заказ | 150 руб. |
| 24 | 25231-96301-000 | Держатель магнето - Holder, Magneto (Spacer, magnet ) (Holder, Magneto) | | под заказ | 220 руб. |
| 25 | 25232-96301-000 | Индуктор картера коробки передач - Magneto, Gear Case (Magneto, Gear Case) | | под заказ | 570 руб. |
| 25 | 25232-96302-000 | (актуальный код замены) Индуктор картера коробки передач - Magneto, Gear Case | | 2 шт | 690 руб. |
| 25 | 25232-96302-000 | Индуктор картера коробки передач - Magneto, Gear Case (Magneto, Gear Case) | | 2 шт | 690 руб. |
| 26 | 67467-94402-000 | Коннектор - Connector (DT30RC, 25RC, 25ARC (E34) <-7467-94401) (Connector) | | под заказ | 950 руб. |
| 26 | 67467-94404-000 | (актуальный код замены) Коннектор - Connector | | 4 шт | 1030 руб. |
| 26 | 67467-94404-000 | Коннектор - Connector (Connector) | | 4 шт | 1030 руб. |
Время выполнения запроса 1.4912610054016 сек. |
|