Подобрать оригинальные запчасти на подвесной лодочный мотор Suzuki модель 1994 года - Масляный насос
вконтакте

Контактный телефон: +7 (981) 121-46-93, +7 (800) 200-90-76 , Email: parts-katalog@yandex.ru, где купить

 
 

  Логин:

Пароль:

Регистрация

www.partskatalog.ru Все каталоги Запчасти Mercury Запчасти Suzuki Запчасти Tohatsu Запчасти Honda Контакты



УВАЖАЕМЫЕ КЛИЕНТЫ!
C 19 ДЕКАБРЯ 2025 ПО 02 МАРТА 2026 ГОДА ОТДЕЛ ЗАПЧАСТЕЙ И СЕРВИС РАБОТАТЬ НЕ БУДУТ
ПРОДАЖА ЛОДОЧНЫХ МОТОРОВ В ШТАТНОМ РЕЖИМЕ
ОБ ИЗМЕНЕНИЯХ В ГРАФИКЕ РАБОТЫ ЧИТАЙТЕ НА САЙТА



назад Раздел:   вперёд

Вернуться к выбору узлов мотора


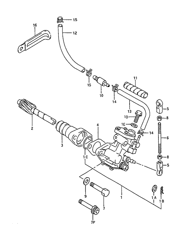
ДЕТАЛИРОВКА ДЛЯ МОДЕЛИ: SUZUKI DT25ACR(K-Y) R

Масляный насос


Год выпуска двигателя: 1994

Номер на
рисунке
АртикулНаименованиеQTYКол-во
на складе
Цена
116100-95D20-000

Масляный насос в сборе - Pump Assy, Oil (Pump Assy, Oil)

под заказ0 руб.
113432-33100-000

Шайба - Washer (Washer)

под заказ330 руб.
116195-87D00-000

Штифт, Защелка - Pin, Snap (Pin; ) (Pin, Snap)

под заказ250 руб.
116198-87D00-000

Уплотнительное кольцо, Масляный насос - O Ring, Oil Pump (O Ring, Oil Pump)

под заказ180 руб.
116091-94900-000

Болт - Bolt (Bolt)

под заказ390 руб.
116092-92440-000

Прокладка - Gasket (Gasket)

под заказ0 руб.
216331-95D00-000

Шестерня масляного насоса - Gear, Oil Pump Driven (Gear, oil pump driven ) (Gear, Oil Pump Driven)

под заказ3990 руб.
316340-95D00-000

Фиксатор, Масляный насос - Retainer, Oil Pump (Retainer, oil pump ) (Retainer, Oil Pump)

под заказ0 руб.
416731-95520-000

Прокладка масляного насоса - Gasket, Oil Pump (Gasket, oil pump retainer ) (Gasket, Oil Pump)

под заказ0 руб.
519131-95502-000

Коннектор - Connector (Connector, oil pump no.2 ) (Connector)

21 шт530 руб.
619136-94301-000

Тяга, InterСоединитель - Rod, Interlink (Rod, clutch lever (l:60) # Rod, oil pump control; ) (Rod, Interlink)

под заказ700 руб.
709119-06067-000

Запчасть снята с производства - The Spare Part Is Laid Off (Bolt (6x30); -model:95) (The Spare Part Is Laid Off)

под заказ0 руб.
707130-06307-000

Болт - Bolt (Model:96-00 ) (Bolt)

под заказ260 руб.
809140-05005-000

Гайка - Nut (Nut)

10 шт270 руб.
908322-01067-000

Шайба - Washer (-model:95 ) (Washer)

10 шт160 руб.
1016710-92E01-000

Контрольный клапан (single) - Valve, Check (single) (Valve, check (single); ) (Valve, Check (single))

под заказ2060 руб.
1116911-92E20-000

Защита (9x11x540) - Protector (9x11x540) (Protector; L:540->130 ) (Protector (9x11x540))

под заказ810 руб.
1209351-50803-600

Шланг (5x8x1000) - Hose (5x8x1000) (Hose, oil (valve to 3 way); L:600->40) (Hose (5x8x1000))

под заказ360 руб.
1209351-50803-00A

   (актуальный код замены) Шланг (5x8x1000) - Hose (5x8x1000)

под заказ360 руб.
1209351-50803-00A

Шланг (5x8x1000) - Hose (5x8x1000) (Hose (5x8x1000))

под заказ360 руб.
1309355-25705-600

Шланг (2.5x7x600) - Hose (25x7x600) (Hose, out no.4 (2.5x7x300) # Hose, oil (pump to valve); L:600->160 ) (Hose (2.5x7x600))

под заказ680 руб.
1309355-25001-600

   (актуальный код замены) Шланг - Hose

под заказ680 руб.
1409401-06405-000

Зажим - Clip (Clip)

под заказ160 руб.
1509401-07403-000

Зажим - Clip (Clip)

под заказ160 руб.
1509401-08409-000

   (актуальный код замены) Зажим - Clip

под заказ160 руб.
1509401-08409-000

Зажим - Clip (Clip)

под заказ160 руб.
1609404-06432-000

Струбцина (l: 65) - Clamp (l:65) (Clamp (l:80) # Clamp (l:80); ) (Clamp (l:65))

8 шт170 руб.
1609404-06039-000

   (актуальный код замены) Струбцина (l: 65) - Clamp (l:65)

под заказ170 руб.
1609404-08206-000

Струбцина (l: 65 T: 0.8) - Clamp (l:65 T:08) (Clamp # Clamp (l:82); ) (Clamp (l:65 T:0.8))

под заказ230 руб.


Время выполнения запроса 1.4289491176605 сек.

 
 

данный сайт носит информационный характер и не является публичной офертой

склад запчастей для водомоторной техники