Купить комплектующие на подвесной мотор Suzuki модель 1996 года - Барабанный стартер
вконтакте

Контактный телефон: +7 (981) 121-46-93, +7 (800) 200-90-76 , Email: parts-katalog@yandex.ru, где купить

 
 

  Логин:

Пароль:

Регистрация

www.partskatalog.ru Все каталоги Запчасти Mercury Запчасти Suzuki Запчасти Tohatsu Запчасти Honda Контакты

назад Раздел:   вперёд

Вернуться к выбору узлов мотора


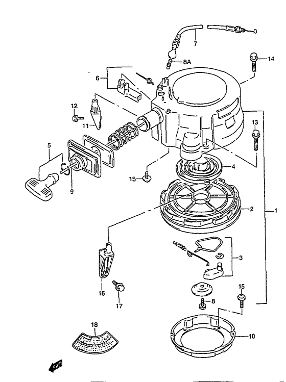
ДЕТАЛИРОВКА ДЛЯ МОДЕЛИ: SUZUKI DT25KT T

Барабанный стартер


Год выпуска двигателя: 1996

Номер на
рисунке
АртикулНаименованиеQTYКол-во
на складе
Цена
118100-96321-000

Барабанный стартер в сборе - Starter Assy, Recoil (Starter Assy, Recoil)

под заказ60480 руб.
118100-91L00-000

   (актуальный код замены) Барабанный стартер в сборе - Starter Assy, Recoil

1 шт60480 руб.
118100-91L00-000

Барабанный стартер в сборе - Starter Assy, Recoil (Starter Assy, Recoil)

1 шт60480 руб.
218120-96320-000

Барабан в сборе - Reel Assy (Reel Assy)

3 шт6520 руб.
318130-96321-000

Храповик, установочный комплект - Ratchet Set (Ratchet Set)

6 шт3110 руб.
418142-96300-000

Пружина - Spring (Spring)

под заказ4180 руб.
518210-93002-000

Рукоятка в сборе - Grip Assy (Grip assy; ) (Grip Assy)

1 шт1150 руб.
618280-96320-000

Nsi Set - Nsi Set (Nsi Set)

2 шт720 руб.
701570-06167-000

Болт - Bolt (Bolt)

под заказ190 руб.
818290-96310-000

Провод - Wire (Wire)

под заказ3990 руб.
818290-91L00-000

   (актуальный код замены) Провод - Wire

2 шт3990 руб.
818290-91L00-000

Провод - Wire (Wire)

2 шт3990 руб.
818290-91L00-000

Провод - Wire (Wire)

2 шт3990 руб.
818293-96310-000

Пружина, Nsi Кабели - Spring, Nsi Cable (Spring, Nsi Cable)

1 шт490 руб.
999000-81159-50M

Шнур стартера 6 ммdia, 50m Role - Starter Rope 6mmdia, 50m Role (Opt, l:50000->1750 ) (Starter Rope 6mmdia, 50m Role)

под заказ29280 руб.
999000-81159-01M

   (актуальный код замены) Шнур стартера 6 Mm (1 Metr) Na Otrez - Starter Rope 6 Mm (1 Metr) Na Otrez

49 шт590 руб.
1018411-96300-000

Чаша стартера - Cup, Starter (Cup, Starter)

под заказ3510 руб.
1018411-96301-000

   (актуальный код замены) Чаша стартера - Cup, Starter

1 шт3510 руб.
1018411-96301-000

Чаша стартера - Cup, Starter (Cup, Starter)

1 шт3510 руб.
1118711-96303-0ED

Brace, Recoil Stbd (gray) - Brace, Recoil Stbd (gray) (Brace, Recoil Stbd (gray))

под заказ0 руб.
1202162-06207-000

Винт - Screw (Bolt # Blace stbd ) (Screw)

под заказ150 руб.
1302162-06257-000

Винт - Screw (Bolt ) (Screw)

7 шт150 руб.
1401550-08257-000

Болт - Bolt (Bolt)

под заказ300 руб.
1502112-06087-000

Винт - Screw (Screw)

под заказ120 руб.
1618721-96303-0ED

Brace, Recoil Port (gray) - Brace, Recoil Port (gray) (Manual starter ) (Brace, Recoil Port (gray))

под заказ0 руб.
1701580-08257-000

Болт - Bolt (Manual starter ) (Bolt)

9 шт240 руб.
1861582-98110-000

Маркировка, Warning - Mark, Warning (Mark, Warning)

под заказ0 руб.


Время выполнения запроса 2.0088441371918 сек.

 
 

данный сайт носит информационный характер и не является публичной офертой

склад запчастей для водомоторной техники