Купить оригинальные запчасти на подвесной двигатель Suzuki - Inlet case
вконтакте

Контактный телефон: +7 (981) 121-46-93, +7 (800) 200-90-76 , Email: parts-katalog@yandex.ru, где купить

 
 

  Логин:

Пароль:

Регистрация

www.partskatalog.ru Все каталоги Запчасти Mercury Запчасти Suzuki Запчасти Tohatsu Запчасти Honda Контакты

назад Раздел:   вперёд

Вернуться к выбору узлов мотора


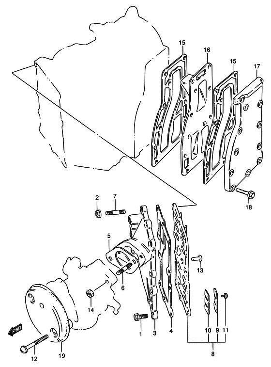
ДЕТАЛИРОВКА ДЛЯ МОДЕЛИ: SUZUKI DT25 W

вход case


Год выпуска двигателя: 1998

Номер на
рисунке
АртикулНаименованиеQTYКол-во
на складе
Цена
102162-06257-000

Винт - Screw (Bolt ) (Screw)

7 шт150 руб.
208316-10067-000

Гайка - Nut (Nut)

под заказ170 руб.
312481-96380-0ED

Case, вход - Case, Inlet (<-2481-96353-02M <-2481-96353-01T <-2481-96353-0ED <-2481-96360-01T ) (Case, Inlet)

под заказ0 руб.
413121-96400-000

Прокладка, вход Case - Gasket, Inlet Case (<-3121-96350, <-3121-96410 ) (Gasket, Inlet Case)

2 шт820 руб.
513125-95210-000

Прокладка карбюратора - Gasket, Carburetor (Gasket, carburetor # <-3125-95200 ) (Gasket, Carburetor)

7 шт480 руб.
601411-08207-000

Болт под шпильку - Bolt, Stud (Bolt, Stud)

под заказ130 руб.
601411-0820A-000

   (актуальный код замены) Болт под шпильку - Bolt, Stud

под заказ130 руб.
601411-0820A-000

Болт под шпильку - Bolt, Stud (Bolt, Stud)

под заказ130 руб.
701411-06207-000

Болт под шпильку - Bolt, Stud (Bolt, Stud)

под заказ130 руб.
701411-0620A-000

   (актуальный код замены) Болт под шпильку - Bolt, Stud

под заказ130 руб.
701411-0620A-000

Болт под шпильку - Bolt, Stud (Bolt, Stud)

под заказ130 руб.
813150-96300-000

Язычковый клапан, в сборе - Valve Assy, Reed (Valve Assy, Reed)

4 шт16420 руб.
813150-91L00-000

   (актуальный код замены) Язычковый клапан, в сборе - Valve Assy, Reed

под заказ16420 руб.
813150-91L00-000

Язычковый клапан, в сборе - Valve Assy, Reed (Valve Assy, Reed)

под заказ16420 руб.
913152-96300-000

Стопор язычкового клапана - Stopper, Reed Valve (Stopper, Reed Valve)

под заказ960 руб.
913152-91L00-000

   (актуальный код замены) Стопор язычкового клапана - Stopper, Reed Valve

под заказ960 руб.
913152-91L00-000

Стопор язычкового клапана - Stopper, Reed Valve (Stopper, Reed Valve)

под заказ960 руб.
1013153-96300-000

Язычковый клапан - Valve, Reed (Valve, Reed)

под заказ1110 руб.
1013153-91L00-000

   (актуальный код замены) Язычковый клапан - Valve, Reed

под заказ1110 руб.
1013153-91L00-000

Язычковый клапан - Valve, Reed (Valve, Reed)

под заказ1110 руб.
1102112-33063-000

Винт - Screw (Screw)

под заказ140 руб.
1102112-3306A-000

   (актуальный код замены) Винт - Screw

под заказ140 руб.
1102112-3306A-000

Винт - Screw (Screw)

под заказ140 руб.
1202142-06357-000

Винт - Screw (Screw ) (Screw)

под заказ120 руб.
1302122-06163-000

Винт - Screw (Screw)

под заказ140 руб.
1302122-0616B-000

   (актуальный код замены) Винт - Screw

под заказ140 руб.
1302122-0616B-000

Винт - Screw (Screw, intake pipe ) (Screw)

под заказ140 руб.
1408316-10087-000

Гайка - Nut (Nut)

14 шт170 руб.
1514151-96311-000

Прокладка кожуха выхлопной трубы - Gasket, Exhaust Cover (Gasket, exhaust cover # <-4151-96300 <-4151-96310 ) (Gasket, Exhaust Cover)

24 шт1400 руб.
15SMO-14151-96311-000

   (не оригинальный аналог) Прокладка SMO-14151-96311-000 кожуха выхлопной трубы (без упаковки) - оригинал Suzuki

под заказ950 руб.
15SK14151-96311

   (не оригинальный аналог) Прокладка крышки выхлопа Skipper для Suzuki Модели техники: DT20-30

0 шт381 руб.
15SMO-14151-96311-000

  (аналог) Прокладка SMO-14151-96311-000 кожуха выхлопной трубы (без упаковки) - оригинал Suzuki - код 14151-96311-000

 под заказ шт950 руб.
1614131-96301-000

Запчасть снята с производства - The Spare Part Is Laid Off (The Spare Part Is Laid Off)

под заказ0 руб.
1714141-96301-0ED

Крышка Set, Выхлоп - Cover Set, Exhaust (<-4141-96301-02M <-4141-96301-01T) (Cover Set, Exhaust)

под заказ11810 руб.
1714140-91L00-000

   (актуальный код замены) Крышка Set, Выхлоп - Cover Set, Exhaust

под заказ11810 руб.
1714140-91L00-000

Крышка Set, Выхлоп - Cover Set, Exhaust (Cover Set, Exhaust)

под заказ11810 руб.
1802162-06257-000

Винт - Screw (Bolt ) (Screw)

7 шт150 руб.
1913811-96351-000

Корпус глушителя - Case, Silencer (Case, Silencer)

под заказ870 руб.


Время выполнения запроса 0.95919513702393 сек.

 
 

данный сайт носит информационный характер и не является публичной офертой

склад запчастей для водомоторной техники