Найти запчасти на лодочный подвесной мотор Suzuki DT25CS/L модель 1999 года - Корпус вала передачи / Driveshaft housing
вконтакте

Контактный телефон: +7 (981) 121-46-93, +7 (800) 200-90-76 , Email: parts-katalog@yandex.ru, где купить

 
 

  Логин:

Пароль:

Регистрация

www.partskatalog.ru Все каталоги Запчасти Mercury Запчасти Suzuki Запчасти Tohatsu Запчасти Honda Контакты



УВАЖАЕМЫЕ КЛИЕНТЫ!
C 19 ДЕКАБРЯ 2025 ПО 02 МАРТА 2026 ГОДА ОТДЕЛ ЗАПЧАСТЕЙ И СЕРВИС РАБОТАТЬ НЕ БУДУТ
ПРОДАЖА ЛОДОЧНЫХ МОТОРОВ В ШТАТНОМ РЕЖИМЕ
ОБ ИЗМЕНЕНИЯХ В ГРАФИКЕ РАБОТЫ ЧИТАЙТЕ НА САЙТА



назад Раздел:   вперёд

Вернуться к выбору узлов мотора


ДЕТАЛИРОВКА ДЛЯ МОДЕЛИ: SUZUKI DT25CX(K-Y) X

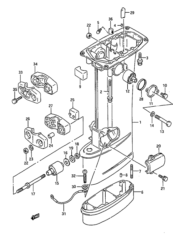
Корпус вала передачи


Код модели двигателя: DT25CS/L

Год выпуска двигателя: 1999

Регион: General Export No.1 ,Код региона: P01

Цвет: California Gray Metallic

Номер на
рисунке
АртикулНаименованиеQTYКол-во
на складе
Цена
152111-95D13-0ED

Запчасть снята с производства - The Spare Part Is Laid Off (Housing, drive shaft (s);) (The Spare Part Is Laid Off)

под заказ0 руб.
152111-95D02-0ED

Запчасть снята с производства - The Spare Part Is Laid Off (Housing, drive shaft (l/ul);) (The Spare Part Is Laid Off)

под заказ0 руб.
209118-08098-000

Болт (8x85) - Bolt (8x85) (Bolt (8x87);) (Bolt (8x85))

под заказ570 руб.
209118-08172-000

   (актуальный код замены) Болт (8x85) - Bolt (8x85)

под заказ570 руб.
209118-08172-000

Болт (8x85) - Bolt (8x85) (Bolt (8x85))

под заказ570 руб.
309118-08090-000

Болт (8x52) - Bolt (8x52) (Bolt (8x50) # Bolt (8x52); ) (Bolt (8x52))

под заказ670 руб.
409202-06023-000

Штифт (6x10) - Pin (6x10) (Pin; ) (Pin (6x10))

6 шт290 руб.
552117-94400-000

Трубка контрольной струи - Tube, Water Inspection (Tube, water inspection; ) (Tube, Water Inspection)

под заказ330 руб.
652131-96302-0ED

Удлинитель копуса (x) - Case, Extension (x) (Case, extension (ul);) (Case, Extension (x))

под заказ0 руб.
652131-96304-0ED

   (актуальный код замены) Запчасть снята с производства - The Spare Part Is Laid Off

под заказ0 руб.
652131-96304-0ED

Удлинитель копуса (x) - Case, Extension (x) (Case, Extension (x))

под заказ0 руб.
709108-08104-000

Болт под шпильку - Bolt, Stud (Stud bolt (ul) # Stud bolt (ul); ) (Bolt, Stud)

под заказ1560 руб.
809202-06015-000

Штифт (6x20) - Pin (6x20) (Knock pin # Pin; ) (Pin (6x20))

12 шт220 руб.
954121-96301-000

Крепление верхнего упора Reverse - Mount, Upr Thrust Reverse (Mounting, upper thrust reverse ) (Mount, Upr Thrust Reverse)

под заказ710 руб.
1009117-06030-000

Болт (6x16) - Bolt (6x16) (Bolt (6x16) # Bolt (6x16); ) (Bolt (6x16))

под заказ220 руб.
1154137-96301-0ED

Запчасть снята с производства - The Spare Part Is Laid Off (The Spare Part Is Laid Off)

под заказ0 руб.
1254130-95D01-000

Крепление, вышеr (s / l) - Mount, Upr (s/l) (Mounting, upper (s/l) # Mounting, upper (s/l); ) (Mount, Upr (s/l))

под заказ0 руб.
1254130-95D10-000

Запчасть снята с производства - The Spare Part Is Laid Off (The Spare Part Is Laid Off)

под заказ0 руб.
1254130-95D11-000

   (актуальный код замены) Запчасть снята с производства - The Spare Part Is Laid Off

под заказ0 руб.
1309100-10220-000

Болт (10x35) - Bolt (10x35) (Bolt (10x35) # Bolt (10x35); ) (Bolt (10x35))

под заказ1040 руб.
1409162-10005-000

Шайба с блокировкой - Washer, Lock (Lock washer ) (Washer, Lock)

под заказ130 руб.
1554160-95D00-000

Крепление, Lwr - Mount, Lwr (Mounting, lower (s/l) # Mounting, lower (s/l); ) (Mount, Lwr)

под заказ0 руб.
1554160-96320-000

Крепление, Lwr (ll / x) - Mount, Lwr (ll/x) (Mounting, lower (ll/ul) ) (Mount, Lwr (ll/x))

под заказ0 руб.
1654165-96310-000

Демпфер, Стопор - Damper, Stopper (Damper, reverse stopper ) (Damper, Stopper)

под заказ410 руб.
1654165-96311-000

   (актуальный код замены) Демфер обратного стопора - Damper, Reverse Stopper

под заказ410 руб.
1754166-96310-000

Болт, Lwr Крепление - Bolt, Lwr Mount (Bolt, Lwr Mount)

под заказ3870 руб.
1754166-96311-000

   (актуальный код замены) Болт, Lwr Крепление - Bolt, Lwr Mount

под заказ3870 руб.
1754166-96311-000

Болт, Lwr Крепление - Bolt, Lwr Mount (Bolt, Lwr Mount)

под заказ3870 руб.
1809140-10032-000

Гайка - Nut (Nut)

10 шт160 руб.
1909160-10083-000

Шайба (10.5x30x3.2) - Washer (105x30x32) (Washer (10.5x30x3.2) ) (Washer (10.5x30x3.2))

под заказ230 руб.
2054221-96301-0ED

Запчасть снята с производства - The Spare Part Is Laid Off (Cover, lower mounting;) (The Spare Part Is Laid Off)

под заказ0 руб.
2109117-06032-000

Болт (6x30) - Bolt (6x30) (Bolt (6x30); ) (Bolt (6x30))

под заказ310 руб.
2209159-10050-000

Гайка - Nut (Nut)

8 шт250 руб.
2309160-10082-000

Шайба (10.5x19x2) - Washer (105x19x2) (Washer # Washer (10.5x19x2); ) (Washer (10.5x19x2))

19 шт120 руб.
2409180-10152-000

Проставка (10.2x14x19) - Spacer (102x14x19) (Spacer (id:10.1, od:13.8) # -model:92 ) (Spacer (10.2x14x19))

под заказ590 руб.
2554151-96300-000

Крепление нижнего упора - Mount, Lwr Thrust (Mounting, lower thrust ) (Mount, Lwr Thrust)

под заказ570 руб.
2654211-96310-0ED

Кронштейн нижнего крепления дляward - Bracket, Lwr Mount Forward (-model:92) (Bracket, Lwr Mount Forward)

под заказ0 руб.
2654211-96321-0ED

   (актуальный код замены) Запчасть снята с производства - The Spare Part Is Laid Off

под заказ0 руб.
2654211-96321-0ED

Кронштейн нижнего крепления дляward - Bracket, Lwr Mount Forward (Bracket, Lwr Mount Forward)

под заказ0 руб.
2754212-96302-0ED

Кронштейн нижнего крепления Rr - Bracket, Lwr Mount Rr (-model:92) (Bracket, Lwr Mount Rr)

под заказ0 руб.
2754212-96311-0ED

   (актуальный код замены) Запчасть снята с производства - The Spare Part Is Laid Off

под заказ0 руб.
2754212-96311-0ED

Кронштейн нижнего крепления Rr - Bracket, Lwr Mount Rr (Bracket, Lwr Mount Rr)

под заказ0 руб.
2854138-96300-000

Гильза, вышеr Крепление - Sleeve, Upr Mount (Sleeve, upper mounting # Sleeve, upper mounting; ) (Sleeve, Upr Mount)

под заказ280 руб.
2917568-96300-000

Заглушкаe, Drive Sft Корпус Water - Pluge, Drive Sft Housing Water (Plug, drive sft housing; -model:89 ) (Pluge, Drive Sft Housing Water)

под заказ540 руб.
3009161-05114-000

Шайба (5.2x11x1) - Washer (52x11x1) (Washer (5.2x11.0x1.0) # Washer; ) (Washer (5.2x11x1))

под заказ290 руб.
3136894-95201-000

Lead (l: 165) - Lead (l:165) (Lead, l:165; ) (Lead (l:165))

под заказ1170 руб.
3209125-05050-000

Винт (5x8) - Screw (5x8) (Screw (5x8); ) (Screw (5x8))

под заказ150 руб.
3354211-96320-0ED

Кронштейн нижнего крепления дляward - Bracket, Lwr Mount Forward (Model:93-00) (Bracket, Lwr Mount Forward)

под заказ0 руб.
3354211-96321-0ED

   (актуальный код замены) Запчасть снята с производства - The Spare Part Is Laid Off

под заказ0 руб.
3354211-96321-0ED

Кронштейн нижнего крепления дляward - Bracket, Lwr Mount Forward (Bracket, Lwr Mount Forward)

под заказ0 руб.
3454212-96310-0ED

Кронштейн нижнего крепления Rr - Bracket, Lwr Mount Rr (Model:93-00) (Bracket, Lwr Mount Rr)

под заказ0 руб.
3454212-96311-0ED

   (актуальный код замены) Запчасть снята с производства - The Spare Part Is Laid Off

под заказ0 руб.
3454212-96311-0ED

Кронштейн нижнего крепления Rr - Bracket, Lwr Mount Rr (Bracket, Lwr Mount Rr)

под заказ0 руб.
3509117-08056-000

Болт (8x40) - Bolt (8x40) (Bolt (8x40); Model:93-00) (Bolt (8x40))

под заказ2010 руб.
3509117-08056-XC0

   (актуальный код замены) Болт (8x40) - Bolt (8x40)

под заказ2010 руб.
3509117-08056-XC0

Болт (8x40) - Bolt (8x40) (Bolt (8x40))

под заказ2010 руб.
3652112-95D00-000

Пыльник, Корпус вала передачи - Grommet, Drive Shaft Housing (Grommet, drive sft hsg # Model:95-00 ) (Grommet, Drive Shaft Housing)

под заказ0 руб.


Время выполнения запроса 2.3844089508057 сек.

 
 

данный сайт носит информационный характер и не является публичной офертой

склад запчастей для водомоторной техники