Комплектующие на подвесной двигатель Сузуки модель 1999 года - Water pump
вконтакте

Контактный телефон: +7 (981) 121-46-93, +7 (800) 200-90-76 , Email: parts-katalog@yandex.ru, где купить

 
 

  Логин:

Пароль:

Регистрация

www.partskatalog.ru Все каталоги Запчасти Mercury Запчасти Suzuki Запчасти Tohatsu Запчасти Honda Контакты



УВАЖАЕМЫЕ КЛИЕНТЫ!
C 19 ДЕКАБРЯ 2025 ПО 02 МАРТА 2026 ГОДА ОТДЕЛ ЗАПЧАСТЕЙ И СЕРВИС РАБОТАТЬ НЕ БУДУТ
ПРОДАЖА ЛОДОЧНЫХ МОТОРОВ В ШТАТНОМ РЕЖИМЕ
ОБ ИЗМЕНЕНИЯХ В ГРАФИКЕ РАБОТЫ ЧИТАЙТЕ НА САЙТА



назад Раздел:   вперёд

Вернуться к выбору узлов мотора


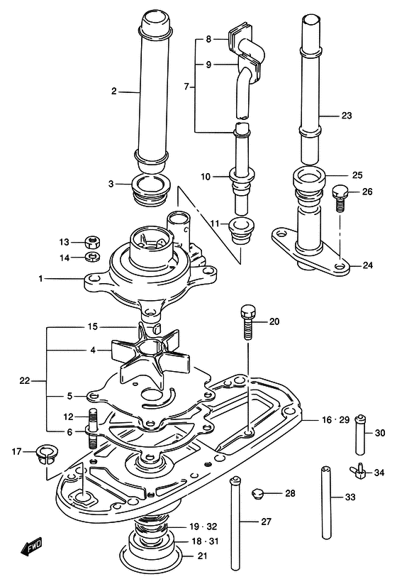
ДЕТАЛИРОВКА ДЛЯ МОДЕЛИ: SUZUKI DT25K X

Водяной насос


Год выпуска двигателя: 1999

Цвет: California Gray Metallic

Номер на
рисунке
АртикулНаименованиеQTYКол-во
на складе
Цена
117410-94431-000

Корпус водяного насоса - Case, Water Pump (E40, <-7410-94410 <-7410-94430) (Case, Water Pump)

под заказ11090 руб.
117410-92L00-000

   (актуальный код замены) Корпус водяного насоса - Case, Water Pump

2 шт13720 руб.
1SK17410-94431

   (не оригинальный аналог) Корпус помпы охлаждения Skipper для Suzuki DT20-40, DF40-50

0 шт3608 руб.
117410-92L00-000

Корпус водяного насоса - Case, Water Pump (Case, Water Pump)

2 шт13720 руб.
117411-94421-000

Корпус водяного насоса - Case, Water Pump (<-7411-94420 ) (Case, Water Pump)

5 шт12520 руб.
1SK17411-94421

   (не оригинальный аналог) Корпус помпы охлаждения Skipper для Suzuki DT20-40, DF25-50

0 шт3142 руб.
117411-94421

   (не оригинальный аналог) Корпус помпы охлаждения Suzuki 17411-94421

под заказ5760 руб.
217431-96302-000

Трубка сальника водяного насоса (l) - Tube, Water Pump Seal (l) (L:136 <-7431-96300) (Tube, Water Pump Seal (l))

под заказ1350 руб.
217431-91L00-000

   (актуальный код замены) Трубка сальника водяного насоса (l) - Tube, Water Pump Seal (l)

под заказ1350 руб.
217431-91L00-000

Трубка сальника водяного насоса (l) - Tube, Water Pump Seal (l) (Tube, Water Pump Seal (l))

под заказ1350 руб.
217431-96312-000

Трубка сальника водяного насоса (s) - Tube, Water Pump Seal (s) (L:29, <-7431-96311) (Tube, Water Pump Seal (s))

1 шт670 руб.
217431-91L10-000

   (актуальный код замены) Трубка сальника водяного насоса (s) - Tube, Water Pump Seal (s)

под заказ670 руб.
217431-91L10-000

Трубка сальника водяного насоса (s) - Tube, Water Pump Seal (s) (Tube, Water Pump Seal (s))

под заказ670 руб.
217431-96322-000

Трубка сальника водяного насоса (x) (l: 263) - Tube, Water Pump Seal (x) (l:263) (Tube, water pump seal (ul) # L:263 <-7431-96321 ) (Tube, Water Pump Seal (x) (l:263))

под заказ3030 руб.
217431-96332-000

Трубка сальника водяного насоса (ll) (l196) - Tube, Water Pump Seal (ll) (l196) (L:196, <-7431-96331 ) (Tube, Water Pump Seal (ll) (l196))

под заказ0 руб.
317432-96300-000

Пыльник сальника трубки водяного насоса - Grommet, Water Pump Seal Tube (Grommet, seal tube ) (Grommet, Water Pump Seal Tube)

под заказ280 руб.
317432-96301-000

   (актуальный код замены) Пыльник сальника трубки водяного насоса - Grommet, Water Pump Seal Tube

31 шт360 руб.
417461-96400-000

Крыльчатка водяного насоса - Impeller, Water Pump (Impeller, Water Pump)

под заказ5000 руб.
417461-964L0-000

   (актуальный код замены) Крыльчатка водяного насоса - Impeller, Water Pump

21 шт3430 руб.
4SC-WT104

   (не оригинальный аналог) Крыльчатка помпы охлаждения двигателя Suzuki SC-WT104

1 шт1060 руб.
417461-964L0-000

Крыльчатка водяного насоса - Impeller, Water Pump (Impeller, Water Pump)

21 шт3430 руб.
517471-94401-000

Панель в нижней части корпуса помпы - Panel, Pump Case Under (Panel, Pump Case Under)

6 шт1290 руб.
517471-94411-000

Панель в нижней части корпуса помпы - Panel, Pump Case Under (E40) (Panel, Pump Case Under)

под заказ5480 руб.
517471-92L00-000

   (актуальный код замены) Панель в нижней части корпуса помпы - Panel, Pump Case Under

под заказ5480 руб.
517471-92L00-000

Панель в нижней части корпуса помпы - Panel, Pump Case Under (Panel, Pump Case Under)

под заказ5480 руб.
617472-96301-000

Прокладка снизу корпуса водяного насоса - Gasket, Pump Case Under (Gasket, Pump Case Under)

под заказ270 руб.
617472-96304-000

   (актуальный код замены) Прокладка снизу корпуса водяного насоса - Gasket, Pump Case Under

26 шт360 руб.
617472-96303-000

Прокладка снизу корпуса водяного насоса - Gasket, Pump Case Under (Gasket, Pump Case Under)

под заказ270 руб.
617472-96304-000

   (актуальный код замены) Прокладка снизу корпуса водяного насоса - Gasket, Pump Case Under

26 шт360 руб.
6SK17472-96303

   (не оригинальный аналог) Прокладка под пластину водяного насоса Skipper для Suzuki DT25-40, DF20-50, DF40A-60A

0 шт129 руб.
717560-96303-000

Водяная трубка (l) - Tube, Water (l) (L:470 <-7560-96302) (Tube, Water (l))

под заказ5380 руб.
717560-91L01-000

   (актуальный код замены) Водяная трубка (l) - Tube, Water (l)

под заказ5380 руб.
717560-91L00-000

Водяная трубка (l) - Tube, Water (l) (Tube, Water (l))

под заказ5380 руб.
717560-91L01-000

   (актуальный код замены) Водяная трубка (l) - Tube, Water (l)

под заказ5380 руб.
717560-96313-000

Водяная трубка (s) - Tube, Water (s) (L:343, <-7560-96312) (Tube, Water (s))

под заказ4370 руб.
717560-91L11-000

   (актуальный код замены) Трубка Comp, Water (s) - Tube Comp, Water (s)

под заказ4370 руб.
717560-91L10-000

Водяная трубка (s) - Tube, Water (s) (Tube, Water (s))

под заказ4370 руб.
717560-91L11-000

   (актуальный код замены) Трубка Comp, Water (s) - Tube Comp, Water (s)

под заказ4370 руб.
717560-96333-000

Водяная трубка (ll) - Tube, Water (ll) (L:530 <-7560-96332) (Tube, Water (ll))

под заказ4230 руб.
717560-96334-000

   (актуальный код замены) Водяная трубка (ll) - Tube, Water (ll)

под заказ4230 руб.
717560-96334-000

Водяная трубка (ll) - Tube, Water (ll) (Tube, Water (ll))

под заказ4230 руб.
817563-96301-000

Верхний пыльник водяной трубки №1 - Grommet, Water Tube Upr No1 (Grommet, upper (1) ) (Grommet, Water Tube Upr No.1)

под заказ460 руб.
817563-91L10-000

   (актуальный код замены) Верхний пыльник водяной трубки №1 - Grommet, Water Tube Upr No.1

3 шт460 руб.
917564-96301-000

Верхний пыльник водяной трубки №2 - Grommet, Water Tube Upr No2 (Grommet, upper (2) ) (Grommet, Water Tube Upr No.2)

под заказ510 руб.
917564-91L10-000

   (актуальный код замены) Верхний пыльник водяной трубки №2 - Grommet, Water Tube Upr No.2

3 шт510 руб.
1017565-96300-000

Пыльник водяной трубки Middle - Grommet, Water Tube Middle (Grommet, water tube ) (Grommet, Water Tube Middle)

под заказ360 руб.
1017565-91L00-000

   (актуальный код замены) Пыльник водяной трубки Middle - Grommet, Water Tube Middle

11 шт360 руб.
1117566-96302-000

Пыльник водяной трубки Lwr - Grommet, Water Tube Lwr (Grommet, water tube lower ) (Grommet, Water Tube Lwr)

под заказ290 руб.
1117566-96303-000

   (актуальный код замены) Пыльник водяной трубки Lwr - Grommet, Water Tube Lwr

27 шт360 руб.
1209108-06068-000

Болт под шпильку - Bolt, Stud (Bolt, Stud)

под заказ340 руб.
1209108-06069-000

Болт под шпильку - Bolt, Stud (Bolt, stud # MODEL:96~00 ) (Bolt, Stud)

37 шт320 руб.
1309140-06020-000

Гайка - Nut (Nut)

9 шт150 руб.
1409162-06006-000

Шайба с блокировкой - Washer, Lock (Lock washer ) (Washer, Lock)

под заказ160 руб.
1509420-04006-000

Ключ - Key (Key, impeller ) (Key)

18 шт430 руб.
1656130-96330-0ED

Корпус подшипника (gray) - Housing, Bearing (gray) (<-6130-96310-02M <-6130-96310-0ED) (Housing, Bearing (gray))

под заказ0 руб.
1656130-96331-0ED

   (актуальный код замены) Запчасть снята с производства - The Spare Part Is Laid Off

под заказ0 руб.
1656130-96331-0ED

Корпус подшипника (gray) - Housing, Bearing (gray) (Housing, Bearing (gray))

под заказ0 руб.
1725214-96302-000

Втулка, Переключающая тяга - Bush, Shift Rod (~MODEL:94 ) (Bush, Shift Rod)

под заказ0 руб.
1809265-17002-000

Подшипник (17x40x17.25) - Bearing (17x40x1725) (Bearing, drive shaft ) (Bearing (17x40x17.25))

11 шт4860 руб.
18SK09265-17002

   (не оригинальный аналог) Подшипник ведущего вала Skipper для Suzuki DT25-30, DF25-30, DF25A-30A

0 шт2013 руб.
1909289-17004-000

Сальник (17x30x9) - Seal, Oil (17x30x9) (Oil seal, bearing housing ) (Seal, Oil (17x30x9))

92 шт1050 руб.
19SK09289-17004

   (не оригинальный аналог) Сальник ведущего вала Skipper для Suzuki Модели техники: DT25-30

0 шт130 руб.
19SC-OL021

   (не оригинальный аналог) Сальник редуктора Tohatsu SC-OL021

1 шт250 руб.
2009117-06031-000

Болт (6x20) - Bolt (6x20) (Bolt (6x20) ) (Bolt (6x20))

под заказ270 руб.
2109280-50005-000

Уплотнительное кольцо (d: 3.6, Id: 43.2) - O Ring (d:36, Id:432) (O ring (d:3.6 id:43.2) ) (O Ring (d:3.6, Id:43.2))

33 шт160 руб.
2217400-94410-000

Ремкомплект водяного насоса - Kit, Water Pump Repair (E40) (Kit, Water Pump Repair)

под заказ7590 руб.
2217400-94413-000

   (актуальный код замены) Ремкомплект водяного насоса - Kit, Water Pump Repair

5 шт8200 руб.
2217400-94412-000

Ремкомплект водяного насоса - Kit, Water Pump Repair (Kit, Water Pump Repair)

под заказ7590 руб.
2217400-94413-000

   (актуальный код замены) Ремкомплект водяного насоса - Kit, Water Pump Repair

5 шт8200 руб.
2217400-96400-000

Ремкомплект водяного насоса - Kit, Water Pump Repair (OPT) (Kit, Water Pump Repair)

под заказ6440 руб.
2217400-96404-000

   (актуальный код замены) Ремкомплект водяного насоса - Kit, Water Pump Repair

3 шт6440 руб.
2217400-96403-000

Ремкомплект водяного насоса - Kit, Water Pump Repair (Kit, Water Pump Repair)

под заказ6440 руб.
2217400-96404-000

   (актуальный код замены) Ремкомплект водяного насоса - Kit, Water Pump Repair

3 шт6440 руб.
22SK17400-96403P

   (не оригинальный аналог) Ремкомплект помпы Performance Skipper для Suzuki DT25-30

0 шт2058 руб.
2317562-96301-000

Водяная трубка (ul) - Tube, Water (ul) (Tube, water # TYPE:UL <-7562-96300 ) (Tube, Water (ul))

под заказ890 руб.
2417611-96300-000

Направляющая трубки водяного насоса - Guide, Water Tube (Guide, water tube # TYPE:UL ) (Guide, Water Tube)

под заказ2840 руб.
2517612-96300-000

Пыльник водяной трубки Glid - Grommet, Water Tube Glid (Grommet, water tube guide # TYPE:UL ) (Grommet, Water Tube Glid)

1 шт480 руб.
2609117-06040-000

Болт (6x15) - Bolt (6x15) (TYPE:UL) (Bolt (6x15))

под заказ310 руб.
2609117-06040-XC0

   (актуальный код замены) Болт (6x15) - Bolt (6x15)

30 шт310 руб.
2609117-06040-XC0

Болт (6x15) - Bolt (6x15) (Bolt (6x15))

30 шт310 руб.
2717453-96300-000

Колпачок, Water вход - Cap, Water Inlet (MODEL:95 ->6138-96300) (Cap, Water Inlet)

под заказ0 руб.
2756138-96300-000

   (актуальный код замены) Запчасть снята с производства - The Spare Part Is Laid Off

под заказ0 руб.
2756138-96300-000

Колпачок, Water вход - Cap, Water Inlet (Cap, Water Inlet)

под заказ0 руб.
2856138-96300-000

Колпачок, Water вход - Cap, Water Inlet (MODEL:95 ) (Cap, Water Inlet)

под заказ0 руб.
2956130-96320-0ED

Корпус подшипника приводного вала (gray) - Housing, Drive Shaft Brg (gray) (Housing, drive shaft bearing # OPT ) (Housing, Drive Shaft Brg (gray))

под заказ0 руб.
3017453-95D00-000

Дренаж ввода воды - Drain, Water Inlet (Drain, water inlet # OPT ) (Drain, Water Inlet)

под заказ600 руб.
3109265-17002-000

Подшипник (17x40x17.25) - Bearing (17x40x1725) (Bearing, drive shaft # OPT ) (Bearing (17x40x17.25))

11 шт4860 руб.
31SK09265-17002

   (не оригинальный аналог) Подшипник ведущего вала Skipper для Suzuki DT25-30, DF25-30, DF25A-30A

0 шт2013 руб.
3209289-17004-000

Сальник (17x30x9) - Seal, Oil (17x30x9) (Oil seal, bearing housing # OPT ) (Seal, Oil (17x30x9))

92 шт1050 руб.
32SK09289-17004

   (не оригинальный аналог) Сальник ведущего вала Skipper для Suzuki Модели техники: DT25-30

0 шт130 руб.
32SC-OL021

   (не оригинальный аналог) Сальник редуктора Tohatsu SC-OL021

1 шт250 руб.
3309355-40805-600

Шланг (4x8x600) - Hose (4x8x600) (OPT L:600->30 ) (Hose (4x8x600))

под заказ730 руб.
3409367-04005-000

Соединение - Union (Union, drain hose # OPT ) (Union)

под заказ310 руб.


Время выполнения запроса 4.8966469764709 сек.

 
 

данный сайт носит информационный характер и не является публичной офертой

склад запчастей для водомоторной техники