Подобрать оригинальные запчасти на двигатель Suzuki модель 2001 года - Карбюратор
вконтакте

Контактный телефон: +7 (981) 121-46-93, +7 (800) 200-90-76 , Email: parts-katalog@yandex.ru, где купить

 
 

  Логин:

Пароль:

Регистрация

www.partskatalog.ru Все каталоги Запчасти Mercury Запчасти Suzuki Запчасти Tohatsu Запчасти Honda Контакты



УВАЖАЕМЫЕ КЛИЕНТЫ!
C 19 ДЕКАБРЯ 2025 ПО 02 МАРТА 2026 ГОДА ОТДЕЛ ЗАПЧАСТЕЙ И СЕРВИС РАБОТАТЬ НЕ БУДУТ
ПРОДАЖА ЛОДОЧНЫХ МОТОРОВ В ШТАТНОМ РЕЖИМЕ
ОБ ИЗМЕНЕНИЯХ В ГРАФИКЕ РАБОТЫ ЧИТАЙТЕ НА САЙТА



назад Раздел:   вперёд

Вернуться к выбору узлов мотора


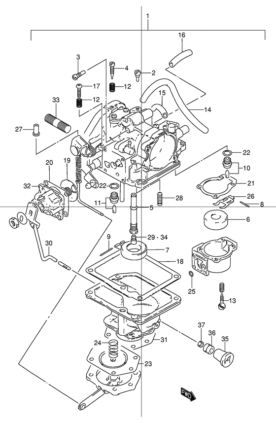
ДЕТАЛИРОВКА ДЛЯ МОДЕЛИ: SUZUKI DT25KSK1(E1) K1

Карбюратор


Год выпуска двигателя: 2001

Номер на
рисунке
АртикулНаименованиеQTYКол-во
на складе
Цена
113200-963H0-000

Запчасть снята с производства - The Spare Part Is Laid Off (E13) (The Spare Part Is Laid Off)

под заказ0 руб.
113200-96461-000

Карбюратор в сборе (na) - Carburetor Assy (na) (E36 ) (Carburetor Assy (na))

под заказ85920 руб.
209492-70001-000

Контрольная форсунка (70) - Jet, Pilot (70) (Jet, pilot (70) # Jet, pilot (#70); Gasoline, e13 ) (Jet, Pilot (70))

1 шт630 руб.
209492-50008-000

Контрольная форсунка (50) - Jet, Pilot (50) (Jet, pilot (#50) # Jet, pilot (#50); Gasoline, e36 ) (Jet, Pilot (50))

под заказ730 руб.
309492-20025-000

Запчасть снята с производства - The Spare Part Is Laid Off (Jet, pilot (#100); Kerosene, e13) (The Spare Part Is Laid Off)

под заказ0 руб.
309492-30017-000

Контрольная форсунка (150) - Jet, Pilot (150) (Jet, pilot (#150); Kerosene, e36 ) (Jet, Pilot (150))

под заказ1110 руб.
413269-98100-000

Винт контроля воздуха - Screw, Pilot Air (Screw, pilot # Screw, pilot; ) (Screw, Pilot Air)

под заказ620 руб.
513235-94350-000

Nozzle - Nozzle (Nozzle)

под заказ2160 руб.
613270-94350-000

Поплавок - Float (Gasoline ) (Float)

под заказ1720 руб.
713250-93012-000

Поплавок - Float (Kerosene ) (Float)

под заказ1950 руб.
813254-98410-000

Стопор поплавка - Pin, Float (Gasoline ) (Pin, Float)

под заказ240 руб.
913254-98300-000

Стопор поплавка - Pin, Float (Pin, float # Kerosene ) (Pin, Float)

под заказ240 руб.
1013370-94350-000

Игольчатый клапан, в сборе - Valve Assy, Needle (Valve assy, needle; Gasoline ) (Valve Assy, Needle)

под заказ4490 руб.
1113370-28110-000

Игольчатый клапан, в сборе - Valve Assy, Needle (Valve assy, needle # Valve assy, needle; Kerosene ) (Valve Assy, Needle)

4 шт4350 руб.
1213268-96111-000

Пружина, Дроссель Винт - Spring, Throttle Screw (Spring, throttle screw # Spring, stop screw; ) (Spring, Throttle Screw)

под заказ350 руб.
1313616-93900-000

Регулятор - Adjuster (Adjuster)

под заказ1180 руб.
1413651-95300-000

Шланг - Hose (L:175->25 ) (Hose)

под заказ870 руб.
1413651-95301-000

   (актуальный код замены) Шланг - Hose

под заказ870 руб.
1513651-94350-000

Шланг - Hose (L:175->8, 50 ) (Hose)

под заказ870 руб.
1513651-94351-000

   (актуальный код замены) Шланг - Hose

под заказ870 руб.
1613651-94350-000

Шланг - Hose (L:175->8 ) (Hose)

под заказ870 руб.
1613651-94351-000

   (актуальный код замены) Шланг - Hose

под заказ870 руб.
1713534-96300-000

Винт стопора - Screw, Stop (Screw, throttle stop # Screw, throttle stop; ) (Screw, Stop)

под заказ390 руб.
1813245-94350-000

Прокладка поплавковой камеры - Gasket, Float Cahmber (Gasket, float chamber # Gasket, float chamber; Kerosene ) (Gasket, Float Cahmber)

под заказ760 руб.
1913415-94350-000

Диск в сборе - Disc Assy (Disc Assy)

под заказ3460 руб.
2013418-94360-000

Прокладка карбюратора Disk - Gasket, Carburetor Disk (Gasket, Carburetor Disk)

под заказ490 руб.
2113265-94360-000

Прокладка поплавковой камеры - Gasket, Float Cahmber (Gasket, float chamber; Gasoline ) (Gasket, Float Cahmber)

под заказ650 руб.
2213392-58600-000

Прокладка седла клапана - Gasket, Valve Seat (Gasket, valve seat # Packing, needle valve seat; ) (Gasket, Valve Seat)

1 шт150 руб.
2313450-94350-000

Membrane в сборе - Membrane Assy (Membrane assy # Membrane assy; ) (Membrane Assy)

под заказ2430 руб.
2413441-94350-000

Пружина - Spring (Spring)

под заказ340 руб.
2513521-78100-000

Уплотнительное кольцо - O-ring (O-ring)

под заказ220 руб.
2613282-94350-000

Рычаг - Arm (Arm)

под заказ590 руб.
2713461-94350-000

Гайка - Nut (Nut)

под заказ2310 руб.
2813443-94350-000

Клапан в сборе - Valve Assy (Valve assy; ) (Valve Assy)

под заказ2740 руб.
2909491-30010-000

Главная форсунка (150) - Jet, Main (150) (Jet, main (#150) # Jet, main (#150); E13 ) (Jet, Main (150))

1 шт970 руб.
2909491-29010-000

Главная форсунка (147.5) - Jet, Main (1475) (Jet, main (147.5) # Jet, main (#147.5); E36 ) (Jet, Main (147.5))

под заказ1110 руб.
3013580-96351-000

Рычаг в сборе, Стартер - Lever Assy, Starter (Lever Assy, Starter)

под заказ4760 руб.
3113446-94360-000

Прокладка - Gasket (Gasket)

под заказ530 руб.
3213419-94400-000

Крышка, Disk Стартер - Cover, Disk Starter (Cover, disk ) (Cover, Disk Starter)

под заказ960 руб.
3301411-08207-000

Болт под шпильку - Bolt, Stud (Stud bolt;) (Bolt, Stud)

под заказ130 руб.
3301411-0820A-000

   (актуальный код замены) Болт под шпильку - Bolt, Stud

под заказ130 руб.
3301411-0820A-000

Болт под шпильку - Bolt, Stud (Bolt, Stud)

под заказ130 руб.
3409491-34007-000

Главная форсунка (170) - Jet, Main (170) (Jet, main (170) # Jet, main (#170); Opt ) (Jet, Main (170))

под заказ1030 руб.
3409491-32012-000

Главная форсунка (160) - Jet, Main (160) (Jet, main (160) # Jet, main (#160); Opt, ) (Jet, Main (160))

2 шт1120 руб.
3409491-31014-000

Контрольная форсунка (155) - Jet, Pilot (155) (Jet, main (#155); Opt ) (Jet, Pilot (155))

под заказ0 руб.
3409491-31007-000

Главная форсунка (157.5) - Jet, Main (1575) (Jet, main (157.5) # Jet, main (#157.5); Opt ) (Jet, Main (157.5))

под заказ0 руб.
3409491-29010-000

Главная форсунка (147.5) - Jet, Main (1475) (Jet, main (147.5) # Jet, main (#147.5); Opt ) (Jet, Main (147.5))

под заказ1110 руб.
3409491-28012-000

Главная форсунка (142.5) - Jet, Main (1425) (Jet, main (142.5) # Jet, main (#142.5); Opt ) (Jet, Main (142.5))

1 шт810 руб.
3513631-93501-000

Рукоятка стартера - Knob, Starter (Knob, starter; ) (Knob, Starter)

2 шт460 руб.
3609320-04009-000

Втулка - Bush (Bushing, starter rod; ) (Bush)

под заказ160 руб.
3609320-04013-000

   (актуальный код замены) Подушка, Muf Cov - Cushion, Muf Cov

под заказ160 руб.
3709140-04007-000

Гайка - Nut (Nut, knob starter; ) (Nut)

под заказ170 руб.


Время выполнения запроса 1.3581619262695 сек.

 
 

данный сайт носит информационный характер и не является публичной офертой

склад запчастей для водомоторной техники