Комплектующие на лодочный мотор SUZUKI модель 2001 года - Drive shaft housing / Корпус вала передачи
вконтакте

Контактный телефон: +7 (981) 121-46-93, +7 (800) 200-90-76 , Email: parts-katalog@yandex.ru, где купить

 
 

  Логин:

Пароль:

Регистрация

www.partskatalog.ru Все каталоги Запчасти Mercury Запчасти Suzuki Запчасти Tohatsu Запчасти Honda Контакты



УВАЖАЕМЫЕ КЛИЕНТЫ!
C 19 ДЕКАБРЯ 2025 ПО 02 МАРТА 2026 ГОДА ОТДЕЛ ЗАПЧАСТЕЙ И СЕРВИС РАБОТАТЬ НЕ БУДУТ
ПРОДАЖА ЛОДОЧНЫХ МОТОРОВ В ШТАТНОМ РЕЖИМЕ
ОБ ИЗМЕНЕНИЯХ В ГРАФИКЕ РАБОТЫ ЧИТАЙТЕ НА САЙТА



назад Раздел:   вперёд

Вернуться к выбору узлов мотора


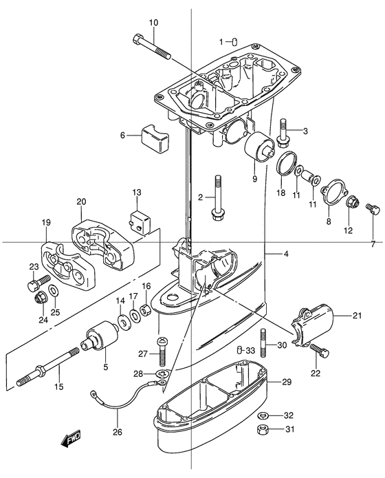
ДЕТАЛИРОВКА ДЛЯ МОДЕЛИ: SUZUKI DT25SK1(E1) K1

Корпус вала передачи


Год выпуска двигателя: 2001

Регион: General Export No.1 ,Код региона: P01

Цвет: Shadow Black Metallic

Номер на
рисунке
АртикулНаименованиеQTYКол-во
на складе
Цена
109202-06023-000

Штифт (6x10) - Pin (6x10) (Pin (l:10); ) (Pin (6x10))

6 шт290 руб.
209118-08098-000

Болт (8x85) - Bolt (8x85) (Bolt (8x85);) (Bolt (8x85))

под заказ570 руб.
209118-08172-000

   (актуальный код замены) Болт (8x85) - Bolt (8x85)

под заказ570 руб.
209118-08172-000

Болт (8x85) - Bolt (8x85) (Bolt (8x85))

под заказ570 руб.
309118-08090-000

Болт (8x52) - Bolt (8x52) (Bolt (8x50) # Bolt (8x50); ) (Bolt (8x52))

под заказ670 руб.
452110-96360-0ED

Корпус вала передачи (s) (gray) - Housing, Drive Shaft (s) (gray) (Housing, drive shaft (s);) (Housing, Drive Shaft (s) (gray))

под заказ0 руб.
452110-96361-0ED

   (актуальный код замены) Запчасть снята с производства - The Spare Part Is Laid Off

под заказ0 руб.
452110-96361-0ED

Корпус вала передачи (s) (gray) - Housing, Drive Shaft (s) (gray) (Housing, Drive Shaft (s) (gray))

под заказ0 руб.
452110-96361-0EP

Корпус вала передачи (s) (чёрный) - Housing, Drive Shaft (s) (black) (Housing, drive shaft (s); Model:02~ ) (Housing, Drive Shaft (s) (black))

1 шт64800 руб.
452110-96370-0ED

Корпус вала передачи (l) (gray) - Housing, Drive Shaft (l) (gray) (Housing, drive shaft (l/ll/x);) (Housing, Drive Shaft (l) (gray))

под заказ56160 руб.
452110-96371-0ED

   (актуальный код замены) Корпус вала передачи (l) (gray) - Housing, Drive Shaft (l) (gray)

под заказ56160 руб.
452110-96371-0ED

Корпус вала передачи (l) (gray) - Housing, Drive Shaft (l) (gray) (Housing, Drive Shaft (l) (gray))

под заказ56160 руб.
452110-96371-0EP

Корпус вала передачи (l / ll / x) - Housing, Drive Shaft (l/ll/x) (Housing, drive shaft (l/ll/x); Model:02~ ) (Housing, Drive Shaft (l/ll/x))

под заказ55200 руб.
554160-96310-000

Крепление, Lwr - Mount, Lwr (Mounting, lower (s/l) # Mounting, lower (s/l); ) (Mount, Lwr)

под заказ4180 руб.
554160-96320-000

Крепление, Lwr (ll / x) - Mount, Lwr (ll/x) (Mounting, lower (ll/ul) # Mounting, lower (ll/x); ) (Mount, Lwr (ll/x))

под заказ0 руб.
654121-96301-000

Крепление верхнего упора Reverse - Mount, Upr Thrust Reverse (Mounting, upper thrust reverse ) (Mount, Upr Thrust Reverse)

под заказ710 руб.
709117-06030-000

Болт (6x16) - Bolt (6x16) (Bolt (6x16) # Bolt (6x16); ) (Bolt (6x16))

под заказ220 руб.
854137-96301-0ED

Запчасть снята с производства - The Spare Part Is Laid Off (The Spare Part Is Laid Off)

под заказ0 руб.
854137-96301-0EP

Крышка, вышеr Крепление - Cover, Upr Mount (Model:02~) (Cover, Upr Mount)

под заказ1540 руб.
854137-91L10-0EP

   (актуальный код замены) Крышка верхней опоры - Cover, Upper Mount

под заказ1540 руб.
854137-91L00-0EP

Крышка, вышеr Крепление - Cover, Upr Mount (Cover, Upr Mount)

под заказ1540 руб.
854137-91L10-0EP

   (актуальный код замены) Крышка верхней опоры - Cover, Upper Mount

под заказ1540 руб.
954130-96320-000

Крепление, вышеr - Mount, Upr (Mounting, upper ) (Mount, Upr)

под заказ3220 руб.
1009100-10260-000

Болт (10x75) - Bolt (10x75) (Bolt (10x75) # Bolt (10x75); ) (Bolt (10x75))

под заказ1380 руб.
1129160-93J00-000

Шайба (10.5x19x2) - Washer (105x19x2) (Washer (10.5x19x2);) (Washer (10.5x19x2))

под заказ120 руб.
1109160-10082-000

   (актуальный код замены) Шайба (10.5x19x2) - Washer (10.5x19x2)

19 шт120 руб.
1109160-10082-000

Шайба (10.5x19x2) - Washer (105x19x2) (Washer ) (Washer (10.5x19x2))

19 шт120 руб.
1209159-10050-000

Гайка - Nut (Nut)

8 шт250 руб.
1354151-96300-000

Крепление нижнего упора - Mount, Lwr Thrust (Mounting, lower thrust ) (Mount, Lwr Thrust)

под заказ570 руб.
1454165-96310-000

Демпфер, Стопор - Damper, Stopper (Damper, reverse stopper ) (Damper, Stopper)

под заказ410 руб.
1454165-96311-000

   (актуальный код замены) Демфер обратного стопора - Damper, Reverse Stopper

под заказ410 руб.
1554166-96311-000

Болт, Lwr Крепление - Bolt, Lwr Mount (Bolt, Lwr Mount)

под заказ3870 руб.
1609140-10032-000

Гайка - Nut (Nut)

10 шт160 руб.
1709160-10083-000

Шайба (10.5x30x3.2) - Washer (105x30x32) (Washer (10.5x30x3.2) # Washer (10.5x30x3.2); ) (Washer (10.5x30x3.2))

под заказ230 руб.
1854138-96300-000

Гильза, вышеr Крепление - Sleeve, Upr Mount (Sleeve, upper mounting ) (Sleeve, Upr Mount)

под заказ280 руб.
1954211-96320-0ED

Кронштейн нижнего крепления дляward - Bracket, Lwr Mount Forward (Bracket, lower mount front;) (Bracket, Lwr Mount Forward)

под заказ0 руб.
1954211-96321-0ED

   (актуальный код замены) Запчасть снята с производства - The Spare Part Is Laid Off

под заказ0 руб.
1954211-96321-0ED

Кронштейн нижнего крепления дляward - Bracket, Lwr Mount Forward (Bracket, Lwr Mount Forward)

под заказ0 руб.
1954211-96321-0EP

Кронштейн нижнего крепления дляward - Bracket, Lwr Mount Forward (Model:02~ ) (Bracket, Lwr Mount Forward)

под заказ0 руб.
1954211-91L00-0EP

   (актуальный код замены) Запчасть снята с производства - The Spare Part Is Laid Off

под заказ0 руб.
2054212-96310-0ED

Кронштейн нижнего крепления Rr - Bracket, Lwr Mount Rr (Bracket, Lwr Mount Rr)

под заказ0 руб.
2054212-96311-0ED

   (актуальный код замены) Запчасть снята с производства - The Spare Part Is Laid Off

под заказ0 руб.
2054212-96311-0ED

Кронштейн нижнего крепления Rr - Bracket, Lwr Mount Rr (Bracket, Lwr Mount Rr)

под заказ0 руб.
2054212-96311-0EP

Кронштейн нижнего крепления Rr - Bracket, Lwr Mount Rr (Model:02~ ) (Bracket, Lwr Mount Rr)

под заказ0 руб.
2054212-91L00-0EP

   (актуальный код замены) Запчасть снята с производства - The Spare Part Is Laid Off

под заказ0 руб.
2154221-96320-0ED

Крышка, Lwr Крепление - Cover, Lwr Mount (Cover, Lwr Mount)

под заказ0 руб.
2154221-96321-0ED

   (актуальный код замены) Запчасть снята с производства - The Spare Part Is Laid Off

под заказ0 руб.
2154221-96321-0ED

Крышка, Lwr Крепление - Cover, Lwr Mount (Cover, Lwr Mount)

под заказ0 руб.
2154221-96321-0EP

Крышка, Lwr Крепление - Cover, Lwr Mount (Model:02~ ) (Cover, Lwr Mount)

под заказ0 руб.
2154221-91L00-0EP

   (актуальный код замены) Запчасть снята с производства - The Spare Part Is Laid Off

под заказ0 руб.
2209117-06032-000

Болт (6x30) - Bolt (6x30) (Bolt (6x30); ) (Bolt (6x30))

под заказ310 руб.
2309117-08056-000

Болт (8x40) - Bolt (8x40) (Bolt (8x40);) (Bolt (8x40))

под заказ2010 руб.
2309117-08056-XC0

   (актуальный код замены) Болт (8x40) - Bolt (8x40)

под заказ2010 руб.
2309117-08056-XC0

Болт (8x40) - Bolt (8x40) (Bolt (8x40))

под заказ2010 руб.
2309116-08128-000

Болт (8x40) - Bolt (8x40) (Bolt (8x40); Model:06~ ) (Bolt (8x40))

под заказ390 руб.
2409159-10050-000

Гайка - Nut (Nut)

8 шт250 руб.
2529160-93J00-000

Шайба (10.5x19x2) - Washer (105x19x2) (Washer (10.5x19x2);) (Washer (10.5x19x2))

под заказ120 руб.
2509160-10082-000

   (актуальный код замены) Шайба (10.5x19x2) - Washer (10.5x19x2)

19 шт120 руб.
2509160-10082-000

Шайба (10.5x19x2) - Washer (105x19x2) (Washer ) (Washer (10.5x19x2))

19 шт120 руб.
2636894-95201-000

Lead (l: 165) - Lead (l:165) (Lead (l:165); ) (Lead (l:165))

под заказ1170 руб.
2709125-05050-000

Винт (5x8) - Screw (5x8) (Screw (5x8); ) (Screw (5x8))

под заказ150 руб.
2809161-05114-000

Шайба (5.2x11x1) - Washer (52x11x1) (Washer (5.2x11.0x1.0) # Washer (5.2x11x1); ~model:01 ) (Washer (5.2x11x1))

под заказ290 руб.
2952131-96332-0ED

Запчасть снята с производства - The Spare Part Is Laid Off (Case, extension (ll);) (The Spare Part Is Laid Off)

под заказ0 руб.
2952131-96333-0ED

   (актуальный код замены) Запчасть снята с производства - The Spare Part Is Laid Off

под заказ0 руб.
2952131-96333-0EP

Удлинитель копуса (ll) - Case, Extension (ll) (Case, extension (ll); Model:02~ ) (Case, Extension (ll))

под заказ0 руб.
2952131-96303-0ED

Удлинитель копуса (x) - Case, Extension (x) (Case, extension (x);) (Case, Extension (x))

под заказ0 руб.
2952131-96304-0ED

   (актуальный код замены) Запчасть снята с производства - The Spare Part Is Laid Off

под заказ0 руб.
2952131-96304-0ED

Удлинитель копуса (x) - Case, Extension (x) (Case, Extension (x))

под заказ0 руб.
2952131-96304-0EP

Удлинитель копуса (x) - Case, Extension (x) (Case, extension (x); Model:02~ ) (Case, Extension (x))

под заказ0 руб.
3009108-08109-000

Болт под шпильку - Bolt, Stud (Stud bolt (ll); ) (Bolt, Stud)

под заказ0 руб.
3009108-08104-000

Болт под шпильку - Bolt, Stud (Stud bolt (ul) # Stud bolt (x); ) (Bolt, Stud)

под заказ1560 руб.
3109140-08023-XC0

Гайка - Nut (Nut (ll/x); ) (Nut)

14 шт190 руб.
3229162-93J10-000

Шайба (8.2x21.5x3) - Washer (82x215x3) (Lock washer (8.2x15.4x2.0) # Lock washer (ll/x); ) (Washer (8.2x21.5x3))

4 шт130 руб.
3309202-06015-000

Штифт (6x20) - Pin (6x20) (Knock pin # Pin (l:20); Type:ll/x ) (Pin (6x20))

12 шт220 руб.


Время выполнения запроса 3.3593909740448 сек.

 
 

данный сайт носит информационный характер и не является публичной офертой

склад запчастей для водомоторной техники