| |
 |
|
 |
Вернуться к выбору узлов мотора
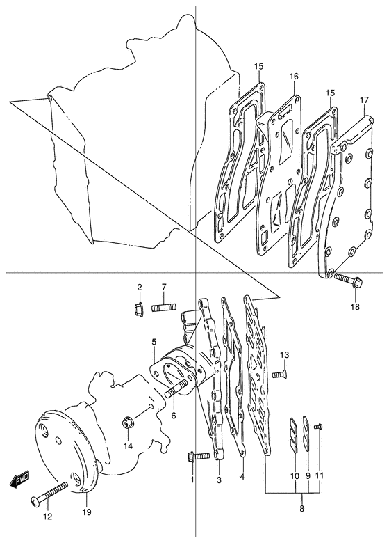
ДЕТАЛИРОВКА ДЛЯ МОДЕЛИ: SUZUKI DT25KLK7(E1) K7
вход case
Год выпуска двигателя: 2007
Регион: General Export No.1 ,Код региона: P01
Цвет: Shadow Black Metallic
Номер на рисунке | Артикул | Наименование | QTY | Кол-во на складе | Цена |
| 1 | 02162-06257-000 | Винт - Screw (Bolt ) (Screw) | | 7 шт | 150 руб. |
| 2 | 08316-10067-000 | Гайка - Nut (Nut) | | под заказ | 170 руб. |
| 3 | 12481-96380-0ED | Case, вход - Case, Inlet (Case, inlet (gray); Model:01 ) (Case, Inlet) | | под заказ | 0 руб. |
| 3 | 12481-96380-0EP | Case, вход (kerosene) - Case, Inlet (kerosene) (Case, inlet (black); Model:06~ ) (Case, Inlet (kerosene)) | | под заказ | 8500 руб. |
| 3 | 12481-91L00-000 | (актуальный код замены) Case, вход - Case, Inlet | | под заказ | 8500 руб. |
| 4 | 13121-96400-000 | Прокладка, вход Case - Gasket, Inlet Case (Gasket, Inlet Case) | | 2 шт | 820 руб. |
| 5 | 13125-95210-000 | Прокладка карбюратора - Gasket, Carburetor (Gasket, carburetor # Gasket, carburetor; ) (Gasket, Carburetor) | | 7 шт | 480 руб. |
| 6 | 01411-08207-000 | Болт под шпильку - Bolt, Stud (Stud bolt;) (Bolt, Stud) | | под заказ | 130 руб. |
| 6 | 01411-0820A-000 | (актуальный код замены) Болт под шпильку - Bolt, Stud | | под заказ | 130 руб. |
| 6 | 01411-0820A-000 | Болт под шпильку - Bolt, Stud (Bolt, Stud) | | под заказ | 130 руб. |
| 7 | 01411-0620A-000 | Болт под шпильку - Bolt, Stud (Bolt, Stud) | | под заказ | 130 руб. |
| 8 | 13150-96300-000 | Язычковый клапан, в сборе - Valve Assy, Reed (Valve Assy, Reed) | | 4 шт | 16420 руб. |
| 8 | 13150-91L00-000 | (актуальный код замены) Язычковый клапан, в сборе - Valve Assy, Reed | | под заказ | 16420 руб. |
| 8 | 13150-91L00-000 | Язычковый клапан, в сборе - Valve Assy, Reed (Valve Assy, Reed) | | под заказ | 16420 руб. |
| 9 | 13152-96300-000 | Стопор язычкового клапана - Stopper, Reed Valve (Stopper, reed valve;) (Stopper, Reed Valve) | | под заказ | 960 руб. |
| 9 | 13152-91L00-000 | (актуальный код замены) Стопор язычкового клапана - Stopper, Reed Valve | | под заказ | 960 руб. |
| 9 | 13152-91L00-000 | Стопор язычкового клапана - Stopper, Reed Valve (Stopper, Reed Valve) | | под заказ | 960 руб. |
| 10 | 13153-96300-000 | Язычковый клапан - Valve, Reed (Valve, reed;) (Valve, Reed) | | под заказ | 1110 руб. |
| 10 | 13153-91L00-000 | (актуальный код замены) Язычковый клапан - Valve, Reed | | под заказ | 1110 руб. |
| 10 | 13153-91L00-000 | Язычковый клапан - Valve, Reed (Valve, Reed) | | под заказ | 1110 руб. |
| 11 | 02112-33063-000 | Винт - Screw (Screw) | | под заказ | 140 руб. |
| 11 | 02112-3306A-000 | (актуальный код замены) Винт - Screw | | под заказ | 140 руб. |
| 11 | 02112-3306A-000 | Винт - Screw (Screw) | | под заказ | 140 руб. |
| 12 | 02142-06357-000 | Винт - Screw (Screw # Screw; ) (Screw) | | под заказ | 120 руб. |
| 13 | 02122-0616A-000 | Винт - Screw (Screw) | | 10 шт | 120 руб. |
| 14 | 08316-10087-000 | Гайка - Nut (Nut) | | 14 шт | 170 руб. |
| 15 | 14151-96311-000 | Прокладка кожуха выхлопной трубы - Gasket, Exhaust Cover (Gasket, exhaust cover ) (Gasket, Exhaust Cover) | | 25 шт | 1400 руб. |
| 15 | SMO-14151-96311-000 | (не оригинальный аналог) Прокладка SMO-14151-96311-000 кожуха выхлопной трубы (без упаковки) - оригинал Suzuki | | под заказ | 950 руб. |
| 15 | SK14151-96311 | (не оригинальный аналог) Прокладка крышки выхлопа Skipper для Suzuki Модели техники: DT20-30 | | 0 шт | 381 руб. |
| 15 | SMO-14151-96311-000 | (аналог) Прокладка SMO-14151-96311-000 кожуха выхлопной трубы (без упаковки) - оригинал Suzuki - код 14151-96311-000 | | под заказ шт | 950 руб. |
| 16 | 14131-96301-000 | Запчасть снята с производства - The Spare Part Is Laid Off (The Spare Part Is Laid Off) | | под заказ | 0 руб. |
| 17 | 14141-96301-0ED | Крышка Set, Выхлоп - Cover Set, Exhaust (Cover, exhaust (gray); Model:01) (Cover Set, Exhaust) | | под заказ | 11810 руб. |
| 17 | 14140-91L00-000 | (актуальный код замены) Крышка Set, Выхлоп - Cover Set, Exhaust | | под заказ | 11810 руб. |
| 17 | 14140-91L00-000 | Крышка Set, Выхлоп - Cover Set, Exhaust (Cover Set, Exhaust) | | под заказ | 11810 руб. |
| 17 | 14141-96301-0EP | Крышка Set, Выхлоп - Cover Set, Exhaust (Cover, exhaust (black); Model:06~) (Cover Set, Exhaust) | | под заказ | 11810 руб. |
| 17 | 14140-91L00-000 | (актуальный код замены) Крышка Set, Выхлоп - Cover Set, Exhaust | | под заказ | 11810 руб. |
| 17 | 14140-91L00-000 | Крышка Set, Выхлоп - Cover Set, Exhaust (Cover Set, Exhaust) | | под заказ | 11810 руб. |
| 18 | 01550-06257-000 | Болт - Bolt (Bolt) | | под заказ | 180 руб. |
| 19 | 13811-96351-000 | Корпус глушителя - Case, Silencer (Case, Silencer) | | под заказ | 870 руб. |
Время выполнения запроса 0.99491000175476 сек. |
|