Найти запчасти на лодочный мотор Suzuki - Recoil starter
вконтакте

Контактный телефон: +7 (981) 121-46-93, +7 (800) 200-90-76 , Email: parts-katalog@yandex.ru, где купить

 
 

  Логин:

Пароль:

Регистрация

www.partskatalog.ru Все каталоги Запчасти Mercury Запчасти Suzuki Запчасти Tohatsu Запчасти Honda Контакты

назад Раздел:   вперёд

Вернуться к выбору узлов мотора


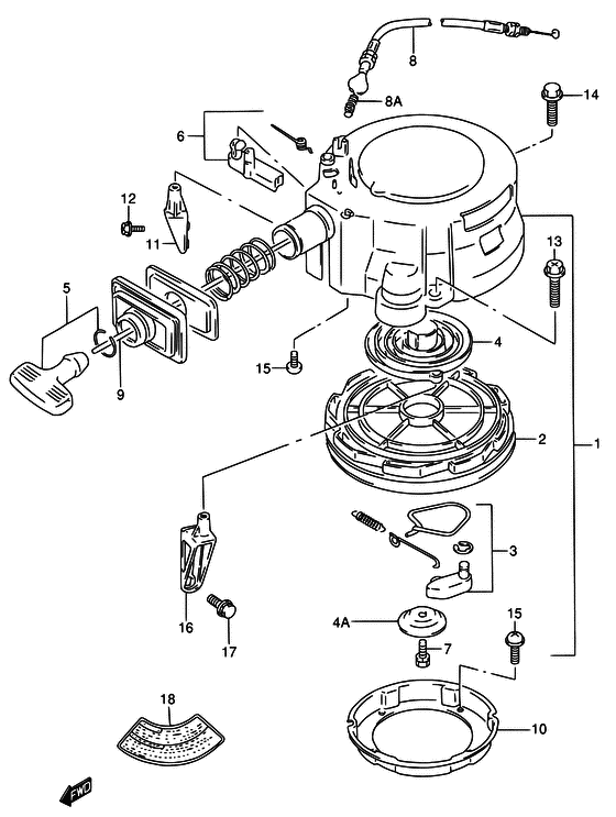
ДЕТАЛИРОВКА ДЛЯ МОДЕЛИ: SUZUKI DT25KL K9

Барабанный стартер


Год выпуска двигателя: 2009

Цвет: Shadow Black Metallic

Номер на
рисунке
АртикулНаименованиеQTYКол-во
на складе
Цена
118100-96321-000

Барабанный стартер в сборе - Starter Assy, Recoil (Starter Assy, Recoil)

под заказ60480 руб.
118100-91L00-000

   (актуальный код замены) Барабанный стартер в сборе - Starter Assy, Recoil

1 шт60480 руб.
118100-91L00-000

Барабанный стартер в сборе - Starter Assy, Recoil (Starter Assy, Recoil)

1 шт60480 руб.
218120-96320-000

Барабан в сборе - Reel Assy (Reel Assy)

3 шт6520 руб.
318130-96321-000

Храповик, установочный комплект - Ratchet Set (Ratchet Set)

6 шт3110 руб.
418142-96300-000

Пружина - Spring (Spring)

под заказ4180 руб.
418151-96310-000

Пластина трения - Plate, Friction (Plate, Friction)

под заказ850 руб.
518210-93002-000

Рукоятка в сборе - Grip Assy (Grip Assy)

1 шт1150 руб.
618280-96320-000

Nsi Set - Nsi Set (Nsi Set)

2 шт720 руб.
701570-06167-000

Болт - Bolt (Bolt)

под заказ190 руб.
818290-96310-000

Провод - Wire (Wire)

под заказ3990 руб.
818290-91L00-000

   (актуальный код замены) Провод - Wire

2 шт3990 руб.
818290-91L00-000

Провод - Wire (Wire)

2 шт3990 руб.
818290-91L00-000

Провод - Wire (Wire)

2 шт3990 руб.
818293-96310-000

Пружина, Nsi Кабели - Spring, Nsi Cable (Spring, Nsi Cable)

1 шт490 руб.
999000-81159-50M

Шнур стартера 6 ммdia, 50m Role - Starter Rope 6mmdia, 50m Role (OPT, L:50000->1750 ) (Starter Rope 6mmdia, 50m Role)

под заказ29280 руб.
999000-81159-01M

   (актуальный код замены) Шнур стартера 6 Mm (1 Metr) Na Otrez - Starter Rope 6 Mm (1 Metr) Na Otrez

49 шт590 руб.
1018411-96301-000

Чаша стартера - Cup, Starter (Cup, Starter)

1 шт3510 руб.
1118711-96303-0ED

Brace, Recoil Stbd (gray) - Brace, Recoil Stbd (gray) (Brace, Recoil Stbd (gray))

под заказ0 руб.
1118711-96303-0EP

Правая скоба барабанного стартера (blac - Brace, Recoil Starter Stbd (blac (MODEL:02~ ) (Brace, Recoil Starter Stbd (blac)

под заказ3510 руб.
1202162-06207-000

Винт - Screw (Bolt # BRACE STBD ) (Screw)

под заказ150 руб.
1301550-06207-000

Болт - Bolt (MODEL:07~ ) (Bolt)

17 шт220 руб.
1301550-06257-000

Болт - Bolt (ELECTRIC STARTER ) (Bolt)

под заказ180 руб.
1302162-06257-000

Винт - Screw (Bolt # MANUAL STARTER ) (Screw)

7 шт150 руб.
1401550-08257-000

Болт - Bolt (Bolt)

под заказ300 руб.
1509106-06098-000

Болт (6x12) - Bolt (6x12) (Bolt (6x12))

10 шт200 руб.
1618721-96303-0ED

Brace, Recoil Port (gray) - Brace, Recoil Port (gray) (MANUAL STARTER ) (Brace, Recoil Port (gray))

под заказ0 руб.
1618721-96303-0EP

Левая скоба барабанного стартера - Brace, Recoil Starter Port (MODEL:02~) (Brace, Recoil Starter Port)

под заказ3530 руб.
1618721-91L10-000

   (актуальный код замены) Левая скоба барабанного стартера - Brace, Recoil Starter Port

под заказ3530 руб.
1618721-91L10-000

Левая скоба барабанного стартера - Brace, Recoil Starter Port (Brace, Recoil Starter Port)

под заказ3530 руб.
1701580-08257-000

Болт - Bolt (MANUAL STARTER BRACE PORT ) (Bolt)

9 шт240 руб.
1861582-98110-000

Маркировка, Warning - Mark, Warning (~MODEL:01 ) (Mark, Warning)

под заказ0 руб.


Время выполнения запроса 0.78314995765686 сек.

 
 

данный сайт носит информационный характер и не является публичной офертой

склад запчастей для водомоторной техники