| |
 |
|
 |
Вернуться к выбору узлов мотора
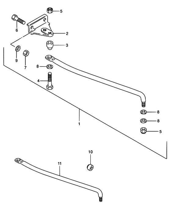
ДЕТАЛИРОВКА ДЛЯ МОДЕЛИ: SUZUKI DT25KL K9
Опции: рулевая тяга
Год выпуска двигателя: 2009
Цвет: Shadow Black Metallic
Номер на рисунке | Артикул | Наименование | QTY | Кол-во на складе | Цена |
| 1 | 67701-94420-000 | Рулевая тяга в сборе - Link Assy, Drag (STD:DT30R <-67701-94403 ) (Link Assy, Drag) | | 1 шт | 29760 руб. |
| 2 | 43755-96320-000 | Соединитель кронштейна рулевой системы - Attachment, Steering Bracket (STD:DT30R <-43755-96310 ) (Attachment, Steering Bracket) | | 2 шт | 15510 руб. |
| 3 | 67721-94310-000 | Проставка - Spacer (STD:DT30R <-67721-94300 ) (Spacer) | | под заказ | 1510 руб. |
| 4 | 67725-99E10-000 | Болт - Bolt (STD:DT30R ->67725-94501 ) (Bolt) | | под заказ | 1200 руб. |
| 4 | 67725-99E20-000 | (актуальный код замены) Болт переключающей тяги - Bolt, Drag Link | | под заказ | 1200 руб. |
| 5 | 67726-99E00-000 | Блокирующая гайка - Nut, Lock (STD:DT30R ) (Nut, Lock) | | 3 шт | 800 руб. |
| 6 | 29101-93J00-000 | Болт - Bolt (Bolt (8x35) # STD:DT30R ) (Bolt) | | под заказ | 650 руб. |
| 6 | 09100-08309-000 | (актуальный код замены) Болт (8x35) - Bolt (8x35) | | под заказ | 650 руб. |
| 7 | 09140-08023-XC0 | Гайка - Nut (STD:DT30R <-09140-08016 ) (Nut) | | 14 шт | 190 руб. |
| 8 | 67728-99E00-000 | Шайба - Washer (STD:DT30R ) (Washer) | | 2 шт | 260 руб. |
| 9 | 29162-93J10-000 | Шайба (8.2x21.5x3) - Washer (82x215x3) (Lock washer (8.2x15.4x2.0) # STD:DT30R ) (Washer (8.2x21.5x3)) | | 4 шт | 130 руб. |
| 10 | 41161-94400-000 | Сальник рулевого кабеля - Seal, Steering Cable (Seal, steering cable # STD:DT30R ) (Seal, Steering Cable) | | 16 шт | 1530 руб. |
| 11 | 67711-97E60-000 | Соединитель, Drag - Link, Drag (<-67711-97E50 ) (Link, Drag) | | под заказ | 11430 руб. |
Время выполнения запроса 0.75545406341553 сек. |
|