Запчасти на лодочный мотор SUZUKI - Водяной насос - Water pump
вконтакте

Контактный телефон: +7 (981) 121-46-93, +7 (800) 200-90-76 , Email: parts-katalog@yandex.ru, где купить

 
 

  Логин:

Пароль:

Регистрация

www.partskatalog.ru Все каталоги Запчасти Mercury Запчасти Suzuki Запчасти Tohatsu Запчасти Honda Контакты



УВАЖАЕМЫЕ КЛИЕНТЫ!
C 19 ДЕКАБРЯ 2025 ПО 02 МАРТА 2026 ГОДА ОТДЕЛ ЗАПЧАСТЕЙ И СЕРВИС РАБОТАТЬ НЕ БУДУТ
ПРОДАЖА ЛОДОЧНЫХ МОТОРОВ В ШТАТНОМ РЕЖИМЕ
ОБ ИЗМЕНЕНИЯХ В ГРАФИКЕ РАБОТЫ ЧИТАЙТЕ НА САЙТА



назад Раздел:   вперёд

Вернуться к выбору узлов мотора


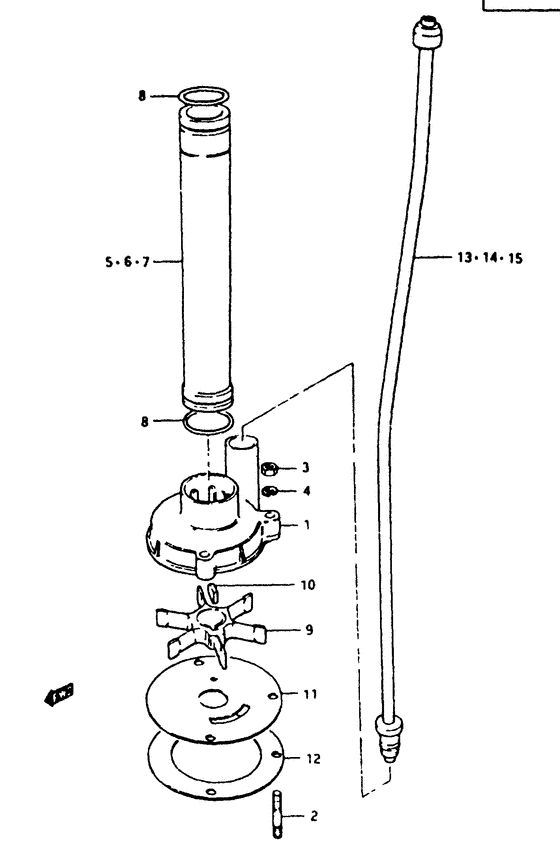
ДЕТАЛИРОВКА ДЛЯ МОДЕЛИ: SUZUKI DT28F F

Водяной насос


Год выпуска двигателя: 1985

Регион: Japan

Номер на
рисунке
АртикулНаименованиеQTYКол-во
на складе
Цена
117411-93000-000

Запчасть снята с производства - The Spare Part Is Laid Off (The Spare Part Is Laid Off)

под заказ0 руб.
117411-93004-000

   (актуальный код замены) Запчасть снята с производства - The Spare Part Is Laid Off

под заказ0 руб.
117411-93001-000

Запчасть снята с производства - The Spare Part Is Laid Off (From 17411-93000, to 17411-93002) (The Spare Part Is Laid Off)

под заказ0 руб.
117411-93004-000

   (актуальный код замены) Запчасть снята с производства - The Spare Part Is Laid Off

под заказ0 руб.
209108-05003-000

Запчасть снята с производства - The Spare Part Is Laid Off (To 09108-05008) (The Spare Part Is Laid Off)

под заказ0 руб.
209108-05008-000

   (актуальный код замены) Запчасть снята с производства - The Spare Part Is Laid Off

под заказ0 руб.
309140-05001-000

Гайка - Nut (Nut)

под заказ220 руб.
309140-05005-000

   (актуальный код замены) Гайка - Nut

10 шт270 руб.
309140-05005-000

Гайка - Nut (Nut)

10 шт270 руб.
409162-05002-000

Шайба с блокировкой - Washer, Lock (Lock washer # Lock washer; ) (Washer, Lock)

под заказ130 руб.
517431-93000-000

Запчасть снята с производства - The Spare Part Is Laid Off (L type, l:183) (The Spare Part Is Laid Off)

под заказ0 руб.
517431-93002-000

   (актуальный код замены) Запчасть снята с производства - The Spare Part Is Laid Off

под заказ0 руб.
517431-93001-000

Запчасть снята с производства - The Spare Part Is Laid Off (L type, l:208, from 17431-93000) (The Spare Part Is Laid Off)

под заказ0 руб.
517431-93002-000

   (актуальный код замены) Запчасть снята с производства - The Spare Part Is Laid Off

под заказ0 руб.
617431-93100-000

Запчасть снята с производства - The Spare Part Is Laid Off (S type, l:56) (The Spare Part Is Laid Off)

под заказ0 руб.
617431-93101-000

   (актуальный код замены) Запчасть снята с производства - The Spare Part Is Laid Off

под заказ0 руб.
617431-93101-000

Запчасть снята с производства - The Spare Part Is Laid Off (S type, l:81, from 17431-93100) (The Spare Part Is Laid Off)

под заказ0 руб.
717431-93760-000

Запчасть снята с производства - The Spare Part Is Laid Off (Ul type, l:292) (The Spare Part Is Laid Off)

под заказ0 руб.
809280-22005-000

Уплотнительное кольцо, выход - O Ring, Outlet (Id:21.8, d:2.4) (O Ring, Outlet)

под заказ310 руб.
813295-09210-000

   (актуальный код замены) Уплотнительное кольцо, выход - O Ring, Outlet

под заказ310 руб.
813295-09210-000

Уплотнительное кольцо, выход - O Ring, Outlet (O ring, water pump seal ) (O Ring, Outlet)

под заказ310 руб.
917461-93001-000

Крыльчатка водяного насоса - Impeller, Water Pump (Impeller, Water Pump)

под заказ0 руб.
917461-93004-000

   (актуальный код замены) Запчасть снята с производства - The Spare Part Is Laid Off

под заказ0 руб.
917461-93004-000

Крыльчатка водяного насоса - Impeller, Water Pump (Impeller, Water Pump)

под заказ0 руб.
917461-93002-000

Крыльчатка водяного насоса - Impeller, Water Pump (From 17461-93001) (Impeller, Water Pump)

под заказ0 руб.
917461-93004-000

   (актуальный код замены) Запчасть снята с производства - The Spare Part Is Laid Off

под заказ0 руб.
917461-93004-000

Крыльчатка водяного насоса - Impeller, Water Pump (Impeller, Water Pump)

под заказ0 руб.
1009420-04004-000

Ключ - Key (Key)

под заказ0 руб.
1117471-93101-000

Панель в нижней части корпуса помпы - Panel, Pump Case Under (Panel, Pump Case Under)

под заказ0 руб.
1117471-93102-000

   (актуальный код замены) Запчасть снята с производства - The Spare Part Is Laid Off

1 шт0 руб.
1117471-93102-000

Панель в нижней части корпуса помпы - Panel, Pump Case Under (Flate, pump case lower ) (Panel, Pump Case Under)

1 шт0 руб.
1117471-93102-000

Панель в нижней части корпуса помпы - Panel, Pump Case Under (Flate, pump case lower # From 17471-93101 ) (Panel, Pump Case Under)

1 шт0 руб.
1217472-93100-000

Прокладка, Помпа Panel - Gasket, Pump Panel (Gasket, pump case plate ) (Gasket, Pump Panel)

под заказ350 руб.
1317561-93100-000

Запчасть снята с производства - The Spare Part Is Laid Off (L type, l:494) (The Spare Part Is Laid Off)

под заказ0 руб.
1417561-93750-000

Запчасть снята с производства - The Spare Part Is Laid Off (S type, l:374.5) (The Spare Part Is Laid Off)

под заказ0 руб.
1517561-93760-000

Запчасть снята с производства - The Spare Part Is Laid Off (Ul type, l:603) (The Spare Part Is Laid Off)

под заказ0 руб.


Время выполнения запроса 0.97087597846985 сек.

 
 

данный сайт носит информационный характер и не является публичной офертой

склад запчастей для водомоторной техники