Комплектующие на подвесной лодочный двигатель Сузуки - Водяной насос
вконтакте

Контактный телефон: +7 (981) 121-46-93, +7 (800) 200-90-76 , Email: parts-katalog@yandex.ru, где купить

 
 

  Логин:

Пароль:

Регистрация

www.partskatalog.ru Все каталоги Запчасти Mercury Запчасти Suzuki Запчасти Tohatsu Запчасти Honda Контакты



УВАЖАЕМЫЕ КЛИЕНТЫ!
C 19 ДЕКАБРЯ 2025 ПО 02 МАРТА 2026 ГОДА ОТДЕЛ ЗАПЧАСТЕЙ И СЕРВИС РАБОТАТЬ НЕ БУДУТ
ПРОДАЖА ЛОДОЧНЫХ МОТОРОВ В ШТАТНОМ РЕЖИМЕ
ОБ ИЗМЕНЕНИЯХ В ГРАФИКЕ РАБОТЫ ЧИТАЙТЕ НА САЙТА



назад Раздел:   вперёд

Вернуться к выбору узлов мотора


ДЕТАЛИРОВКА ДЛЯ МОДЕЛИ: SUZUKI DT28F F

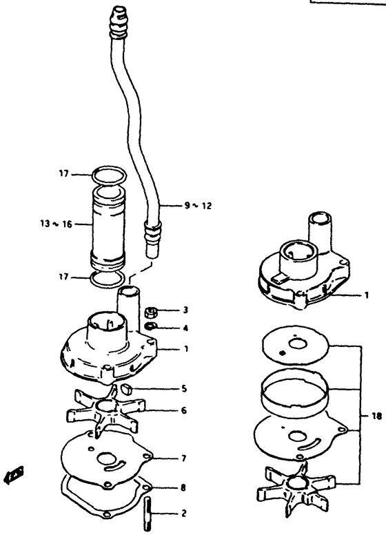
Водяной насос


Год выпуска двигателя: 1985

Регион: Japan

Номер на
рисунке
АртикулНаименованиеQTYКол-во
на складе
Цена
117411-93000-000

Запчасть снята с производства - The Spare Part Is Laid Off (The Spare Part Is Laid Off)

под заказ0 руб.
117411-93004-000

   (актуальный код замены) Запчасть снята с производства - The Spare Part Is Laid Off

под заказ0 руб.
117411-93001-000

Запчасть снята с производства - The Spare Part Is Laid Off (From 17411-93000, to 17411-93002) (The Spare Part Is Laid Off)

под заказ0 руб.
117411-93004-000

   (актуальный код замены) Запчасть снята с производства - The Spare Part Is Laid Off

под заказ0 руб.
117411-93011-000

Запчасть снята с производства - The Spare Part Is Laid Off (Case, water pump (e9); To 17411-93012) (The Spare Part Is Laid Off)

под заказ0 руб.
117411-93004-000

   (актуальный код замены) Запчасть снята с производства - The Spare Part Is Laid Off

под заказ0 руб.
209108-05003-000

Запчасть снята с производства - The Spare Part Is Laid Off (To 09108-05008) (The Spare Part Is Laid Off)

под заказ0 руб.
209108-05008-000

   (актуальный код замены) Запчасть снята с производства - The Spare Part Is Laid Off

под заказ0 руб.
309140-05001-000

Гайка - Nut (Nut)

под заказ220 руб.
309140-05005-000

   (актуальный код замены) Гайка - Nut

10 шт270 руб.
309140-05005-000

Гайка - Nut (Nut)

10 шт270 руб.
409162-05002-000

Шайба с блокировкой - Washer, Lock (Lock washer # Lock washer; ) (Washer, Lock)

под заказ130 руб.
509420-04004-000

Ключ - Key (Key)

под заказ0 руб.
617461-93002-000

Крыльчатка водяного насоса - Impeller, Water Pump (From 17461-93001) (Impeller, Water Pump)

под заказ0 руб.
617461-93004-000

   (актуальный код замены) Запчасть снята с производства - The Spare Part Is Laid Off

под заказ0 руб.
617461-93004-000

Крыльчатка водяного насоса - Impeller, Water Pump (Impeller, Water Pump)

под заказ0 руб.
717471-93002-000

Панель в нижней части корпуса помпы - Panel, Pump Case Under (Panel, pump case lower # Panel, pump case lower; From 17471-93001 ) (Panel, Pump Case Under)

под заказ0 руб.
817472-93000-000

Прокладка, Помпа Panel - Gasket, Pump Panel (Gasket, pump panel # Dt25, dt20 ) (Gasket, Pump Panel)

под заказ0 руб.
817472-93400-000

Прокладка, Помпа Panel - Gasket, Pump Panel (Dt28f, dt25fe3) (Gasket, Pump Panel)

под заказ0 руб.
817472-93460-000

   (актуальный код замены) Запчасть снята с производства - The Spare Part Is Laid Off

под заказ0 руб.
817472-93460-000

Прокладка, Помпа Panel - Gasket, Pump Panel (Gasket, Pump Panel)

под заказ0 руб.
917561-93700-000

Запчасть снята с производства - The Spare Part Is Laid Off (S type, l:239) (The Spare Part Is Laid Off)

под заказ0 руб.
1017561-93000-000

Запчасть снята с производства - The Spare Part Is Laid Off (L type, l:358) (The Spare Part Is Laid Off)

под заказ0 руб.
1117561-93710-000

Запчасть снята с производства - The Spare Part Is Laid Off (Ll type, l:409) (The Spare Part Is Laid Off)

под заказ0 руб.
1217561-93720-000

Запчасть снята с производства - The Spare Part Is Laid Off (Ul type, l:478) (The Spare Part Is Laid Off)

под заказ0 руб.
1317431-93700-000

Запчасть снята с производства - The Spare Part Is Laid Off (S type, l:64) (The Spare Part Is Laid Off)

под заказ0 руб.
1317431-93701-000

   (актуальный код замены) Запчасть снята с производства - The Spare Part Is Laid Off

под заказ0 руб.
1317431-93701-000

Запчасть снята с производства - The Spare Part Is Laid Off (S type, l:89) (The Spare Part Is Laid Off)

под заказ0 руб.
1417431-93000-000

Запчасть снята с производства - The Spare Part Is Laid Off (L type, l:183) (The Spare Part Is Laid Off)

под заказ0 руб.
1417431-93002-000

   (актуальный код замены) Запчасть снята с производства - The Spare Part Is Laid Off

под заказ0 руб.
1417431-93001-000

Запчасть снята с производства - The Spare Part Is Laid Off (L type, l:208) (The Spare Part Is Laid Off)

под заказ0 руб.
1417431-93002-000

   (актуальный код замены) Запчасть снята с производства - The Spare Part Is Laid Off

под заказ0 руб.
1517431-93710-000

Запчасть снята с производства - The Spare Part Is Laid Off (Tube, water pump seal; Ll type, l:234) (The Spare Part Is Laid Off)

под заказ0 руб.
1617431-93720-000

Запчасть снята с производства - The Spare Part Is Laid Off (Ul type, l:303) (The Spare Part Is Laid Off)

под заказ0 руб.
1709280-22005-000

Уплотнительное кольцо, выход - O Ring, Outlet (D:2.4, id:21.8) (O Ring, Outlet)

под заказ310 руб.
1713295-09210-000

   (актуальный код замены) Уплотнительное кольцо, выход - O Ring, Outlet

под заказ310 руб.
1713295-09210-000

Уплотнительное кольцо, выход - O Ring, Outlet (O ring, water pump seal ) (O Ring, Outlet)

под заказ310 руб.
1817400-93841-000

Запчасть снята с производства - The Spare Part Is Laid Off (E9) (The Spare Part Is Laid Off)

под заказ0 руб.
1817400-93000-000

   (актуальный код замены) Запчасть снята с производства - The Spare Part Is Laid Off

под заказ0 руб.


Время выполнения запроса 0.98195910453796 сек.

 
 

данный сайт носит информационный характер и не является публичной офертой

склад запчастей для водомоторной техники