Оригинальные запчасти на подвесной двигатель Suzuki модель 1986 года - Driveshaft housing
вконтакте

Контактный телефон: +7 (981) 121-46-93, +7 (800) 200-90-76 , Email: parts-katalog@yandex.ru, где купить

 
 

  Логин:

Пароль:

Регистрация

www.partskatalog.ru Все каталоги Запчасти Mercury Запчасти Suzuki Запчасти Tohatsu Запчасти Honda Контакты



УВАЖАЕМЫЕ КЛИЕНТЫ!
C 19 ДЕКАБРЯ 2025 ПО 02 МАРТА 2026 ГОДА ОТДЕЛ ЗАПЧАСТЕЙ И СЕРВИС РАБОТАТЬ НЕ БУДУТ
ПРОДАЖА ЛОДОЧНЫХ МОТОРОВ В ШТАТНОМ РЕЖИМЕ
ОБ ИЗМЕНЕНИЯХ В ГРАФИКЕ РАБОТЫ ЧИТАЙТЕ НА САЙТА



назад Раздел:   вперёд

Вернуться к выбору узлов мотора


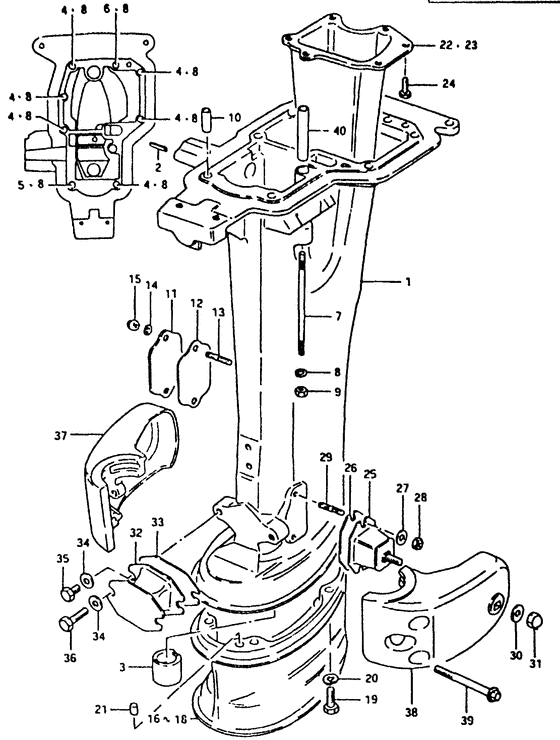
ДЕТАЛИРОВКА ДЛЯ МОДЕЛИ: SUZUKI DT28G(G/J/VZ) G

Корпус вала передачи


Год выпуска двигателя: 1986

Регион: Japan

Номер на
рисунке
АртикулНаименованиеQTYКол-во
на складе
Цена
152110-93404-01J

(Model g)

под заказнет сведений
101550-06657-000

Болт - Bolt (Bolt)

под заказ260 руб.
101550-06657-000

Болт - Bolt (Bolt)

под заказ260 руб.
101550-06657-000

Болт - Bolt (Bolt)

под заказ260 руб.
152110-93405-01J

Запчасть снята с производства - The Spare Part Is Laid Off (Model j/vz) (The Spare Part Is Laid Off)

под заказ0 руб.
152110-93405-02M

   (актуальный код замены) Запчасть снята с производства - The Spare Part Is Laid Off

под заказ0 руб.
209205-05001-000

Стопор пружины (5x18) - Pin, Spring (5x18) (Pin, Spring (5x18))

под заказ180 руб.
209205-05014-000

   (актуальный код замены) Стопор пружины (5x18) - Pin, Spring (5x18)

под заказ180 руб.
209205-05014-000

Стопор пружины (5x18) - Pin, Spring (5x18) (Pin, clutch lever (l:18) ) (Pin, Spring (5x18))

под заказ180 руб.
309305-15002-000

Запчасть снята с производства - The Spare Part Is Laid Off (Bushing (ll, ul type);) (The Spare Part Is Laid Off)

под заказ0 руб.
409100-06046-000

Болт (6x45) - Bolt (6x45) (Bolt (6x45))

под заказ370 руб.
409117-06035-000

   (актуальный код замены) Болт (6x45) - Bolt (6x45)

под заказ370 руб.
409117-06035-000

Болт (6x45) - Bolt (6x45) (Bolt (6x45) ) (Bolt (6x45))

под заказ370 руб.
509100-06072-000

Болт - Bolt (Bolt)

под заказ260 руб.
501550-06657-000

   (актуальный код замены) Болт - Bolt

под заказ260 руб.
501550-06657-000

Болт - Bolt (Bolt)

под заказ260 руб.
609100-06021-000

Запчасть снята с производства - The Spare Part Is Laid Off (Bolt (3) (6x50);) (The Spare Part Is Laid Off)

под заказ0 руб.
709108-06031-000

Запчасть снята с производства - The Spare Part Is Laid Off (Stud bolt, housing;) (The Spare Part Is Laid Off)

под заказ0 руб.
809162-06001-000

Шайба с блокировкой - Washer, Lock (Washer, Lock)

под заказ160 руб.
809162-06006-000

   (актуальный код замены) Шайба с блокировкой - Washer, Lock

под заказ160 руб.
809162-06006-000

Шайба с блокировкой - Washer, Lock (Lock washer ) (Washer, Lock)

под заказ160 руб.
909140-06004-000

Гайка - Nut (Nut)

под заказ150 руб.
909140-06020-000

   (актуальный код замены) Гайка - Nut

9 шт150 руб.
909140-06020-000

Гайка - Nut (Nut)

9 шт150 руб.
1009206-09003-000

Штифт (6.4x9x20) - Pin (64x9x20) (Dowel pin ) (Pin (6.4x9x20))

под заказ440 руб.
1152115-93000-01J

Запчасть снята с производства - The Spare Part Is Laid Off (The Spare Part Is Laid Off)

под заказ0 руб.
1152115-93000-02M

   (актуальный код замены) Запчасть снята с производства - The Spare Part Is Laid Off

под заказ0 руб.
1252116-93001-000

Запчасть снята с производства - The Spare Part Is Laid Off (From 52116-93000) (The Spare Part Is Laid Off)

под заказ0 руб.
1252116-93060-000

   (актуальный код замены) Запчасть снята с производства - The Spare Part Is Laid Off

под заказ0 руб.
1309108-06022-000

Болт под шпильку - Bolt, Stud (Bolt, Stud)

под заказ180 руб.
1309108-06062-000

   (актуальный код замены) Болт под шпильку - Bolt, Stud

под заказ180 руб.
1309108-06062-000

Болт под шпильку - Bolt, Stud (Stud bolt (6x12) ) (Bolt, Stud)

под заказ180 руб.
1409162-06001-000

Шайба с блокировкой - Washer, Lock (Washer, Lock)

под заказ160 руб.
1409162-06006-000

   (актуальный код замены) Шайба с блокировкой - Washer, Lock

под заказ160 руб.
1409162-06006-000

Шайба с блокировкой - Washer, Lock (Lock washer ) (Washer, Lock)

под заказ160 руб.
1509145-06001-000

Запчасть снята с производства - The Spare Part Is Laid Off (The Spare Part Is Laid Off)

под заказ0 руб.
1652131-93001-01J

Запчасть снята с производства - The Spare Part Is Laid Off (L type, l:119) (The Spare Part Is Laid Off)

под заказ0 руб.
1752131-93710-01J

Запчасть снята с производства - The Spare Part Is Laid Off (Ll type, l:170) (The Spare Part Is Laid Off)

под заказ0 руб.
1852131-93720-01J

Запчасть снята с производства - The Spare Part Is Laid Off (Ul type, l:239) (The Spare Part Is Laid Off)

под заказ0 руб.
1909100-08112-000

Болт (8x30) - Bolt (8x30) (L, ll & ul type) (Bolt (8x30))

под заказ350 руб.
1909100-08232-000

   (актуальный код замены) Болт (8x30) - Bolt (8x30)

6 шт350 руб.
1909100-08232-000

Болт (8x30) - Bolt (8x30) (Bolt (8x30))

6 шт350 руб.
2009162-08003-000

Шайба с блокировкой - Washer, Lock (L, ll & ul type) (Washer, Lock)

под заказ160 руб.
2009162-08007-000

   (актуальный код замены) Шайба с блокировкой - Washer, Lock

под заказ160 руб.
2009162-08007-000

Шайба с блокировкой - Washer, Lock (Lock washer ) (Washer, Lock)

под заказ160 руб.
2109202-09002-000

Запчасть снята с производства - The Spare Part Is Laid Off (L, ll & ul type) (The Spare Part Is Laid Off)

под заказ0 руб.
2252141-93400-000

Запчасть снята с производства - The Spare Part Is Laid Off (L, ll & ul type) (The Spare Part Is Laid Off)

под заказ0 руб.
2352141-93410-000

Запчасть снята с производства - The Spare Part Is Laid Off (S type) (The Spare Part Is Laid Off)

под заказ0 руб.
2409100-05004-000

Болт - Bolt (Bolt)

под заказ150 руб.
2401500-05127-000

   (актуальный код замены) Болт - Bolt

под заказ150 руб.
2401500-05127-000

Болт - Bolt (Bolt)

под заказ150 руб.
2554130-93402-000

Креплениеing, вышеr - Mounting, Upr (Mounting, upper ) (Mounting, Upr)

под заказ5480 руб.
2654138-93400-000

Запчасть снята с производства - The Spare Part Is Laid Off (The Spare Part Is Laid Off)

под заказ0 руб.
2709160-06015-000

Шайба (6.5x13x1.0) - Washer (65x13x10) (Washer (6.5x13x1.0))

под заказ120 руб.
2709160-06082-000

   (актуальный код замены) Шайба (6.5x13x1.0) - Washer (6.5x13x1.0)

7 шт150 руб.
2709160-06082-000

Шайба (6.5x13x1.0) - Washer (65x13x10) (Washer (6.5x13x1.0))

7 шт150 руб.
2809140-06004-000

Гайка - Nut (Nut)

под заказ150 руб.
2809140-06020-000

   (актуальный код замены) Гайка - Nut

9 шт150 руб.
2809140-06020-000

Гайка - Nut (Nut)

9 шт150 руб.
2909108-06022-000

Болт под шпильку - Bolt, Stud (Bolt, Stud)

под заказ180 руб.
2909108-06062-000

   (актуальный код замены) Болт под шпильку - Bolt, Stud

под заказ180 руб.
2909108-06062-000

Болт под шпильку - Bolt, Stud (Stud bolt (6x12) ) (Bolt, Stud)

под заказ180 руб.
3009160-08015-000

Шайба (8.5x16x1.2) - Washer (85x16x12) (Washer (8.5x16x1.2))

под заказ120 руб.
3009160-08082-000

   (актуальный код замены) Шайба (8.5x16x1.2) - Washer (8.5x16x1.2)

13 шт120 руб.
3009160-08082-000

Шайба (8.5x16x1.2) - Washer (85x16x12) (Washer (8.5x16x1.2))

13 шт120 руб.
3109145-08002-000

Запчасть снята с производства - The Spare Part Is Laid Off (The Spare Part Is Laid Off)

под заказ0 руб.
3254150-93400-000

Запчасть снята с производства - The Spare Part Is Laid Off (The Spare Part Is Laid Off)

под заказ0 руб.
3354139-93400-000

Запчасть снята с производства - The Spare Part Is Laid Off (Seat, thrust mount;) (The Spare Part Is Laid Off)

под заказ0 руб.
3409160-08015-000

Шайба (8.5x16x1.2) - Washer (85x16x12) (Washer (8.5x16x1.2))

под заказ120 руб.
3409160-08082-000

   (актуальный код замены) Шайба (8.5x16x1.2) - Washer (8.5x16x1.2)

13 шт120 руб.
3409160-08082-000

Шайба (8.5x16x1.2) - Washer (85x16x12) (Washer (8.5x16x1.2))

13 шт120 руб.
3509100-08152-000

Запчасть снята с производства - The Spare Part Is Laid Off (The Spare Part Is Laid Off)

под заказ0 руб.
3609100-08137-000

Болт (8x16) - Bolt (8x16) (Bolt (8x16))

под заказ0 руб.
3609100-08215-000

   (актуальный код замены) Запчасть снята с производства - The Spare Part Is Laid Off

под заказ0 руб.
3609100-08215-000

Болт (8x16) - Bolt (8x16) (Bolt (8x16))

под заказ0 руб.
3754211-93003-01J

Запчасть снята с производства - The Spare Part Is Laid Off (The Spare Part Is Laid Off)

под заказ0 руб.
3754211-93004-01J

   (актуальный код замены) Запчасть снята с производства - The Spare Part Is Laid Off

под заказ0 руб.
3854221-93003-01J

Запчасть снята с производства - The Spare Part Is Laid Off (The Spare Part Is Laid Off)

под заказ0 руб.
3854221-93004-02M

   (актуальный код замены) Запчасть снята с производства - The Spare Part Is Laid Off

под заказ0 руб.
3909103-08006-000

Запчасть снята с производства - The Spare Part Is Laid Off (Bolt, cover (8x60);) (The Spare Part Is Laid Off)

под заказ0 руб.
4009206-09004-000

Запчасть снята с производства - The Spare Part Is Laid Off (The Spare Part Is Laid Off)

под заказ0 руб.


Время выполнения запроса 4.8792090415955 сек.

 
 

данный сайт носит информационный характер и не является публичной офертой

склад запчастей для водомоторной техники