Подобрать запчасти на подвесной лодочный мотор Suzuki DT30(R)S/L/LL/UL модель 1984 года - Опции : Запчасти для дистанционного управления / Optional : remote control parts
вконтакте

Контактный телефон: +7 (981) 121-46-93, +7 (800) 200-90-76 , Email: parts-katalog@yandex.ru, где купить

 
 

  Логин:

Пароль:

Регистрация

www.partskatalog.ru Все каталоги Запчасти Mercury Запчасти Suzuki Запчасти Tohatsu Запчасти Honda Контакты



УВАЖАЕМЫЕ КЛИЕНТЫ!
C 19 ДЕКАБРЯ 2025 ПО 02 МАРТА 2026 ГОДА ОТДЕЛ ЗАПЧАСТЕЙ И СЕРВИС РАБОТАТЬ НЕ БУДУТ
ПРОДАЖА ЛОДОЧНЫХ МОТОРОВ В ШТАТНОМ РЕЖИМЕ
ОБ ИЗМЕНЕНИЯХ В ГРАФИКЕ РАБОТЫ ЧИТАЙТЕ НА САЙТА



назад Раздел:   вперёд

Вернуться к выбору узлов мотора


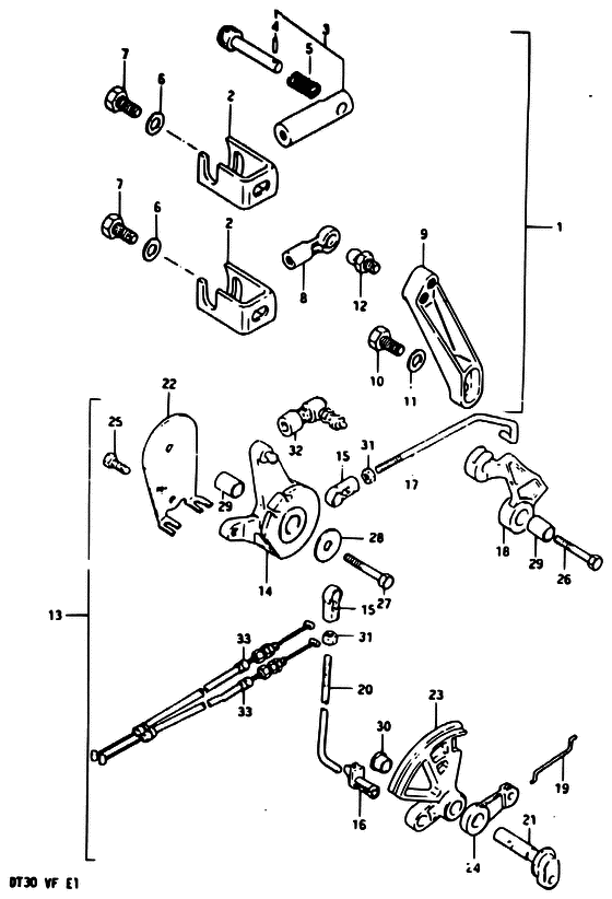
ДЕТАЛИРОВКА ДЛЯ МОДЕЛИ: SUZUKI DT30 VE/DT30R VE

Опции : Запчасти для дистанционного управления


Код модели двигателя: DT30(R)S/L/LL/UL

Год выпуска двигателя: 1984

Номер на
рисунке
АртикулНаименованиеQTYКол-во
на складе
Цена
167130-94302-02M

Комплект для установки дистанционного управления - Parts Set, Remocon (Parts Set, Remocon)

под заказ10280 руб.
167130-94820-0ED

   (актуальный код замены) Комплект для установки дистанционного управления - Parts Set, Remocon

под заказ10280 руб.
167130-94820-0ED

Комплект для установки дистанционного управления - Parts Set, Remocon (Remote control parts assy ) (Parts Set, Remocon)

под заказ10280 руб.
267341-94301-000

Держатель кабеля дистанционного управления - Holder, Remocon Cable (Holder, Remocon Cable)

под заказ1660 руб.
267341-94302-000

   (актуальный код замены) Держатель кабеля дистанционного управления - Holder, Remocon Cable

6 шт1660 руб.
267341-94302-000

Держатель кабеля дистанционного управления - Holder, Remocon Cable (Holder, remo-con cable ) (Holder, Remocon Cable)

6 шт1660 руб.
367440-93701-000

Направляющая тросика сцепления - Guide, Clutch Cable (Guide, clutch cable ) (Guide, Clutch Cable)

7 шт2740 руб.
409205-02006-000

Стопор пружины (2x12) - Pin, Spring (2x12) (Pin, spring ) (Pin, Spring (2x12))

10 шт140 руб.
509440-09012-000

Пружина - Spring (Spring)

под заказ150 руб.
509440-09042-000

   (актуальный код замены) Пружина - Spring

10 шт190 руб.
509440-09042-000

Пружина - Spring (Spring, steering adjuster ) (Spring)

10 шт190 руб.
609160-06015-000

Шайба (6.5x13x1.0) - Washer (65x13x10) (Washer (6.5x13x1.0))

под заказ120 руб.
609160-06082-000

   (актуальный код замены) Шайба (6.5x13x1.0) - Washer (6.5x13x1.0)

7 шт150 руб.
609160-06082-000

Шайба (6.5x13x1.0) - Washer (65x13x10) (Washer (6.5x13x1.0))

7 шт150 руб.
709100-06115-000

Болт (6x15) - Bolt (6x15) (Bolt (6x15))

под заказ310 руб.
709117-06040-XC0

   (актуальный код замены) Болт (6x15) - Bolt (6x15)

30 шт310 руб.
709117-06040-XC0

Болт (6x15) - Bolt (6x15) (Bolt (6x15))

30 шт310 руб.
867466-95200-000

Коннектор - Connector (Connector, throttle cable ) (Connector)

18 шт560 руб.
967414-94300-02M

Рычаг дистанционного управления дросселем - Lever, Remocon Throttle (~411014) (Lever, Remocon Throttle)

под заказ5140 руб.
967414-91L00-0ED

   (актуальный код замены) Рычаг дистанционного управления дросселем - Lever, Remocon Throttle

под заказ5140 руб.
967414-91L00-0ED

Рычаг дистанционного управления дросселем - Lever, Remocon Throttle (Lever, Remocon Throttle)

под заказ5140 руб.
967414-91L00-0ED

Рычаг дистанционного управления дросселем - Lever, Remocon Throttle (Lever, Remocon Throttle)

под заказ5140 руб.
967414-94301-02M

Рычаг дистанционного управления дросселем - Lever, Remocon Throttle (411015~) (Lever, Remocon Throttle)

под заказ5140 руб.
967414-91L00-0ED

   (актуальный код замены) Рычаг дистанционного управления дросселем - Lever, Remocon Throttle

под заказ5140 руб.
967414-91L00-0ED

Рычаг дистанционного управления дросселем - Lever, Remocon Throttle (Lever, Remocon Throttle)

под заказ5140 руб.
967414-91L00-0ED

Рычаг дистанционного управления дросселем - Lever, Remocon Throttle (Lever, Remocon Throttle)

под заказ5140 руб.
1009100-06115-000

Болт (6x15) - Bolt (6x15) (Bolt (6x15))

под заказ310 руб.
1009117-06040-XC0

   (актуальный код замены) Болт (6x15) - Bolt (6x15)

30 шт310 руб.
1009117-06040-XC0

Болт (6x15) - Bolt (6x15) (Bolt (6x15))

30 шт310 руб.
1109160-06015-000

Шайба (6.5x13x1.0) - Washer (65x13x10) (Washer (6.5x13x1.0))

под заказ120 руб.
1109160-06082-000

   (актуальный код замены) Шайба (6.5x13x1.0) - Washer (6.5x13x1.0)

7 шт150 руб.
1109160-06082-000

Шайба (6.5x13x1.0) - Washer (65x13x10) (Washer (6.5x13x1.0))

7 шт150 руб.
1209119-06047-000

Стержень - Pivot (Pivot, ball ) (Pivot)

21 шт520 руб.


Время выполнения запроса 1.1412889957428 сек.

 
 

данный сайт носит информационный характер и не является публичной офертой

склад запчастей для водомоторной техники