Купить оригинальные запчасти на лодочный мотор Suzuki DT30(R)S/L/LL/UL - Recoil starter
вконтакте

Контактный телефон: +7 (981) 121-46-93, +7 (800) 200-90-76 , Email: parts-katalog@yandex.ru, где купить

 
 

  Логин:

Пароль:

Регистрация

www.partskatalog.ru Все каталоги Запчасти Mercury Запчасти Suzuki Запчасти Tohatsu Запчасти Honda Контакты



УВАЖАЕМЫЕ КЛИЕНТЫ!
C 19 ДЕКАБРЯ 2025 ПО 02 МАРТА 2026 ГОДА ОТДЕЛ ЗАПЧАСТЕЙ И СЕРВИС РАБОТАТЬ НЕ БУДУТ
ПРОДАЖА ЛОДОЧНЫХ МОТОРОВ В ШТАТНОМ РЕЖИМЕ
ОБ ИЗМЕНЕНИЯХ В ГРАФИКЕ РАБОТЫ ЧИТАЙТЕ НА САЙТА



назад Раздел:   вперёд

Вернуться к выбору узлов мотора


ДЕТАЛИРОВКА ДЛЯ МОДЕЛИ: SUZUKI DT30K K

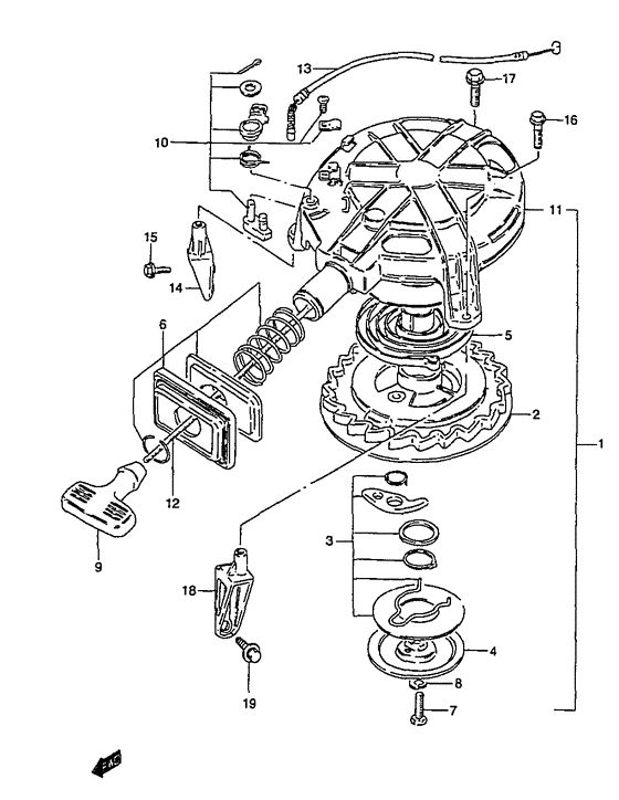
Барабанный стартер


Код модели двигателя: DT30(R)S/L/LL/UL

Год выпуска двигателя: 1989

Регион: General Export No.1 ,Код региона: P01

Номер на
рисунке
АртикулНаименованиеQTYКол-во
на складе
Цена
118100-96307-000

Запчасть снята с производства - The Spare Part Is Laid Off (The Spare Part Is Laid Off)

под заказ0 руб.
118100-96317-000

Запчасть снята с производства - The Spare Part Is Laid Off (E13, e40) (The Spare Part Is Laid Off)

под заказ0 руб.
218120-96301-000

Запчасть снята с производства - The Spare Part Is Laid Off (Reel;) (The Spare Part Is Laid Off)

под заказ0 руб.
318130-96300-000

Храповик, установочный комплект - Ratchet Set (Ratchet Set)

под заказ0 руб.
418151-96301-000

Пластина - Plate (Plate)

под заказ0 руб.
518142-96300-000

Пружина - Spring (Spring)

под заказ4180 руб.
618190-95200-000

Направляющая Set - Guide Set (Guide Set)

под заказ0 руб.
718332-96300-000

Болт (6x18) - Bolt (6x18) (Bolt (6x18))

под заказ120 руб.
709100-06064-000

   (актуальный код замены) Болт (6x18) - Bolt (6x18)

под заказ120 руб.
709100-06064-000

Болт (6x18) - Bolt (6x18) (Bolt (6x18))

под заказ120 руб.
709100-06064-000

Болт (6x18) - Bolt (6x18) (Bolt (6x18); Model:95 ) (Bolt (6x18))

под заказ120 руб.
809162-06006-000

Шайба с блокировкой - Washer, Lock (Lock washer ) (Washer, Lock)

под заказ160 руб.
808321-01067-000

Шайба с блокировкой - Washer, Lock (Model:95 ) (Washer, Lock)

под заказ140 руб.
918210-93002-000

Рукоятка в сборе - Grip Assy (Grip assy; ) (Grip Assy)

1 шт1150 руб.
1018280-94400-000

Nsi Set - Nsi Set (For 18100-96307 ) (Nsi Set)

под заказ2210 руб.
1118111-96301-000

Запчасть снята с производства - The Spare Part Is Laid Off (The Spare Part Is Laid Off)

под заказ0 руб.
1118111-96302-000

   (актуальный код замены) Запчасть снята с производства - The Spare Part Is Laid Off

под заказ0 руб.
1118111-96302-000

Запчасть снята с производства - The Spare Part Is Laid Off (Model:89-95) (The Spare Part Is Laid Off)

под заказ0 руб.
1299000-81159-50M

Шнур стартера 6 ммdia, 50m Role - Starter Rope 6mmdia, 50m Role (L:50000->1950 ) (Starter Rope 6mmdia, 50m Role)

под заказ29280 руб.
1299000-81159-01M

   (актуальный код замены) Шнур стартера 6 Mm (1 Metr) Na Otrez - Starter Rope 6 Mm (1 Metr) Na Otrez

49 шт590 руб.
1318290-96302-000

Кабели Nsi - Cable Nsi (Cable, nsi # For 18100-96307 ) (Cable Nsi)

2 шт0 руб.
1418711-96303-0ED

Brace, Recoil Stbd (gray) - Brace, Recoil Stbd (gray) (Brace, recoil starter, stbd; ) (Brace, Recoil Stbd (gray))

под заказ0 руб.
1501550-06207-000

Болт - Bolt (Bolt)

17 шт220 руб.
1601550-06257-000

Болт - Bolt (Bolt (6x25); ) (Bolt)

под заказ180 руб.
1709103-08313-000

Болт - Bolt (Bolt (8x25);) (Bolt)

под заказ370 руб.
1729103-93J30-000

   (актуальный код замены) Болт - Bolt

под заказ370 руб.
1729103-93J30-000

Болт - Bolt (Bolt, anode cover (8x25) ) (Bolt)

под заказ370 руб.
1701550-08257-000

Болт - Bolt (Model:95 ) (Bolt)

под заказ300 руб.
1818721-96303-0ED

Brace, Recoil Port (gray) - Brace, Recoil Port (gray) (Brace, Recoil Port (gray))

под заказ0 руб.
1901580-08257-000

Болт - Bolt (Bolt)

9 шт240 руб.


Время выполнения запроса 0.75586915016174 сек.

 
 

данный сайт носит информационный характер и не является публичной офертой

склад запчастей для водомоторной техники