Купить комплектующие на лодочный подвесной мотор SUZUKI DT30C(R)S/L/UL - Recoil starter / Барабанный стартер
вконтакте

Контактный телефон: +7 (981) 121-46-93, +7 (800) 200-90-76 , Email: parts-katalog@yandex.ru, где купить

 
 

  Логин:

Пароль:

Регистрация

www.partskatalog.ru Все каталоги Запчасти Mercury Запчасти Suzuki Запчасти Tohatsu Запчасти Honda Контакты

назад Раздел:   вперёд

Вернуться к выбору узлов мотора


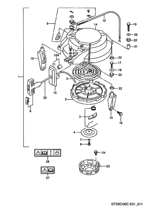
ДЕТАЛИРОВКА ДЛЯ МОДЕЛИ: SUZUKI DT30C K

Барабанный стартер


Код модели двигателя: DT30C(R)S/L/UL

Год выпуска двигателя: 1989

Номер на
рисунке
АртикулНаименованиеQTYКол-во
на складе
Цена
118100-95D02-000

(->8100-95D11 USED WITH 61622-95500)

под заказнет сведений
118100-95D11-000

Запчасть снята с производства - The Spare Part Is Laid Off (The Spare Part Is Laid Off)

под заказ0 руб.
161622-95500-000

Сальник барабанного стартера - Seal, Recoil Starter (Rubber, recoil starter seal ) (Seal, Recoil Starter)

1 шт870 руб.
118100-95D11-000

Запчасть снята с производства - The Spare Part Is Laid Off (MODEL:91~00 <-8100-95D10) (The Spare Part Is Laid Off)

под заказ0 руб.
218121-95D00-000

Запчасть снята с производства - The Spare Part Is Laid Off (The Spare Part Is Laid Off)

под заказ0 руб.
318130-93900-000

Храповик, установочный комплект - Ratchet Set (Ratchet Set)

под заказ1990 руб.
418151-93900-000

Пластина трения - Plate, Friction (Plate, Friction)

под заказ1070 руб.
518142-93900-000

Барабанная пружина - Spring, Recoil (Spring, Recoil)

под заказ3720 руб.
601500-06167-000

Болт - Bolt (Bolt, fuel cooler ) (Bolt)

под заказ150 руб.
708321-01067-000

Шайба с блокировкой - Washer, Lock (Washer, Lock)

под заказ140 руб.
818210-93002-000

Рукоятка в сборе - Grip Assy (Grip Assy)

1 шт1150 руб.
918280-95D00-000

Nsi Set - Nsi Set (Nsi Set)

под заказ1640 руб.
1018191-94400-000

Запчасть снята с производства - The Spare Part Is Laid Off (FOR 18100-95D02) (The Spare Part Is Laid Off)

под заказ0 руб.
1018190-95D00-000

Направляющая Set - Guide Set (FOR 18100-95D11 ) (Guide Set)

под заказ0 руб.
1118191-94410-000

Направляющая пластина - Plate, Guide (FOR 18100-95D10 ) (Plate, Guide)

под заказ4950 руб.
1218290-95D01-000

Кабели, Nsi - Cable, Nsi (<-8290-95D00 ) (Cable, Nsi)

под заказ0 руб.
1301570-06167-000

Болт - Bolt (Bolt)

под заказ190 руб.
1418111-95D01-000

Запчасть снята с производства - The Spare Part Is Laid Off (The Spare Part Is Laid Off)

под заказ0 руб.
1518711-95D00-0ED

Brace, Барабанный стартер - Brace, Recoil Starter (<-8711-95D00-02M ) (Brace, Recoil Starter)

под заказ0 руб.
1602162-06207-000

Винт - Screw (Bolt ) (Screw)

под заказ150 руб.
1701550-06167-000

Болт - Bolt (Bolt)

9 шт210 руб.
1809160-06066-000

Шайба (6.5x20x1.6) - Washer (65x20x16) (Washer, throttle lever (6.5x20x1.6) ) (Washer (6.5x20x1.6))

под заказ150 руб.
1901550-08357-000

Болт - Bolt (Bolt)

под заказ260 руб.
2009160-08124-000

Шайба (8.5x20x1.6) - Washer (85x20x16) (Washer (8.5x20x1.6))

под заказ150 руб.
2109180-08203-000

Запчасть снята с производства - The Spare Part Is Laid Off (<-9180-08085) (The Spare Part Is Laid Off)

под заказ0 руб.
2209320-14011-000

Подушка - Cushion (Cushion)

под заказ0 руб.
2209320-14028-000

   (актуальный код замены) Запчасть снята с производства - The Spare Part Is Laid Off

под заказ0 руб.
2318411-95D00-000

Чаша стартера - Cup, Starter (Cup, Starter)

под заказ0 руб.
2401550-08127-000

Болт - Bolt (Bolt, clamp ) (Bolt)

под заказ210 руб.
2599000-81158-50M

Шнур стартера 5 ммdia, 50m Role - Starter Rope 5mmdia, 50m Role (OPT L:50000->500 ) (Starter Rope 5mmdia, 50m Role)

1 шт23090 руб.
2669711-93E00-000

Наклейки, S.i.g.p. - Label, Sigp (DT25C, 30C) (Label, S.i.g.p.)

под заказ500 руб.
2669711-93E11-000

   (актуальный код замены) Наклейки (s.i.g.p.) - Label (s.i.g.p.)

под заказ500 руб.
2669711-93E10-000

Наклейки, S.i.g.p. - Label, Sigp (Label, caution ) (Label, S.i.g.p.)

под заказ500 руб.
2669711-93E11-000

   (актуальный код замены) Наклейки (s.i.g.p.) - Label (s.i.g.p.)

под заказ500 руб.
2769712-93E00-000

Наклейки, S.i.g.p. - Label, Sigp (DT25RC, 30RC) (Label, S.i.g.p.)

под заказ340 руб.
2769712-93E10-000

   (актуальный код замены) Наклейки, S.i.g.p. - Label, S.i.g.p.

1 шт340 руб.
2769712-93E10-000

Наклейки, S.i.g.p. - Label, Sigp (Label, caution ) (Label, S.i.g.p.)

1 шт340 руб.


Время выполнения запроса 3.4569621086121 сек.

 
 

данный сайт носит информационный характер и не является публичной офертой

склад запчастей для водомоторной техники