| |
 |
|
 |
Вернуться к выбору узлов мотора
ДЕТАЛИРОВКА ДЛЯ МОДЕЛИ: SUZUKI DT30L L
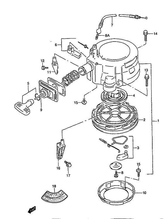
Барабанный стартер
Код модели двигателя: DT30(R)S/L/LL/UL
Год выпуска двигателя: 1990
Регион: General Export No.1 ,Код региона: P01
Цвет: California Gray Metallic
Номер на рисунке | Артикул | Наименование | QTY | Кол-во на складе | Цена |
| 1 | 18100-96321-000 | Барабанный стартер в сборе - Starter Assy, Recoil (Starter Assy, Recoil) | | под заказ | 60480 руб. |
| 1 | 18100-91L00-000 | (актуальный код замены) Барабанный стартер в сборе - Starter Assy, Recoil | | 1 шт | 60480 руб. |
| 1 | 18100-91L00-000 | Барабанный стартер в сборе - Starter Assy, Recoil (Starter Assy, Recoil) | | 1 шт | 60480 руб. |
| 2 | 18120-96320-000 | Барабан в сборе - Reel Assy (Reel Assy) | | 2 шт | 6520 руб. |
| 3 | 18130-96321-000 | Храповик, установочный комплект - Ratchet Set (Ratchet Set) | | 6 шт | 3110 руб. |
| 4 | 18142-96300-000 | Пружина - Spring (Spring) | | под заказ | 4180 руб. |
| 5 | 18210-93002-000 | Рукоятка в сборе - Grip Assy (Grip assy; ) (Grip Assy) | | 1 шт | 1150 руб. |
| 6 | 18280-96320-000 | Nsi Set - Nsi Set (Nsi Set) | | 2 шт | 720 руб. |
| 7 | 01570-06167-000 | Болт - Bolt (Bolt) | | под заказ | 190 руб. |
| 8 | 18290-96310-000 | Провод - Wire (Wire) | | под заказ | 3990 руб. |
| 8 | 18290-91L00-000 | (актуальный код замены) Провод - Wire | | 2 шт | 3990 руб. |
| 8 | 18290-91L00-000 | Провод - Wire (Wire) | | 2 шт | 3990 руб. |
| 8 | 18290-91L00-000 | Провод - Wire (Wire) | | 2 шт | 3990 руб. |
| 8 | 18293-96310-000 | Пружина, Nsi Кабели - Spring, Nsi Cable (Spring, Nsi Cable) | | 1 шт | 490 руб. |
| 9 | 99000-81159-50M | Шнур стартера 6 ммdia, 50m Role - Starter Rope 6mmdia, 50m Role (Opt, l:50000->1750 ) (Starter Rope 6mmdia, 50m Role) | | под заказ | 29280 руб. |
| 9 | 99000-81159-01M | (актуальный код замены) Шнур стартера 6 Mm (1 Metr) Na Otrez - Starter Rope 6 Mm (1 Metr) Na Otrez | | 49 шт | 590 руб. |
| 10 | 18411-96300-000 | Чаша стартера - Cup, Starter (Cup, Starter) | | под заказ | 3510 руб. |
| 10 | 18411-96301-000 | (актуальный код замены) Чаша стартера - Cup, Starter | | 1 шт | 3510 руб. |
| 10 | 18411-96301-000 | Чаша стартера - Cup, Starter (Cup, Starter) | | 1 шт | 3510 руб. |
| 11 | 18711-96303-0ED | Brace, Recoil Stbd (gray) - Brace, Recoil Stbd (gray) (Brace, Recoil Stbd (gray)) | | под заказ | 0 руб. |
| 12 | 02162-06207-000 | Винт - Screw (Bolt # Blace stbd ) (Screw) | | под заказ | 150 руб. |
| 13 | 02162-06257-000 | Винт - Screw (Bolt ) (Screw) | | 7 шт | 150 руб. |
| 14 | 01550-08257-000 | Болт - Bolt (Bolt) | | под заказ | 300 руб. |
| 15 | 02112-06087-000 | Винт - Screw (Screw) | | под заказ | 120 руб. |
| 16 | 18721-96303-0ED | Brace, Recoil Port (gray) - Brace, Recoil Port (gray) (Manual starter ) (Brace, Recoil Port (gray)) | | под заказ | 0 руб. |
| 17 | 01580-08257-000 | Болт - Bolt (Manual starter ) (Bolt) | | 9 шт | 240 руб. |
| 18 | 61582-98110-000 | Маркировка, Warning - Mark, Warning (Mark, Warning) | | под заказ | 0 руб. |
Время выполнения запроса 0.80539393424988 сек. |
|